11_Технология интегральных радиоустройств (1002199)
Текст из файла
1_Технология интегральных устройств радиоэлектроники
1.1 Изготовление подложек.
В качестве оснований ИС используются
- керамика,
- монокристаллический материал: плавленый кварц, сапфир,
- полупроводники ( для монолитных ИС),
- пленки из полиимида, фторопласта (для гибких устройств).
Исходным материалом монокристаллического полупроводникового основания является поликристаллический кремний – сырец, очищенный химическим путём; его получают восстановлением кварцевого песка SiO2 углем с последующим переводом в тетрахлорид кремния SiCl4 и восстановлением цинком: SiCl4+2Zn -> Si+2ZnCl2. Достигаемая степень чистоты (98%) недостаточна для управления проводимостью, поэтому используется физическая очистка кремния зонной плавкой.
Кристаллы выделяют примеси в расплав в процессе их роста бестигельной зонной плавки в атмосфере аргона.
Рис. Бестигельная зонная плавка.
Поликристаллический слиток укрепляют вертикально в кварцевом цилиндре. Часть его нагревают высокочастотным индуктором до температуры плавления. При вращении натяжение удерживает расплав от растекания. Непрерывное медленное придвижение зоны нагревания перемещает расплавленную зону вдоль слитка. Примеси при этом выделяются в зону расплава. При многократном применении процесса или использовании нескольких следующих одна за другой зон плавки получают кремний нужной чистоты. Зону примесей затем отрезают пред дальнейшей обработкой.
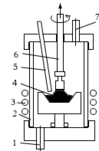
Для создания больших кристаллов с диаметром подложки более 50 мм применяют способ Чохральского - выращивание из тигля.
Рис. Выращивания монокристаллов по методу Чохральского:
1- подача аргона; 2- кварцевая трубка; 3 – высокочастотный индуктор; 4 – графитовый стержень; 5 – трубка для введения примесей; 6 – патрон; 7 – выход аргона.
Поликристаллический кремний, очищенный зонной плавкой, расплавляется в графитовом тигле высокочастотным индуктором. Опущенная в расплав затравка (без её оплавления) поднимается вверх при непрерывном вращении. Материал расплава, осаждаясь, кристаллизуется, повторяя строение затравки. Легирующую добавку вводят в расплав.
Слиток разрезают внутренней кромкой алмазного круга на бронзовой основе. Кристалл перед разрезкой точно выверяют: плоскость среза должна быть параллельна кристаллической решётке. Толщина отрезанной пластины-100 - 300 мкм (около половины слитка теряют при отрезке). После разрезки образуются неровности, поэтому поверхности полируют. Следы полирования и поврежденный поверхностный слой удаляют химическим полированием (травление).
1. 1.2. Методы получения пленок.
Пленки требуемого стехиометрического состава могут получаться
- из готовых порошковых или твердых материалов (физическое нанесение),
- в результате химических превращений с выделение твердой фазы на основании.
Для перенесения готового материала на основание необходима энергия, стимулирующая частицы выполнить работу выхода и направить частицы в сторону основания. Для уменьшения числа столкновений частиц требуется вакуум.
Параметры физических методов нанесения.
Табл.
| Активирующая энергия | Приемы формирования потока | Особенности | |
| 1 | Тепловая | Экраны | Большой расход исходного вещества |
| 2 | Электрическое поле | Вдоль силовых линий электрического поля Гальваническое наращивание Спинингование | Только для проводящих мишеней |
| 3 | Бомбардировка нейтральными частицами, ионами или электронами | Управление с помощью электрического или магнитного полей | Сложность регулирования энергии частиц |
| 4 | Инжектирование с зонда сканирующего туннельного микроскопа (СТМ) | Малые размеры обрабатываемой поверхности |
Для нагревания используются электрический ток, лазерное излучение, косвенный нагрев. Температура нагрева должна быть достаточно большой для активирования частиц (преодоления силы сцепления молекул), но меньше температуры распада молекулы. Таким образом, формируются температурные требования.
Энергетические требования касаются кинетической энергии частиц на поверхности основания. Небольшая энергия не позволит частице достичь основания. Увеличение энергии дает возможность не только попасть на поверхность основания, но и двигаться вдоль нее в поисках зародыша или стать им. Это полезный для напыления энергетический интервал. Энергию частицы можно корректировать нагреванием основания. Большее увеличение энергии чревато переотражением частицы от поверхности или проникновением в подповерхностную зону, что полезно для другой операции – диффузии. Еще большая энергия частицы может спровоцировать удаление материала основания, что используется в операции травления.
Рис. Схема воздействия частиц в зависимости от достигнутой кинетической энергии.
(1) Термовакуумное испарение предусматривает перевод осаждаемого материала нагревом в парогазовую фазу с последующей конденсацией и образованием плёнки на поверхности основания. Адгезионную прочность и структурную стабильность обеспечивают чистота и подогрев подложки до 300-600 С. Требуется адгезионный подслой. Давление остаточных газов в камере составляет 10-8 –10-4 Па.
Рис. Принцип термовакууумного испарения: 1- базовая плита; 2 – проходной изолятор; 3 – токопровод; 4 герметизация колпака; 5- колпак; 6- подвижный экран; 7- подложка; 8 – держатель подложки; 9 – подогреватель; 10- соударение с молекулой остаточного газа; 11- испаряемое вещество; 12 – испаритель (тигель, лодочка); 13 – присоединение к вакуумному насосу.
(3) Катодное распыление предусматривает создание тлеющего разряда в среде нейтрального газа между катодом (3) и анодом (4). Давление в камере - 10-1 - 10-3 мм рт. ст.. Напряжение между электродами - более 103 В. Положительные ионы остаточного газа аргона ускоряются в темновом пространстве и бомбардируют катод, выбивая атомы материала самого катода или расположенного вблизи него. Эти атомы с относительно высокой энергией продолжают прямолинейное движение и осаждаются на поверхность подложки. Используются для осаждения на подложку тугоплавких материалов (тантал, вольфрам, молибден), диэлектриков (кварц, окись алюминия).
Рис. Принцип катодного распыления: 1- базовая плита; 2 – герметизация колпака; 3 – катод; 4-анод; 5- подложка; 6 – держатель подложки; 7 – подогреватель подложки; 8 – атом металла; 9 – отрицательное тлеющее свечение; 10-ион аргона; 11 – темновое катодное пространство; 12- подвод аргона; 13 – присоединение к вакуумному насосу.
Использование катода большого размера позволяет получать равномерное распределение толщины плёнки на всей подложке. Большая энергия катодного распыления предопределяет более высокую адгезию плёнки, чем при термовакуумном испарении. Скорость распыления 1-19 нм/с.
Плазма, кроме электростатического метода, может быть реализована с помощью высокочастотного магнетрона.
Рис. Схемы магнетронного распыления на частоте 13.6 МГц и ионнолучевого распыления.
(3) Ионно-лучевое распыление использует сфокусированный пучок частиц высокой энергии. Для создания таких потоков частиц с контролируемой энергией разработаны системы ионных пушек.
Рис. Ионно-лучевое распыление: 1 – напуск рабочего газа; 2 – термоэлектронный катод; 3 – анод; 4 – магнитная система; 5 – ускоряющий электрод; 6 – пучок ионов; 7 – распыляемый материал; 8 – подложкодержатель; 9 – присоединение к вакуумной системе; а – ионная пушка; б – схема напыления.
Низковольтный разряд (40-80 В) возбуждается в среде аргона. Наличие термоэлектронного катода обеспечивает стабильность разряда в широком интервале давлений от 100 до 10-1 Па. Магнитное поле, создаваемое в области цилиндрического анода, изменяет траекторию электронов, увеличивая вероятность столкновения с молекулами газа. Система фокусировки и ускорения позволяет получать практически моноэнергетические пучки ионов с энергией от 100 до 3000 эВ и плотностью тока от 0,1 до 20 мА/см2.
Электронно-лучевое испарение. Ускоренный пучок электронов с помощью отклоняющей системы непосредственно направляется на поверхность испаряемого материала. При столкновении с частицами окружающей среды электроны могут терять свою энергию и изменять направление движения. Число столкновений определяется концентрацией частиц, протяженностью электронного потока и его сечением.
Рис. Схема применения электронно-лучевого нагрева при вакуумном напылении: 1 – прикатодный, формирующий электрод; 2 – термоэлектронный катод; 3 – анод; 4 – поток электронов; 5 – система магнитной фокусировки; 6 – узел поворота электромагнитного пучка на 90; 7 – водоохлажденный тигель с испаряемым веществом; 8 – поток пара; 9 – заслонка; 10 – подложка на подложкодержателе; 11 – система вакуумирования.
Электронная пушка – устройство для создания, ускорения и фокусировки пучка электронов – состоит из катодного узла и системы фокусировки, обеспечивающей направленность потока. Последняя, включает прикатодный фокусирующий электрод, ускоряющий анод и устройство магнитной фокусировки.
Характеристики
Тип файла документ
Документы такого типа открываются такими программами, как Microsoft Office Word на компьютерах Windows, Apple Pages на компьютерах Mac, Open Office - бесплатная альтернатива на различных платформах, в том числе Linux. Наиболее простым и современным решением будут Google документы, так как открываются онлайн без скачивания прямо в браузере на любой платформе. Существуют российские качественные аналоги, например от Яндекса.
Будьте внимательны на мобильных устройствах, так как там используются упрощённый функционал даже в официальном приложении от Microsoft, поэтому для просмотра скачивайте PDF-версию. А если нужно редактировать файл, то используйте оригинальный файл.
Файлы такого типа обычно разбиты на страницы, а текст может быть форматированным (жирный, курсив, выбор шрифта, таблицы и т.п.), а также в него можно добавлять изображения. Формат идеально подходит для рефератов, докладов и РПЗ курсовых проектов, которые необходимо распечатать. Кстати перед печатью также сохраняйте файл в PDF, так как принтер может начудить со шрифтами.
















