41-50 (1001709), страница 2
Текст из файла (страница 2)
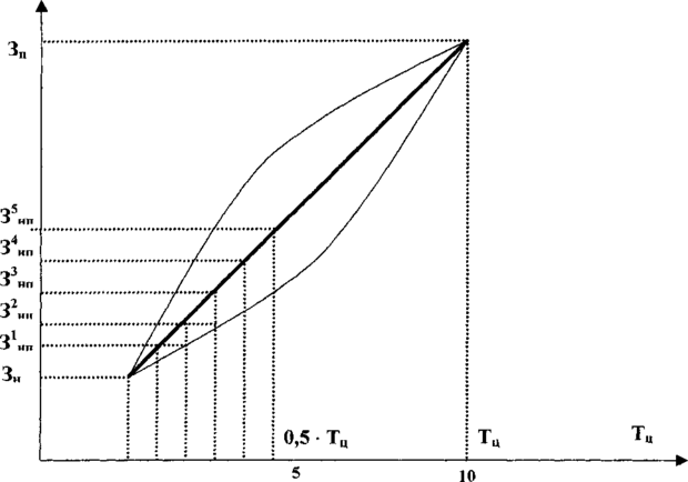
Зп - сумма всех последующих затрат на изделие (полная себестоимость изделия).
Норматив оборотных средств в незавершенном производстве определяется как:
Нос=Тц х Nдн х С х Кнз,
где
Тц - длительность производства изделия, дн.;
Nдн - среднедневной выпуск изделия, шт;
С - производственная себестоимость единицы изделия, р.;
Кнз - коэффициент нарастания затрат в производстве.
Норматив оборотных средств предприятия по расходам будущих периодов:
Нос=Рнг+Рсм-Рсп,
где рнг - фактический остаток расходов будущих периодов на начало планового года.
рсм - расходы будущих периодов, предусмотренные сметой на планируемый год, р.;
Рсп - расходы будущих периодов, включаемые в себестоимость в плановом году, р.
Согласно второму, менее точному методу расчета норматив оборотных средств
определяется по формуле:где qotсреднийостатокоборотныхсредств за отчетный период,
Глава 3. Ресурсы предприятия
Хпл, Хот - значения базового показателя в плановом и отчетном периодах.
01234
Тц - длительность производства изделия
Зн - стоимость материалов переданных со склада на первую операцию
Зп - полная себестоимость изделия
З'нп - стоимость изделия в незавершенном производстве после прохождения
i-ой операции технологического процесса.
© ИВАКО Аналитик-
Рис. 3.4, Графическая модель определения Кнз
Экономика предприятия
Для конкретных видов оборотных средств в качестве базового показателя выбирается
технико-экономический показатель, наиболее полно характеризующий их потребление.
Например, для вспомогательных материалов - их среднедневной расход, для тары -
годовой объем товарной продукции, для инструмента общего назначения и спецодежды -
среднегодовая численность работающих.
Среднегодовой остаток оборотных средств в отчетном периоде определяется:
где
Q1, q5 - остаток оборотных средств данного вида на 1 января отчетного и планового
года, р.;
Qi - остаток оборотных на первое число i-го квартала отчетного года.
Совокупный норматив оборотных средств равен сумме частных нормативов по всем
элементам нормируемых оборотных средств.
Элементы оборотных активов, находящиеся в сфере производства, называются
оборотными фондами. К ним относятся МПЗ (за исключением готовой продукции) и
расходы будущих периодов.
Элементы оборотных активов, находящиеся в сфере обращения, называются фондами
обращения. К ним относятся готовая продукция, средства в расчетах, временно свободные
денежные средства.
Оборотные средства - это сумма всех средств, вложенных в оборотные активы
предприятия,
Оборотные активы находятся в постоянном движении, переходят из одного вида в
другой. На рис. 3.5 структура цикла движения оборотных активов. Это движение имеетформу оборота: свободные денежные средства превращаются последовательно в МПЗ,незавершенное производство, готовую, отгруженную продукцию. Часть выручки от реализации идет на приобретение МПЗ, и оборот повторяется. Важнейшей
характеристикой оборотных средств является скорость их оборота. Она может
характеризоваться числом оборотов в течение какого-либо периода, например года, и
длительностью одного оборота.
Число оборотов рассчитывается как отношение себестоимости продукции,
реализованной в отчетном периоде, к среднему остатку оборотных средств. Длительностьоборота тоб - отношение числа календарных дней в отчетном периоде к числу оборотов:
где
Npnc - объем реализации продукции за год, р.;
qot - среднегодовой остаток оборотных средств', р.
Средняя продолжительность (длительность) одного оборота:
Предприятие должно следить за скоростью оборота, стремиться ее росту. Повышение
скорости оборота позволяет выпускать плановый объем продукции, используя меньшую
сумму оборотных средств.
-© ИВАКО Аналитик
Рис. 3.5. Структура цикла движения оборотных активов.
Экономика предприятия
3.3. Трудовые ресурсы
* 3.3.1. Персонал предприятия
К трудовым ресурсам относятся физические лица, участвующие своим трудов в
деятельности предприятия. Состав работников, дифференцированных по различным
признакам на группы, представлен на рис. 3.6.
Рис. № 3. б. Классификация персонала предприятия
Деятельность наемных работников осуществляется на основе договора с
предприятием, заключаемого при поступлении на работу. Этот договор может носить
форму трудового соглашения или договора гражданско-правового характера.
Согласно трудовому договору работник обязуется выполнять конкретную трудовую
функцию, то есть все виды работ по определенной специальности, квалификации,
должности. Он подчиняется внутреннему распорядку предприятия, включается в его
трудовой коллектив. Предприятие оплачивает труд работника, предоставляет ему рабочее
место, расходный материал, инструменты и т.п.
Все наемные работники подлежат социальному страхованию. На их заработную плату
начисляются взносы во внебюджетные фонды: пенсионный фонд, фонд социального
страхования, обязательного медицинского страхования и фонд занятости.
Работы для предприятия могут выполняться также и на основе гражданско-правовых
договоров, Содержание и порядок их заключения регулируется гражданским
законодательством.
Предметом гражданско-правового договора является определенный результат труда,
выполнение индивидуального конкретного трудового задания, осуществляемого без
подчинения исполнителя работы внутреннему трудовому распорядку предприятия. К
гражданско-правовым относятся договоры подряда, перевозки, комиссии, поручения,
авторские и др.
Работники предприятий дифференцируются на следующие категории.
1) рабочие - лица, непосредственно занятые производством материальных ценностей,
ремонтом, оказанием материальных услуг и т.п.
2) служащие, среди которых выделяются:
- руководители - лица, занятые управлением предприятия и его структурными
подразделениями, главные специалисты и заместители перечисленных работников;
- специалисты - лица, занятые инженерно-техническими, экономическими и иными
подобными работами;
-©ИВАКО Аналитик
Глава 3. Ресурсы предприятия
- другие работники, относящиеся к служащим - технические исполнители (секретари,
операционисты и др.).
Для формирования себестоимости продукции, расчета налога на прибыль важное
значение имеет дифференциация персонала по сфере деятельности. К занятым в
основной деятельности (промышленно-производственный персонал) относятся работники
основных, вспомогательных, транспортных цехов, научно-исследовательских,
конструкторских, технологических отделов, вычислительных центров, охраны,
заводоуправления, складов, технических библиотек, отделов снабжения и сбыта. Расходы
на оплату труда этих работников включаются в себестоимость продукции. На
предприятиях, имеющих безцеховую структуру, отнесение работников к занятым в
основной деятельности должно производиться по выполняемым ими функциям.
К персоналу непромышленных организаций, состоящих на балансе предприятия,
относятся работники коммунальных, оздоровительных, учебных подразделений,
жилищного хозяйства и т.п. Расходы на оплату труда этих работников осуществляются за
счет прибыли предприятия.
В списочный состав работников (то есть в состав работников, состоящих в штате
предприятия) включаются все принятые на постоянную, временную, сезонную работу на
срок один день и более. Списочная численность должна учитываться за каждый
календарный день. В выходные и праздничные дни она принимается равной численности
в предшествующий рабочий день. В списочной численности учитываются как работники,
явившиеся на работу, так и отсутствующие по какой-либо причине.
В списочный состав не_вкдю чаются лица, принятые на работу по совместительству,
привлеченные по трудовым соглашениям для выполнения разовых работ (консультаций,
экспертизы, ремонта и т.п.); временно направленные на работу в другие предприятия (без
сохранения зарплаты на данном), на учебу в вуз и средние специальные учебные
заведения с отрывом от производства, учащиеся общеобразовательных школ, проходящие
практику, молодые специалисты, находящиеся в отпуске и некоторые другие.
Из работников, не состоящих в штате, особое значение для предприятия имеют
совместители. Совместительство - это выполнение работником кроме свой основной
другой регулярно оплачиваемой работы на условиях трудового договора в свободное от
основной работы время. Совместительство может быть внутренним, то есть на
предприятии, где находится место основной работы. Общая продолжительность работы
по совместительству в течение месяца не должно превышать половины нормы для
соответствующей категории.
Списочная численность - основа расчета показателя среднесписочной численности
работников. Этот показатель широко используется в экономических расчетах.
Среднесписочная численность работников за месяц рассчитывается как:
где
yj - списочная численность на i-й календарный день, чел.;
п - число календарных дней в месяце.
При расчете по приведенной формуле из списочной численности исключаются
женщины, находящиеся в декретном отпуске, а также в отпуске по уходу за детьми до
достижения ими возраста полутора лет, студенты последних курсов, находящиеся в
дополнительном отпуске без сохранения зарплаты, абитуриенты, инвалиды Великой
Отечественной Войны, некоторые другие работники.
Работники, занятые по гражданско-правовым договорам, не учитываются в
списочной и среднесписочной численности.
© ИВАКО Аналитик—
Экономика предприятия
Среднесписочная численность за квартал, полугодие, иной период рассчитывается
делением суммы месячных среднесписочных численностей за соответствующий период на число месяцев в этом периоде.
Показатель среднесписочной численности персонала основной деятельности
используется для различных целей, в частности, при .получении предприятием статусамалого и соответствующих льгот по налогообложению В этом случае дополнительнов среднесписочную численность включаются:
- работающие по совместительству - исходя из фактически отработанного ими времени с учетом продолжительности рабочего времени, установленного для совместителей законодательством;
~ работающие по договорам подряда - ежемесячно в течение всего времени действия
договора. При отсутствии учета рабочего времени этих лиц в списочной численности
они принимаются за каждый календарный день как целые единицы.
Следует отметить принципиальную роль показателя среднесписочной численности
для получения статуса малого предприятия. Предельная среднесписочная численность
персонала малых предприятий по отраслям народного хозяйства и видам деятельности, установленная Законом «О государственной поддержке малого предпринимательства в РФ», представлена в таблице №3.2. Добавим, что в уставном капитале малых предприятий доля государства, общественных и религиозных организаций, благотворительных и иных фондов, юридических лиц, не являющихся субъектами малого предпринимательства, не должна превышать 25%.
Таблица №3.2
Предельная среднесписочная численность персонала малых предприятий
| Сфера деятельности | Предельная численность, чел. |
| 1. Промышленность, строительство, транспорт | 100 |
| 2. Сельское хозяйство, научно-техническая сфера | 60 |
| 3 . Оптовая торговля | 50 |
| 4. Розничная торговля, бытовое обслуживание | 30 |
| 5 . Остальные отрасли, другие виды деятельности | 50 |
В случае выхода за установленные ограничения предприятие перестает считаться
малым со всеми вытекающими отсюда последствиями. Например, теряются налоговые
льготы. Поэтому рациональным путем расширения малого предприятия является создание его дочерних предприятий, являющихся юридическими лицами.
















