УГФС1 (1001693), страница 2
Текст из файла (страница 2)
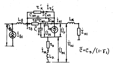
Рисунок 4 – Эквивалентная схема мощного усилителя по схеме с ОЭ
Величину мощности эквивалентного генератора PГ определим по формуле (4).
-
Напряженность граничного режима ξгр:
-
Амплитуда напряжения и тока первой гармоники эквивалентного генератора:
-
Пиковое напряжение на коллекторе:
На этом этапе необходимо проверить, не превышает ли величина UКПИК величины UКЭДОП. Для транзистора КТ913Б UКЭДОП=55 В. Так как 49,053<55, то можно заключить, что режим работы и тип транзистора менять не следует.
-
Параметры транзистора:
-
Находим значения параметров A и B:
-
С помощью графика A(γ1), приведенного в [2, стр. 31], получаем коэффициент разложения γ1=0,6. Для него угол отсечки θ=100о, коэффициент формы g1=1,49.
-
Пиковое обратное напряжение на эмиттере:
Из формулы (12) необходимо сделать вывод о том, не превышает ли абсолютная величина UБЭПИК величины UБЭДОП транзистора КТ913Б. UБЭДОП для выбранного транзистора равно 3,5 В. Так как 2,553<3,5, транзистор менять не следует.
-
Рассчитываются комплексные амплитуды токов и напряжений на элементах эквивалентной схемы (см. Рисунок 4).
-
Определяются величины входного сопротивления транзистора для первой гармоники тока, мощности возбуждения и мощности, отдаваемой в нагрузку.
-
Постоянная составляющая коллекторного тока, мощность, потребляемая от источника питания, и электронный КПД соответственно.
-
Коэффициент усиления по мощности, мощность, рассеиваемая транзистором и допустимая мощность рассеяния при данной температуре корпуса транзистора.
Так как 8>6,206, транзистор может работать в выбранном режиме при указанной в техническом задании максимальной температуре.
-
Глубина модуляции предоконечного каскада, обеспечивающая заданную глубину модуляции тока оконечного каскада
-
Сопротивление эквивалентной нагрузки на внешних выводах транзистора.
Расчёт режима предоконечного каскада на транзисторе КТ919В
КПД согласующей цепи примем равным 0,7. Тогда мощность предоконечного каскада в максимальном режиме равна
а напряжение питания
Принципиальная схема каскада приведена на рисунке (см. Рисунок 5). Весь дальнейший расчет производится аналогично предыдущему.
Рисунок 5 – Предоконечный каскад
Режим – граничный, с нулевым смещением. Для расчёта используем формулы, приведенные в [2]. Параметры транзистора даны в приложении (см. Приложение 1). Итак, Pвых1=1,06 Вт, Uк0=EКМАКС=24,3 В. Перед расчётом необходимо уточнить величину SГР из неравенства значения формулы (38) величине 0,7 (для схемы с ОЭ). Если полученная величина больше 0,7, необходимо уточнить SГР.
Так как 0,638<0,7, величина SГР уточнения не требует. Величину мощности эквивалентного генератора PГ определим по формуле (39).
-
Напряженность граничного режима ξгр:
-
Амплитуда напряжения и тока первой гармоники эквивалентного генератора:
-
Пиковое напряжение на коллекторе:
На этом этапе необходимо проверить, не превышает ли величина Uкпик величины Uкэдоп. Для транзистора КТ919В Uкэдоп=45 В. Так как 44,376<45, то можно заключить, что режим работы и тип транзистора менять не следует.
-
Параметры транзистора:
-
Находим значения параметров A и B:
-
С помощью графика A(γ1), приведенного в [2, стр. 31], получаем коэффициент разложения γ1=0,39. Для него угол отсечки θ=80о, коэффициент формы g1=1,65.
-
Пиковое обратное напряжение на эмиттере:
Из формулы (12) необходимо сделать вывод о том, не превышает ли абсолютная величина UБЭПИК величины UБЭДОП транзистора КТ919В. UБЭДОП для выбранного транзистора равно 3,5 В. Так как 1,829<3,5, транзистор менять не следует.
-
Рассчитываются комплексные амплитуды токов и напряжений на элементах эквивалентной схемы (Рисунок 4).
-
Определяются величины входного сопротивления транзистора для первой гармоники тока, мощности возбуждения и мощности, отдаваемой в нагрузку.
-
Постоянная составляющая коллекторного тока, мощность, потребляемая от источника питания, и электронный КПД соответственно.
-
Коэффициент усиления по мощности, мощность, рассеиваемая транзистором и допустимая мощность рассеяния при данной температуре корпуса транзистора.
Так как 2,25>0,512, транзистор может работать в выбранном режиме при указанной в техническом задании максимальной температуре.
-
Сопротивление эквивалентной нагрузки на внешних выводах транзистора.
Расчёт режима мощного умножителя частоты на транзисторе КТ904А
Принципиальная схема каскада приведена на рисунке (см. Рисунок 6). Для расчёта используем формулы, приведенные в [2].
Рисунок 6 – Мощный умножитель частоты по схеме с ОБ
Параметры транзистора даны в приложении (см. Приложение 1). Заметим, что при фактическом напряжении питания, сильно отличающемся от типового, следует внести поправку на параметры fГР и CК. Можно считать, что с уменьшением вдвое напряжения EК ёмкость CК возрастает на 25%, а частота fГР падает на 15%. Для транзистора КТ904А, работающего в УЧ при напряжении 15 В, примем CК=7,5 пФ, fГР=510 МГц.
Поскольку выходная цепь УЧ включает в себя фильтр-пробку [1], её КПД понижен. Примем его равным 0,6. Тогда мощность, отдаваемая в нагрузку, должна составить
Расчёт ведется для угла отсечки θ=60о. Итак, Pвых2=0,172 Вт, Uк0=Eк=15 В, f=160 МГц, n=2. Для выбранного угла отсечки α0=0,218, α1=0,391, α2=0,276, γ0=0,109, γ1=0,196, γ2=0,138. Расчёт ведется для граничного режима работы.
-
Сопротивление потерь коллектора в параллельном эквиваленте
-
Напряженность граничного режима
-
Амплитуды напряжения и тока второй гармоники, приведенные к эквивалентному генератору.
-
Сопротивление коллекторной нагрузки
-
Амплитуда второй гармоники, высота импульса тока эквивалентного генератора, постоянная составляющая коллекторного тока соответственно:
Проверим, не превышает ли величина импульса тока эквивалентного генератора значения IКР для выбранного транзистора. Для транзистора КТ904А IКР=0,8 А. Так как 0,8>0,2062, транзистор может работать в данном режиме.
-
Амплитуда тока возбуждения и коэффициент передачи по току в схеме с общей базой соответственно:
-
Пиковое обратное напряжение на эмиттере
Для транзистора КТ904А максимальное напряжение UБЭДОП=4 (В). Так как 2,3693<4, транзистор может работать в данном режиме.
-
Напряжение смещения
где
Подставляя численные значения, получаем:
-
Активная и реактивная составляющие входного сопротивления транзистора соответственно:
-
Мощность, потребляемая от источника питания, КПД:
-
Коэффициент усиления по мощности:
-
Мощность возбуждения:
-
Мощность рассеяния:
Для выбранного транзистора величина максимальной мощности, рассеиваемой коллектором PКДОП=5 Вт. Так как 0,5238<5, транзистор может работать в данном режиме.
-
Активная и реактивная составляющие сопротивления нагрузки, приведенной к внешнему выводу коллектора, в параллельном эквиваленте:
Расчёт режима маломощного усилителя на транзисторе ГТ311 на частоте 160 МГц
Примем КДП согласующей цепи равным 0,7. Тогда усилитель рассчитываем на мощность
Принципиальная схема каскада приведена на рисунке (см. Рисунок 7).
















