Диспетчерская централизация системы Нева
ДИСПЕТЧЕРСКАЯ ЦЕНТРАЛИЗАЦИЯ СИСТЕМЫ «НЕВА»,
ПРНЦИПЫ ЕЕ ПОСТРОЕНИЯ, ОСНОВНЫЕ
НЕИСПРАВНОСТИ И МЕТОДЫ ИХ УСТРАНЕНИЯ.
ДИСПЕТЧЕРСКАЯ ЦЕНТРАЛИЗАЦИЯ СИСТЕМЫ «НЕВА»
ДЦ системы « НЕВА» имеет ряд принципиальных отличий от получивших широкое применение систем ПЧДЦ, ЧДЦ, ЧДМ - М, ЧДЦ-66 спорадического действия. Система предусматривает спорадическую передачу сигналов ТУ по одному каналу и циклическую передачу сигналов ТС по нескольким параллельным каналам ТС. При управлении одним участком ДЦ по физической цепи допускается использование до трех каналов ТС (2, 3, 4).
Передача сигналов ТС от различных ЛП и групп контролируемых устройств, в пределах станции разделены по времени, что дает возможность использовать один канал для передачи сигналов ТС с нескольких ЛП (линейный пункт).
Групповые распределители, определяющие порядок занятия каналов ТС на станциях, охвачены общей системой синхронизации, построенной на принципе стартстопной системы. Сигналы синхронизации передаются по каналу ТУ. В кодовых устройствах использованы полупроводниковые логические схемы, исключением являются устройства для приемов сигналов на линейных пунктах, построенные на релейно – контактной аппаратуре. Аппаратура ДЦ системы «Нева» размещена на типовых унифицированных кодовых стативах, не требующих индивидуального проектирования.
Рекомендуемые материалы
Аппаратура системы «Нева» дает возможность управлять диспетчерскими участками, удаленными от поста ДЦ практически на любое расстояние. При этом связь от поста до диспетчерского участка осуществляется по каналам ВЧ, а в пределах диспетчерского участка – по физическим двухпроводным линейным цепям. В тех случаях, когда длина линейной цепи превышает предельную длину усилительного участка для данных типов цепи и конечной аппаратуры, организовывают усилительные пункты (УП), которые дают возможность разветвлять линейные цепи с компенсацией потерь на расфильтровку и развязку или с одновременным усилением сигналов,
ПОСТРОЕНИЕ СИГНАЛОВ УТ.
Для построения сигналов ТУ используются 4-е тональные частоты: f 1у = 500Гер(а), f 2у = 600Гер(п), f3у = 700Гер(а), f4у = 800Гер(п). Сигнал ТУ содержит один начальный и 18 рабочих импульсов.
Начальный (нулевой) посылается всегда на частоте f2у, нечетные рабочие импульсы – частотами f3у, f4у, четные – f1у или f2у. Нулевой импульс предназначен для настройки всех ЛП на прием сигнала ТУ.
Рабочие импульсы 1- 6 предназначены для выбора станции, а 7,8,9 и 18 – для выбора на станции группы объектов. Импульсы с 10 – 17 используются для передачи команд выбранной группе объектов. Выбор станции осуществляется комбинациями трех активных импульсов среди первых по порядку шести импульсов. Максимальное число настроек на разные станции составляет 20. Число групп определяется сочетанием двух активных импульсов из четырех (7,8,9,18) и составляет шесть групп. Там, где требуется седьмая группа. Применяется комбинация из четырех активных импульсов. С помощью остальных восьми импульсов (10-17)могут быть переданы команды восьми двухпозиционным объектам.
Емкость по управлению: система позволяет управлять двадцатью станциями. На каждой станции может быть включено до семи групп объектов. Максимальное число объектов на одной станции 56, а на всех 20 станциях – 1120.
Продолжительность передачи сигнала ТУ.
Полное число импульсов сигнала ТУ равно 19. Длительность нулевого импульса 144мсек, каждого из последующих восемнадцати – 48 мсек. Общая длительность передачи сигнала ТУ составляет 144+(18*48)= 1008 мсек.

Сигналы ТС передаются циклическим способом. В течение цикла по одному каналу ТС передается 23 сигнала. Сигнал ТС не содержит тактовых импульсов. Тактовые импульсы, обеспечивающие работу распределителей, выдаются генераторами тактовых импульсов, установленными на посту и каждом ЛП.
Отсутствие в сигнале ТС тактовых импульсов позволяет передавать соседние импульсы одинаковыми частотами. Поэтому для передачи сигналов ТС в каждом канале используются только две частоты:
1 - f1и = 1025, f 2и = 1225; 2 -f1и = 1625, f 2и = 1825; 3 – f1и = 2225, f 2и = 2425; 4 - f2825, f2и = 3025
Частота f1и, более низкая по сравнению с частотой f 2и, является активной, частота f2и – пассивной.
Сигнал ТС состоит из 22 тактов, из них начальный и завершающий разграничивают рабочую часть сигнала от интервала, остальные двадцать рабочих тактов несут информацию о состоянии объектов. В начальном и завершающем тактах всегда передается активная частота. В сигнале ТС применен чисто распределительный метод избирания. Каждый рабочий такт передает информацию независимо от других тактов.
Очередность передачи сигналов.
Очередность передачи сигналов ТС, относящиеся к различным группам контрольных объектов, обеспечивается синхронной работой на ЦП и ЛП местных генераторов тактовых импульсов, приводящих в движение тактовые и групповые распределители. Генераторы тактовых импульсов запускаются в каждом цикле от общего сигнала цикловой синхронизации, передаваемого с ЦП по каналу ТУ.
Нормально в канале ТУ находится частота покоя f4у. За 64 мсек до окончания полного цикла проверки объектов в канал ТУ посылается сигнал синхронизации f3у. При этом частота f3у приводит все тактовые и групповые распределители в исходное состояние, и прекращают работу местных генераторов тактовых импульсов. Через 64 мсек частота f3у меняется на частоту f4у, в результате чего местные генераторы тактовых импульсов на всех ЛП одновременно отпираются и начинают выдавать импульсы, приводящие в действие распределители.
Если идет сигнал ЦС (цикловая синхронизация ), то сигнал ТУ задерживается, и наоборот.
Емкость системы по извещению.
По одному каналу ТС за время одного цикла может быть проконтролировано состояние 23 групп двух позиционных объектов, причем каждая группа включает в себя 20 объектов.
Следовательно, емкость системы по извещению при использовании 1 канала ТС составляет 460 двух позиционных объектов, при использовании двух каналов ТС - 920 и трех – 1380.
Продолжительность передачи сигналов ТС.
Продолжительность одного такта сигнала ТС составляет 8мсек. На передачу одного сигнала ТС отводится 28 тактов, из которых 20 являются рабочими, два такта, начальный и конечный и шесть тактов - для интервала между двумя соседними сигналами.
Продолжительность передачи 28 тактов равна 28*8 – 224мсек. Число групп в канале составляет23, а с учетом ЦС – 24. Следовательно, продолжительность одного цикла передачи сигнала ТС 224*24 = 5376 мсек.
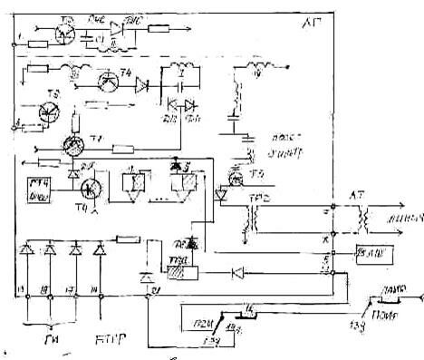
СТРУКТУРНАЯ СХЕМА УСТРОЙСТВ ЛП.
В приеме сигнала ТУ участвуют усилитель ЛУ, демодулятор ЛДМ с релейными выходами, повторители импульсных реле демодулятора поляризованные реле П1И, П2И, ПОИ и ПАИ, реле А и ПА контролирующие занятость канала ТУ сигналом ТУ, реле цикловой синхронизации Ц, релейный распределитель РР, регистрирующие реле выбора группы 1ИГ – 5ИГ, регистрирующее реле исполнительной части сигнала ТУ 1Р – 8Р, групповые реле сигнала ТУ 1ГУ – 7ГУ, управляющие реле, незначительная часть которых размещена на стативах кодовых устройств, а большая часть - на стативах ЭЦ
Сигналы ЦС принимаются и реализуются релейной схемой, в которой участвуют контакты реле ПАИ, ПОИ, П2И, А, ПА, Ц. Сигнал «Стоп» подается по проводу 1, а сигнал «Пуск» – по проводу 2.
Перечисленные ниже блоки участвуют в передаче сигнала ТС.
Линейный генератор ЛГ – генерирует рабочие частоты канала ТС и содержит пусковой триггер и генератор тактовой частоты 4000Гц с делителем частоты 1:32.
Линейный шифратор ЛШ, получающий тактовые импульсы от блока ЛГ и непрерывно работающий как делитель частоты 1:28, во время передачи сигнала ТС блок ЛШ управляет частотой генератора ЛГ в соответствии с положением контактов контрольных реле объектов данной группы.
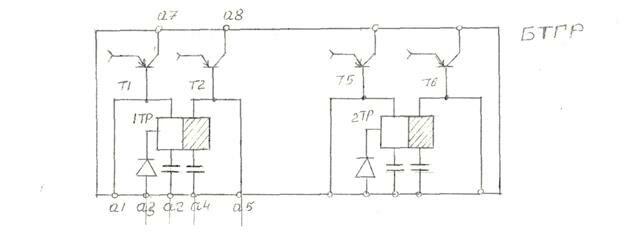
Блоки 1БТГР, 2БТГР, 3БТГР образуют групповой распределитель ГР, получающий импульсы от блока ЛШ через 224 мсек, и определяют интервалы , в течении которых должны передаваться сигналы ТС с данного ЛП.
Блоки 1ГИ, 2ГИ, 3ГИ обеспечивают выбор при передаче сигнала ТС до 6 групп контролируемых объектов, каждая из которых содержит 20 объектов. Выходы блоков ГИ соединяются с выходами группового распределителя ГР. Их назначение заключается в образовании соединения между блоками ЛГ и ЛШ через контакты выбранной группы контрольных реле объектов.
Блоки БДС содержат диоды, используемые в цепях, связывающие блоки ЛГ и ЛШ через контакты контрольных реле объектов и устраняющие возможность образования в этих соединениях обходных цепей.
РАБОТА КОДОВОЙ АППАРАТУРЫ ПРИ ПЕРЕДАЧЕ СИГНАЛА ТС НА ЛП.
На ЛП для циклической передачи сигнала ТС применена бесконтактная аппаратура в виде линейного шифратора ЛШ, группового распределителя ГР, трех блоков группового избирания ГИ, шести диодных блоков БДС, линейного генератора ЛГ.
Линейный шифратор.
Полное число тактов, отсчитываемое распределителем – 28. Из них 1 и 22 начальным и завершающим, 20 рабочих, от которых образуются выходы 2/1 – 2/20, шесть тактов образуют интервал между двумя подряд посылаемыми сигналами ТС. Счетная схема ЛШ одновременно выполняет функции делителя частоты 1:28. При поступлении 28 тактов по 8мс каждый на выход 1/5, через 224мс выдается один импульс на выходе 1/4 для воздействия на групповой распределитель ГР.
Для сокращения полного цикла на 4 такта осуществлена обратная связь с помощью триода Т10
Таким образом, ЛШ является датчиком времени (точного) для работы ГР. Триод Т1 участвует в образовании интервала между сигналами ТС. Он открывается при нахождении распределителя в позициях 1 и 24 – 28, во всех других – закрыт.

Групповой распределитель.
Он собирается из трех блоков БТГР. Выполняет функции точного отсчета времени подключения каждой группы контроля в канал ТС. Распределитель представляет счетную триггерную схему, на общий вход которой поступают импульсы с точным интервалом времени 224мсек.

От каждого импульса распределитель передвигается на один шаг, образуя цепи настройки для подключения очередной группы контроля. Эти цепи сохраняются в течение 224мсек, т.е. на время, которое требуется для передачи сигнала ТС с данной группы контроля. Передвигаясь в следующую позицию, ГР отключает данную группу контроля и подключает следующую и т.д.
Каждый блок БТГР состоит из двух триггеров с усилительными триодами, образующими четверичный счетчик. При любом положении триггеров один усилительный триод закрыт и образует отрицательный выход, три усил. триода открыты и выходов не образуют.
От поступления на вход а2 блока БТГР первого импульса от ЛШ триггер 1 ТР переключится в состояние 1, триггер 2ТР сохраняет состояние 0. При этом закроется Т1, откроется Т6. Триоды Т2 и Т5 остаются открытыми. Образуется комбинация выходов всего распределителя а7, с6, а8, которые используются для настройки первой группы контроля ЛП.
От второго импульса ЛШ в ГР открываются выходы а8, с8, а8 для настройки второй группы контроля, от третьего импульса – выходы с7,с8, а8 для настройки третьей группы контроля, от 23-го импульса – выводы с7, а7, а7 для настройки последней 23- й группы контроля.
Блок группового избирания ГИ предназначен для подключения контактов контрольных реле каждой группы объектов к модулятору генератора ЛГ на время передачи сигнала ТС с данной группы. Каждый блок ГИ обслуживает две группы контроля, максимальное число групп данного ЛП равно шести. Число контактов контрольных реле в одной группе 20, всего к ЛГ может подключиться 120 контактов контрольных реле. Блок ГИ каждой группы настраивается на номер своей группы с помощью 3-х перемычек от его входов а2, а3, и а4 (с2, с3 и с4) к выходам ГР.

Выходы а1(с1) ГИ соединяются с выходами 1/1 ЛШ для фиксации интервала между двумя соседними сигналами ТС. До момента включения 1 группы контроля в блоке 1ГИ высоким потенциалом на входах а2, а3 и а4 закрыт триод Т1, Т2 и открыт Т3. При таком состоянии схемы заперт диод Д9, чем прерывается цепь прохождения тока между выводами а0 – а6, а также заперта входная цепь а9.
При выходе ГР в положение 1 группы контроля в 1ГИ снижается потенциал на входах а2, а3 и а4, а также на входе а1, что приводит к открытию Т1 и Т2 и закрытию Т3. Теперь запирается диод Д7, отпирается диод Д9 и образуется цепь тока между выводами а0 – а6, а также открывается вход а9. Через открытые входы 1ГИ включается ЛГ и начинается передача сигнала ТС .
На 28 такте этого сигнала от ЛШ подается импульс на ГР и переключает его в положение второй группы контроля. При этом на одном из входов а2, а3, а4 блока 1ГИ повышается потенциал, закрываются триоды Т1 и Т2, открывается Т3 и восстанавливается состояние блока, при котором запираются цепи ЛГ и прекращается передача сигнала ТС с первой группы контроля.
Линейный генератор ЛГ.
В блоке ЛГ помещены генератор частоты сигнала ТС – ГЧС и генератор тактовых импульсов-ГТЧ
Генератор ГЧС вырабатывает частоты f1и и f2и и состоит из генератора частоты, модулятора частоты, ключевой схемы запуска генератора и выходного усилительного каскада.
Генерация частоты происходит на транзисторе Т4, в полной цепи которого включен задающий колебательный контур ЗК, настроенный на частоту f2и. Незатухающие колебания поддерживаются за счет положительной обратной связи с помощью обмоток 1 и 3 трансформатора Тр3. Качественная модуляция осуществляется триодом Т3. При открытии триода он создает смещение диоду Д10 и к контуру ЗК подключается дополнительная емкость С1, отчего генератором вырабатывается активная частота f1и.
При открытом Т7 создается цепь смещения диодам Д11 и Д12, отчего ЗК зашунтирован и генератор не работает и прекращается поступление частоты в линию. Возникает интервал между сигналами ТС ,длительность которого равна шести тактам работы распределителя. После 28 шага распределитель переходит в первую позицию, подключая новую группу контактов контрольных реле, Для запуска генератора необходимо открыть Т6 и закрыть Т7.
При открытии входов 1ГИ через его вход а9 в ЛГ открывается Т6 и закрывается Т7, снимается шунт с ЗК и генератор приводится в действие. Через выходы а0 –а6 1ГИ транзистор Т3 ЛГ соединяется через контакты контрольных реле и блоки БДС с выходами ЛШ. После того, как с ЛП на пост будут переданы сигналы ТС о состоянии всех групп контрольных объектов , дальнейшая работа передающих устройств прекращается.

НЕИСПРАВНОСТИ УСТРОЙСТВ ДЦ И
ДЕЙСТВИЯ МЕХАНИКА ПРИ ИХ ВОЗНИКНОВЕНИИ.
1. Выключились все станции с контроля ДЦ
1.1 Проверить с помощью высокоомного телефона наличие сигнала ТУ и сигнала ЦС на стативе 1Ц в гнезде № 9. С помощью лампового вольтметра измерить уровень сигнала ТУ. При отсутствии сигнала ТУ и ЦС переключить тумблер «КРУ» на стативе 1Ц , переключив аппаратуру на резервный комплект. Перейти снова на основной комплект, если контроль востановился - подгар или грязь на контактах.
1.2. Сигнал ТУ и ЦС в норме.
Проверить наличие сигнала ТС. Сигнал ТС отсутствует – повреждение канала ВЧ, кодовой линии или статива УП, или на всем участке нет электроэнергии. Сообщить в ЛАЗ, ЭЧЦ, ШЧД.
1.3 Сигнал ТС имеется, но очень низкий уровень.
Проверить прохождение приказов ВК и ОК(включения и отключения станций), если приказы проходят и реализуются поврежден канал ВЧ цепи ТС или статив УП. Проверить уровень сигнала с каждой станции, если уровни сигналов ТС со всех станций сильно занижены , временно на ст. 1Ц на фильтре ФА добавить уровень. После устранения повреждения канала ВЧ фишки на ФА поставить в прежнее положение.
1.4 На контроле одна или несколько первых станцый.
Послать приказ ВЛ (включение линии) , если станции не включились – обрыв кодовой линии за последней станцией.
1.5 Включены в контроль несколько станций, остальных нет.
С отключенных станций сигнал идет, но очень слабый . возможно короткое замыкание в кодовой линии.
Проверить прохождение сигнала ВК, ОК на все станции, если приказ проходит на часть станций ,на последнюю станцию послать куда сигнал ТУ проходит послать приказ «отключение линии». Проверить сигнал ТС. Если сигнал ТС с этих станций стал нормальный - короткое замыкание в проводах КЛ.
2. Выключились с контроля станции одного из каналов ТС ( ТС2, ТС3, ТС4)
2.1. Сигнал ТС с данных станций идет и сигнал его в норме.
Проверить предохранитель на стативе 2Ц.
Переключить аппаратуру на стативе 2Ц на резервный комплект, если работа востановилась то, неисправны блоки ЦДШ, ЦДМ, заменить и проверить на испытательном стенде.
Проверить есть ли сигнал после ЦУ на стативе 1Ц, если сигнала нет, заменить ЦУ.
Сигнал ТС после ЦУ есть – на стативе 2Ц нажать кнопку КЦ – должны работать реле «И» в беспорядке и реле «В1, В2 ...» – по порядку по парно. Если реле «И» или В1, В2 не работают – вытащить 13ГУ – реле В1,В2 должны работать друг за другом по парно. Если они не работают – неисправен групповой распределитель 1БТГР – 5БТГР.
3. Выключилась с контроля одна станция (нет ТС).
3.1. Был послан приказ «ОК» – послать приказ «ВК».
3.2. На станции отсутствует электроэнергия.
3.3. Перегорел предохранитель на линейном стативе.
3.4. Неисправен статив Л (возможно блок ЛГ)
Попробовать послать приказ «И», вынуть дужку ТУ. Если частоты поступают и с дужкой ТУ и без нее, возможно, что ЛГ и работает, а неисправны другие элементы: БТГР, ГИ, ЛШ.
3.5. На стативе Л не работает реле «Ц» – разрегулировалось. Оно может не работать, если неисправен блок ЛДМ, перегорел предохранитель станционной батареи на линейном стативе или понижено напряжение на этой батареи.
4 Выключилась с контроля одна станция ( ТС есть, но уровень слабый).
4.1. Произошла разрегулировка сопротивления R10 на стативе Л. Измерить приходящий
уровень. На ст.1Ц на фильтре ФА попробовать увеличить общий уровень ТС. Если станция включится – вызвать ШН на станцию для регулировки уровня.
4.2. Неисправен блок ЛГ.
Обратите внимание на лекцию "16 Единичное, особенное и всеобщее".
5 Станция дает сбой информации
5.1. По осцилографу посмотреть форму сигнала ТС, померить уровень сигнала. Если уровень ниже норы, то временно добавить общий уровень на ФА.
Послать приказ «И», на осцилографе посмотреть сигнал, вынуть дужку ТУ, тоже посмотреть сигнал. Если в одном из случаев нет частоты, то неисправен блок ЛГ на станции.
5.2На стативе 2Ц неисправен блок ГУ или ГИ данной станции. Нажав кнопку «КЦ» убедиться, что реле «И» и «В» работают нормально. Если реле данной группы не работает - заменить ГУ, ГИ. Станцию отключить и проверить с помощью статива ИЦ (испытательный), определить, где неисправность на станции или на поту ДЦ.
6. Идет сбой информации по всем станциям круга.
6.1Помеха в канале ВЧ или в кодовой линии. Отключением станций выяснить, откуда идет помеха, вызвать причастных работников для ее устранения. Если помеху дает одна из станций, вызвать на эту станцию ДСП и отключить ее с контроля до устранения неисправности. Если дает помеху КЛ после этой станции, послать приказ на ОЛ (отключение линии), что даст нормальную работу участка до этой станции.























