Устройство кровель из штучных материалов
15. Устройство кровель из штучных материалов
Асбестоцементные кровли из волнистых листов обыкновенного профиля ВО (ГОСТ 378—76) устраивают на кровлях с уклоном более 27% по деревянной обрешетке на жилых, гражданских, производственных зданиях, а также на объектах сельскохозяйственного назначения. Обрешетку устраивают из брусков сечением 60х60 мм. На определенном расстоянии друг от друга (с шагом 530 мм) раскладывают и крепят обрешетки от карниза к коньку.
Последовательность укладки листов в покрытие. Первый лист укладывают по шнуру вдоль ската, начиная от карниза, без обрезки углов. Затем на гребне второй волны с правой стороны листа ручной дрелью (с диаметром сверла на 1...2 мм больше диаметра гвоздя) сверлят отверстие на расстояние 80...100 мм от нижней кромки. Лист через отверстие прибивают к карнизному свесу шиферным гвоздем с прокладкой из резины, толя, рубероида, не добивая гвоздь до отказа на 2...3 мм. Далее кровельщик кладет на место второй лист продольного ряда (от первого ряда к концу), точно прилаживает лист с отрезанным ножницами углом по месту, сверлит отверстие на второй волне справа на середине нахлестки второго листа на первый (на расстоянии 60 м от нижней грани второго листа) и прибивает его к обрешетке шиферным гвоздем с рубероидной прокладкой, не добивая гвоздь до отказа на 3...4 мм. Таким же образом обрабатывают следующие листы первого продольного ряда и прибивают их к обрешетке. В покрытие волнистые листы укладывают в определенной последовательности: в поперечном направлении — справа налево (обращаясь лицом к коньку) с перекрытием одного листа другим на одну волну; в продольном направлении — снизу вверх с перекрытием нижеуложенного ряда вышеукладываемым на 140 мм при уклоне до 33%. Листы в ряду удобнее укладывать справа налево, причем учитывают направление господствующих в данном районе ветров, чтобы открытые кромки продольных стыков были обращены на подветренную сторону. Покрывать крышу с нахлесткой волнистых листов можно двумя способами: со смешением продольных кромок листов на одну волну по отношению к таким же кромкам листов ранее уложенного ряда; с совмещением продольных кромок листов во всех вышеукладываемых рядах. Для укладки по первому способу заготовляют необходимое количество листов, обрезанных на одну, две, три и четыре волны. В этом случае линия стыков листов на скате в продольном направлении будет ступенчатой. При укладке вторым способом в листах обрезают лишь углы (рис. 101), тогда линия стыковки листов на скате по продольным кромкам будет прямой.

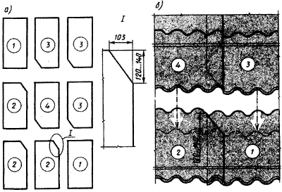
Рис. 101. Подкотовка листов ВО к укладке: а - последовательность обрезки листов при укладке справа налево; б - соединение четырех листов продольно-поперечной нахлесткой; 1 - угловой лист; 2 - сливной и фронтонный листы; 3 - фронтонный и коньковый листы; 4 - рядовой лист
Листами ВО с долевой обрезкой волн рекомендуется покрывать относительно узкие по уклону, но длинные в поперечном направлении скаты. Широкие по уклону, но короткие в поперечном направлении скаты покрывают листами ВО со срезанными углами. Основанием под кровлю служит обрешетка из брусков сечением 60х60 мм. Высота карнизного бруска — 66 мм, нечетных — 60 мм, четных — 63 мм. Если для однотипности берут бруски 60х60 мм, их надо нарастить, например, уложив на стропила планки 1 (рис. 102, а) толщиной 3 мм. На таком основании продольная нахлестка листов будет плотной и листы ВО будут прочно лежать на брусках обрешетки.

Рис. 102. Укладка и крепление листов ВО: а - продольный разрез ската; б - крепление листов; в - дополнительное крепление листов на карнизе; 1 - уравнительная планка; 2 - лист ВО; 3 - обрешеточный брусок; 4 - гвоздь; 5 - резиновая шайба; 6 - шуруп; 7 - карнизный брусок; 8 - гвоздь; 9 - противоветровая скоба (цифры в скобках относятся к укладке обрешетки при уклоне ската менее 58%); В - вылет свеса
Крепят листы на обрешетке гвоздями, шурупами (рис. 102, 6) и частично противоветровыми скобами (рис. 102, в). В районах, где сила ветра превышает восемь баллов, листы устанавливают на шурупах и скобах. В карнизном ряду скобы ставят по шнуру из расчета по две на лист. Обрешетку крыши выполняют с таким расчетом, чтобы на нее можно было уложить целое число листов как в продольном, так и в поперечном направлениях (рис. 103). Если это невозможно, в кровлю вводят обрезанные листы, которые в поперечных рядах укладывают предпоследними у фронтонного свеса, а в продольных — у конька. Чтобы не обрезать листы, можно увеличить или уменьшить свесы кровли на фронтонах, а также изменить величину выноса карнизного свеса.
Рекомендуемые материалы

Рис. 103. Покрытие ската листами ВО: а - начальная стадия укладки листов ВО с совмещением продольных кромок; б - поперечный разрез фронтонного свеса; 1, 2 - карнизный и обрешеточный бруски, листы; 3 - сливной; 4 - рядовой; 5 - фронтонный; 6 - угловой; 7 - гвоздь; 8 - резиновая шайба (цифры в скобках относятся к укладке обрешетки при уклоне ската менее 58%)
Подготовляя листы, проверяют их внешнее состояние, длину и ширину, затем обрезают их углы или продольные полосы. Отверстия, как правило, сверлят по месту ручной или электрической сверлильной машиной. Диаметр сверла должен быть на 2 мм больше диаметра гвоздя или шурупа. Размечают углы на листах ВО следующим образом. Кровельщики из досок сами делают стусло и в нем по рекомендуемым размерам делают прорези. Лист ВО укладывают так, чтобы отрезаемый угол упирался в бортики стусла, а затем ножовкой с мелкими зубьями отрезают угол. Более производительно эта операция выполняется с помощью дисковой электропилы ИЭ-5102В. Листы в пакете плотно прижимают один к другому с помощью струбцины или тяжелого предмета, укладываемого на пакет сверху, а затем обрезают. Углы в листах ВО можно срезать также ножницами электрическими ножевыми или вырубными. Делают это так. На листе ВО карандашом чертят линию среза и ножницами отрезают угол, следя за тем, чтобы разметочная линия отреза оставалась нетронутой. Прорезь в листе делается за счет отрезаемого угла. Длина и ширина листов ВО могут отличаться от номинальных размеров в пределах допусков, поэтому взаимное расположение листов с обрезанными углами может быть различным. Чтобы угловые срезы плотно прилегали один к другому, их при необходимости подгоняют шерхебелем или рашпилем в процессе укладки.
Покрытие волнистыми листами полагается неплотное, так как листы в местах сопряжений криволинейных поверхностей образуют серповидные зазоры, через которые в чердачное помещение проникает снег или дождевая вода. Чтобы этого не было, зазоры, превышающие 7 мм, в местах соединений промазывают мастикой УМС-50 или холодной сметано-образной мастикой Михайлевского. Состав мастики Михайлевского, % по массе: вяжущее вещество (битум марки БН-90/10) — 4; растворитель (соляровое масло) — 28; наполнитель (известь-пушонка) — 12; волокнистый наполнитель — 13. Мастику наносят на перекрываемые полосы деревянным шпателем. Толщина слоя мастики 5...6 мм, ширина в поперечных соединениях — 30...40, в продольных — 60...70 мм.
Очередной лист, укладываемый в ряд, своей продольной кромкой должен накрывать волну ранее уложенного листа. Его нижняя волнистая сторона должна вплотную подойти к натянутому шнуру, а угловой срез — сомкнуться с таким же срезом на смежном листе. После этого на гребне второй волны у нижнего края листа, над бруском обрешетки, сверлят отверстие. Гвоздь с надвинутой на него резиновой шайбой, обмазанной с обеих сторон густым окрасочным составом на натуральной олифе, вставляют в отверстие на гребне волны и ударами молотка забивают в брусок. Гвоздь перестают забивать, когда из-под шайбы выступит излишек окрасочного состава. Этим составом пришпатлевывают головку гвоздя и шайбу, которые после высыхания окрашивают масляным окрасочным составом под цвет уложенных листов. Качество покрытия и быстрота его устройства во многом зависят от организации кровельных работ (рис. 104).
Рис. 104. Рабочее место звена укладчиков кровли: 1 - уравнительная планка; 2 - возок с запасом волнистых листов; 3 - коньковый брусок; 4 - укладываемый волнистый лист; 5 - ходовой мостик; 6 - приконьковый брусок обрешетки; 7 - электрическая сверлильная машина; 8 - брусок обрешетки; 9 - стропильная нога
На крышу материалы с помощью различных подъемников доставляют в контейнерах, поддонах (рис. 105, а) или на инвентарных сборно-разборных площадках (рис. 105, б).
Рис. 105. Поддон (а) и инвентарная сборно-разборная площадка (б) для подачи и приема волнистых листов
Началом устройства кровель из металлочерепицы является замер скатов с установлением перпендикулярности торцов крыши по отношению к линиям конька и карнизов. Обрешетку под листы металлочерепицы выполняют из досок сечением 32х100 мм с расстоянием между ребрами 350 мм, т.е равными размерами между ребрами металлочерепицы. Если размер поперечных ребер металлочерепицы иной, например 400 мм, то и обрешетку устраивают соответственно. На карнизах расстояние от наружного края карнизной доски — 300 мм (рис. 144).

Рис. 144. Разметка укладки листов металлочерепицы: а - места нахлестов; б - установка самонарезающихся винтов
Доски на торцевых участках и доски ребристой обшивки, выходящие на карнизы, должны быть расположены выше других досок. Края листов металлочерепицы должны быть закрыты сплошной обшивкой досками для их прочного закрепления. Монтаж листов металлочерепицы начинают с торцевых участков. Сначала у края карниза следует закрепить направляющую доску. От нее будет направляющая линия. Целесообразно вначале 3—4 листа закрепить одним шурупом на коньке, выровнять по карнизу, затем закрепить окончательно: сначала первый лист прикрепить у конька, затем второй лист. Скрепить нахлест шурупом по верху волны. Канавка на крае каждого листа должна быть закрыта соседним листом. Край с канавкой каждого следующего листа укладывают под ранее уложенный, предыдущий закрепленный лист, который удерживает монтируемый лист (если монтаж начать с левого торца). Для закрепления листов металлочерепицы к обрешетке можно использовать самозавинчивающиеся болты А4 9х27 с уплотнениями или самонарезающиеся шурупы с уплотнительной шайбой (6 шурупов на 1 м2). Отверстия для болтов просверлить дрелью. Болты следует устанавливать перпендикулярно к листам на каждую вторую гофрированную складку, на дно канавки и на нижнюю сторону поперечной складки
Все дальнейшие нахлестки выполняют у поперечной границы листа. Длина нахлестки составляет примерно 250 мм. Места нахлеста закрепляют на болтах или шурупах. Конек закрывают специальными коньковыми элементами с уплотнением. Они имеют полуцилиндрическую форму и хорошо укладываются на верхние концы профильных листов металлочерепицы (рис. 145). Торцевые элементы закрывают кровлю от попадания дождя и ветра.

Рис. 145. Схема расположения конькового элемента
Карнизные элементы защищают карниз и обрешетку от отекания с крыши воды (рис. 146).

Рис. 146. Схема расположения карнизного элемента
Для исключения образования конденсата на холодной внутренней поверхности металлочерепицы следует создать условия для вентиляции под кровлей от карниза до конька, а под обрешеткой разместить рулонный материал (рис. 147).
Рис. 147. Конструкция крыши с кровлей из металлочерепицы: 1 - обрешетка; 2 - гидроизоляционный материал; 3 - металлочерепица; 4 - направление движения воздуха
Ендову кровли из металлочерепицы выполняют с помощью специального разжелобочного элемента. На обшивку, находящуюся внизу, монтируют промежуточную конструкцию. На эту конструкцию прикрепляют на болтах разжелобочный элемент (рис. 148).
Рис. 148. Монтаж разжелобка: 1 - промежуточная конструкция; 2 - разжелобочный элемент
Зазоры между металлочерепицей и разжелобочным элементом, а также под коньком во всех местах, где есть неплотности и зазоры, герметизируют с использованием любого силиконового и другого отверждающегося герметика, или с применением специальных уплотнительных лент, прибиваемых к профилю небольшими гвоздями. При обрезке листа или при сверлении образовавшуюся металлическую крошку необходимо смести, чтобы не испортить покрытие. Во время монтажа следует ходить в обуви с мягкой подошвой и наступать только в местах обрешетки и в прогиб волны.
Крепления листов болтами или шурупами выполняют в соответствии со схемами. Для выхода на крышу в листах металлочерепицы имеется элемент с отверстием, выполненный из стеклопластика, внешний вид и рисунок которого такой же, как и у листа металлочерепицы. Для устройства кровли из металлочерепицы требуется 30 различных комплектующих изделий. Кроме того, необходима лестница для подъема на крышу, переходные мостки, лестница на крыше, водосточные трубы, крюки под желоба. Листы металлочерепицы поставляют по размерам. Длина листа каждого типа должна быть равной длине ската плюс карниз (рис 149). Для обеспечения полного монтажа и надежности кровли заводы поставляют на объект большое разнообразие комплектующих элементов, таких как конек прямоугольный; конек полуцилиндрический, торцевой элемент конька, торцевые элементы карнизов, наружных и внутренних углов, конструкции листов для выхода на крышу и др. (рис. 150).
Рис. 149. Укладка листа металлочерепицы
Рис. 150. Основные конструктивные доборные элементы для кровли из метеллочерепицы: а - коньковый элемент; б - коньковый элемент с полукруглым профилем; в - торцевой элемент конька; г - торцевой элемент к рядовым листам; д - карнизный элемент; е - элемент ендовы
Устройство кровли из листовой стали.
Лежачие и стоячие фальцы. Для рядового покрытия скатов крыши, карнизных свесов, настенных желобов, разжелобков и т. д. изготовляют картины. Картина — это элемент кровельного покрытия, у которого кромки подготовлены для фальцевого соединения. Обычно их делают составными из двух листов (85...90%), реже одинарными (10...15%) для добавок в рядовых полосах. Кровельная листовая сталь для заготовки картин должна иметь ровные плоскости; все углы должны быть прямыми. Заготовку фальцевых соединений кровельщик выполняет на верстаке, щит которого окантован с одной или двух сторон угловой сталью. Фальцевые соединения по внешнему виду делят на лежачие (рис. 167, а...г) и стоячие (рис. 167, д...и), а по степени уплотнения — на одинарные и двойные. (Размеры фальцев даны для листов толщиной 0,45...0,7 мм. Для более толстых листов отгибы увеличивают на 20%.)
Рис. 167. Последовательность формирования фальцевых соединений: а - отгиб кромки для одинарного лежачего фальца; б - соединение листов одинарным лежачим фальцем (пунктиром показан лист с подсечкой); в - отгиб кромки для двойного лежачего фальца; г - соединение листов двойным лежачим фальцем; д - отгибы в листах кромок для одинарного стоячего фальца; е - соединения листов одинарным стоячим фальцем (гребнем); ж - отгибы в листах кромок для двойного стоячего фальца; з - промежуточный отгиб для двойного стоячего фальца; и - законченное соединение листов двойным стоячим фальцем (гребнем)
Картины для рядового покрытия. Скаты кровель покрывают полосами, которые составляют из последовательно соединенных картин. Для покрытия крыши требуется 85...90% двойных картин и 10...15% одинарных, необходимых для дополнений в полосах. Заготавливают картины на верстаке. На короткой стороне листа отгибают кромку шириной 10 мм (рис. 181) для лежачего фальца, затем лист переворачивают и отгибают вторую кромку. После этого на коротких сторонах листа кромки окажутся отогнутыми в разные стороны. Обработанные таким образом листы соединяют попарно в картины. Фальцы уплотняют деревянным молотком.
Рис. 181. Двойная картина для рядового покрытия
Далее у соединенных таким образом листов отгибают кромки для образования стоячих фальцев (гребней) сначала по одной (длинной) стороне картины, затем по другой (противоположной). В картине отгибают продольные кромки под углом 90°. Сначала отгибают малый гребень (левый) высотой 20...25 мм, затем на противоположной стороне картины в том же направлении делают большой (правый) отгиб для стоячего фальца высотой 40...45 мм. В углах картины на длине около 70 мм кромки обоих стоячих фальцев не отгибают, чтобы не смять загнутые на коротких сторонах лежачие фальцы.
Элементы карнизного свеса. При заготовке элементов для карнизных свесов исходят из уклона настенных желобов. Для средних и северных районов России наилучшим является уклон настенных желобов 1:20, а для южных районов, где часто выпадают обильные дожди — 1:10. Рассмотрим последовательность заготовки картин карнизного свеса (рис. 182) для наиболее часто встречающегося случая, когда расстояние между водоприемными воронками равно 12 м, а уклон — 1:20.

Рис. 182. Раскрой заготовок (1...5) для покрытия карнизного свеса
На дощатом настиле вдоль натянутого шнура раскладывают семь листов кровельной стали. Листы должны перекрывать друг друга на припуск для последующего отгиба кромок лежачего фальца. Для образования свеса кровли с карниза (с вылетом 120 мм) и капельника с отворотной губкой от нижней продольной кромки уложенных листов откладывают отрезок ав, равный 200 мм, а затем отрезок бв = Ai, где А — расстояние между воронкой и водоразделом, равное 6 м (или 6000 мм); i — уклон с соотношением 1:20, т. е. бв = 6*1000*1/20 = 600*1/2 = 300 мм.
Для перекрытия верхней кромки карнизного свеса водосточными желобами откладывают отрезок в, г равный 150 мм. Вдоль нижней кромки листов из точки а откладывают отрезок ад, равный половине пролета между водоприемными воронками. Затем на вертикальном отрезке, восстановленном из точки д, откладывают отрезки д и еж, равные соответственно 200 и 150 мм. После этого с помощью шнура отбивают линию ве. Тем же шнуром отбивают вторую линию, пересекающую все листы по диагонали (через точки г, ж). Наконец, из точки л откладывают отрезок кл, равный дж. Как и в предыдущем случае, из точки к откладывают половину пролета км, равную 6000 мм, и припуски на поперечные фальцы.
Заготовки картин размечают, проставляя на них масляной краской цифры 1...5. После этого уложенную полосу листов разрезают в продольном (по линии ги) и в трех поперечных направлениях: слева от прямой кл и справа от прямых жд и ми. Заштрихованные на рисунке участки обрезают и используют для изготовления деталей водоприемных воронок и кляммер.

Рис. 183. Одинарная картина покрытия карнизного свеса: а - готовая картина (штрихпунктиром показан контур заготовки); б - последовательность гибки капельника; 1...5 - последовательность операций.
Затем при ручной заготовке картин их укладывают на верстак и выполняют киянкой гибку. Обрезав нижние углы всех заготовок на 35...45° для уменьшения толщины фальцев в местах стыкования, приступают к гибке капельников с отворотными губками (рис. 183, а, узел II). Последовательность гибки капельника показана на рис. 183, б. В картине отгибают губку на длинной стороне заготовки с угловыми вырезами, а затем боковые отвороты на коротких сторонах картины для соединения со смежными картинами двойными лежачими фальцами. Стрелки на рис. 183, б показывают направления ударов киянки при гибке. Отвороты в картинах для их соединения на карнизе в общую полосу отгибают, как показано на рис. 183, а. Таким образом, все фальцевые соединения на участке карниза между воронками будут направлены от водораздела в разные стороны (по стоку воды).
Скаты крыш (сначала противоположные фасадным, затем фасадные) покрывают после устройства карнизных свесов и настенных желобов. В зависимости от формы крыши рядовое покрытие (рис. 202, а, б) укладывают в разной последовательности: на фронтонных крышах первую полосу располагают вдоль фронтона или брандмауэра; при вальмовых, полувальмовых и многощипцовых — от начала коньков. Как правило, картины в рядах раскладывают в направлении от желоба к коньку. Кромки в стоячих фальцах 3 в пределах одного ската кровли загибают в одну сторону. К первой картине первой рядовой полосы 1 укладывают вторую, которую зацепляют отгибом предыдущей, и т. д. Картины соединяют между собой лежачими 2 фальцами, при уплотнении которых в качестве подкладки используют стальную полосу размером 5х60 мм. В готовой полосе в местах стыкования картин выпрямляют кромки для стоячих фальцев 3. Все рядовые полосы покрываемого ската перепускают через конек с таким расчетом, чтобы после обрезки можно было отогнуть коньковую кромку на одном скате высотой 30 мм, на другом — 50 мм. Стоячие фальцы 3 рядового покрытия, выходящие на конек крыши и к ребрам, сваливают в сторону малого отгиба на длину 80...100 мм. Для реберного соединения делают припуски, как и для конькового стоячего фальца 4 (рис. 202, в).

Обратите внимание на лекцию "4 Проверка соответствия принятых проектных решений условиям строительства, указанным в задании на проектирование".
Рис. 202. Рядовое покрытие ската: а - укладка рядовых полос; б - поперечное примыкание ската к стене; в - коньковый стоячий фальц; г - крепление фронтонного края рядовой полосы; 1 - картина в рядовой полосе; 2, 3 - одинарные лежачий и стоячий фальцы; 4 - коньковый стоячий фальц; 5 - доска; 6 - брусок; 7 - фартук; 8 - закладной брусок; 9 - толевый гвоздь; 10 - цементно-песчаный раствор; 11 - фронтонная кляммера; 12 - кровельный гвоздь
Укрепив полосу гвоздем за малый отгиб, у досок 5 конька с помощью шнура выверяют ее положение. Затем укрепляют рядовую полосу вдоль малого отгиба, плотно подтягивая ее к обрешетке кляммерами. Кляммеры ставят из расчета не менее двух на каждую сторону листа (примерно через 600 мм), прибивают гвоздями 12 (3,5х45 мм) к боковым граням брусков 6 обрешетки и загибают их на кромку малого отгиба. Если кляммера совпадает с лежачим фальцем в рядовой полосе, ее перемещают на другую сторону бруска. Смежные рядовые полосы на скате располагают так, чтобы взаимное смещение лежачих фальцев в картинах в пределах одного ската кровли и взаимное смещение стоячих фальцев на противоположном скате кровли были не менее 50 мм (рис. 202, а). Достигается это подрезкой на 50 мм каждой четной полосы у конька и обрезкой первой рядовой полосы смежного ската в продольном направлении. При обрезке четных полос следят за тем, чтобы лежачие фальцы в полосе не попадали в отгибаемые кромки конькового стоячего фальца.
Вторую рядовую полосу собирают, как первую, затем ее пододвигают стороной с большим отгибом к малому отгибу первой полосы. Малый отгиб второй полосы крепят к обрешетке кляммерами, после чего приступают к соединению полос стоячим фальцем. Иногда рядовые полосы соединяют только у кляммер, а к окончательному их соединению возвращаются после того, как полосами будет покрыт весь скат. Рядовые полосы соединяют одинарным стоячим фальцем с помощью гребнегиба и киянки (см. рис. 169). Для этого кровельщик становится так, чтобы видеть весь загибаемый фальц, и движется в направлении от карниза к коньку. Гибочный скребок гребнегиба подводят вплотную к большому отгибу; в это время малый отгиб должен быть на одном уровне со скребком. Затем кровельщик сваливает киянкой кромку большого отгиба на плоскость скребка при одновременной и плавной перестановке гребнегиба вдоль фальца и, продвигаясь вперед, ударами киянки наклоняют кромку большого отворота из горизонтального положения книзу. После этого переставляет гребнегиб на смежную рядовую полосу так, чтобы брусок гребнегиба упирался в тыльную грань фальца. Потом начинает уплотнять его, двигаясь снова вдоль фальца и нанося киянкой равномерные удары по уплотняемой кромке, одновременно переставляя гребнегиб. При каждой выполняемой операции гребнегиб передвигают рукой вдоль фальца. Иногда по описанной технологии одинарный лежачий фальц формируют за один проход. Кроме приведенного способа при отсутствии гребнегиба и киянки картины соединяют другими простыми способами: двумя кровельными молотками и с помощью молотка и бруса-отворотки (рис. 203).
Рис. 203. Соединение картин стоячим фальцем с помощью кровельных молотков (а) или молотка и бруса-отворотки (б)
В первом случае (рис. 203, а) один молоток используют сначала как скребок гребнегиба, а вторым молотком-ручником сваливают фальц. Затем ручник используется как брусок гребнегиба (упор), а вторым молотком уплотняют фальц. Во втором случае (рис. 203, б) брус-отворотку подставляют к фальцу, молотком сваливают его на скребковую часть. Затем брус-отворотку переставляют так, чтобы брусок упирался в тыльную часть фальца. Молотком кровельщик уплотняет фальц, равномерно ударяя по отогнутой кромке фальца. В последнее время начали применять гребнегибочные машины и приспособления-гребнегибы новых конструкций, позволяющие выполнять эту работу без кровельных молотков.
Рекомендуемые лекции
- 3 Стратегическое взаимодействие крупных фирм на рынке
- 4 Проверка соответствия принятых проектных решений условиям строительства, указанным в задании на проектирование
- 6 Методология комплексного экономического анализа основных показателей хозяйственной деятельности
- 13 Библия в России
- 15 Характеристика природы тайги





















