Токи коррозии
3. Токи коррозии
3.1. Задачи коррозионных исследований
Выявление токов коррозии, определение их интенсивности и зоны действия относится к предпроектным работам, которые должны обеспечить инженера-проектировщика исходными данными, определяющими объем и содержание проекта защиты, а также очередность выполнения антикоррозионных мероприятий.
Объем коррозионных исследований планируют исходя из требований нормативной документации и особенностей объекта в зависимости от характера металлического сооружения и условий его эксплуатации.
Основная цель коррозионных исследований - определение степени агрессивности окружающей среды.
Фактический объем изыскательских работ определяет проектная организация. Основные виды работ обсуждены ниже.
3.2. Определение агрессивности грунта
В соответствии с действующими стандартами одним из критериев коррозионной опасности для стальных подземных металлических сооружений является коррозионная агрессивность среды, которую определяют два показателя:
1) удельное электрическое сопротивление грунта по трассе трубопровода ( r );
2) удельное катодное поляризационное сопротивление ( Pк ), определяемое по плотности тока поляризации образца-свидетеля в условиях, близких к условиям трассы трубопровода.
Роль этих показателей как критериев коррозионной опасности станет очевидной, если рассмотреть формулы (2.5) и (2.6), которые в совокупности дают
Рекомендуемые материалы
I = E / R; (3.1)
R = Rз + Rк + Rа,
где I - ток коррозии, Е - э.д.с. коррозионной гальванопары, R - полное сопротивление току коррозии.
Первая составляющая Rз есть “земляной” участок цепи гальванического элемента. Она однозначно определяется величиной удельного электрического сопротивления грунта (r ) как обыкновенная омическая составляющая электрической цепи. Здесь очевидно, что чем меньше r и, следовательно, меньше Rз , тем больше ток коррозии.
Второй участок цепи R образует катодное поляризационное сопротивление Rк. Этот участок контролируетcя удельным катодным поляризационным сопротивлением сооружения ( Рк ), покольку Rк. = Pк / Sк, где Sк - площадь катодных участков. Здесь справедливо аналогичное правило: чем меньше Рк , тем больше ток коррозии.
Третий участок - анодное поляризационное сопротивление Rа - подобен катодному (Rк ), но техническими нормами как критерий коррозионной опасности не рассматривается, хотя этот параметр также управляет величиной тока коррозии.
Не учтена нормами также и величина э.д.с. ( Е ) гальванопары в связи с отсутствием надежных экспериментальных способов ее контроля.
3.2.1. Измерения удельного электрического сопротивления грунта
Измерения удельного электрического сопротивления грунта (r ) в полевых условиях выполняют с помощью четырехэлектродной установки по схеме рис.3.1.
Метод построен на использовании известной формулы для вычисления потенциала в поле точечного источника тока в полупространстве, например, короткого стержня-заземлителя, расположенного у поверхности земли
j = Ir / (2pr) , (3.2)
где j - потенциал в исследуемой точке земли, В; I - ток точечного источника, А; r - расстояние от источника до исследуемой точки, м; r - удельное электрическое сопротивление грунта, Ом.м.


Обычно измеряют непосредственно величину R, для чего используют не амперметр и вольтметр, как условно показано на схеме, а логометр - прибор, измеряющий отношение двух электрических величин. Источником тока может служить батарея из сухих элементов или генератор переменного тока с ручным приводом.
Расчет справедлив для однородного грунта. Речь может идти лишь о среднем значении r в районе измерительной установки. Анализ показывает, что измеренное r характеризует слой земли между потенциальными электродами M и N глубиной равной примерно AB / 2 (см.закрашенную область рис.3.1).
Коррозионная агрессивность грунта по ГОСТ 9.602-89 определяется по графе 2 табл.3.1: чем меньше удельное сопротивление грунта, тем он агрессивнее.
3.2.2. Определение агрессивности грунта по плотности
тока поляризации
Данный метод относится к альтернативным методам оценки. При использовании этого метода фактически измеряется катодное поляризационное сопротивление Rк = Pк / S стального образца площадью S в грунте, взятом с трассы трубопровода. Как отмечено выше, чем меньше удельное поляризационное сопротивление ( Рк ), тем больше ток коррозии гальванопары.
Стальной образец помещают в ячейку с грунтом и катодно поляризуют в течение заданного интервала времени (10-40 мин.), поддерживая катодное смещение потенциала на уровне DUк = -100 мВ = const, после чего фиксируют среднюю плотность тока катодной поляризации j и оценивают коррозионную агрессивность по графе 3 табл.3.1.
Таблица 3.1
| Коррозионная агрессивность | Удельное сопротивление, r, Омм | Плотность тока, j , мА/м2 |
| Низкая | Свыше 50 | До 0,05 |
| Средняя | От 20 до 50 | От 0,05 до 0,2 |
| Высокая | До 20 | Свыше 0,2 |
Удельное катодное поляризационное сопротивление при необходимости вычисляют по формуле
Рк = DUк / j. (3.5)
Как следует из таблицы, при Рк £ 0,5 Ом.м2 грунт считается высокоагрессивным, а при Рк ³ 2 Ом.м2 - неагрессивным, т.е. чем меньше Рк, тем агрессивнее грунт.
3.3. Полевые исследования работы коррозионных
макропар
3.3.1. Метод градиента потенциала
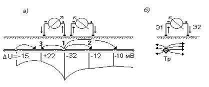
Местоположение анодов протяженных коррозионных макропар на трубопроводах в ряде случаев легко обнаруживается с поверхности земли. На рис.3.2 продемонстрированы для этой цели возможности метода градиента потенциала.
Два измерительных электрода (устройство таких электродов описано ниже) перемещают по трассе трубопровода (а) или поперек ее (б) с некоторым постоянным шагом. При отсутствии каких-либо токов в земле и равенстве собственных потенциалов электродов (в худшем случае собственные потенциалы электродов различаются на 1...2 мВ, что можно учесть в результатах измерения как систематическую ошибку) милливольтметр покажет нуль напряжения, т.е. DU= 0.
Прежде чем заняться анализом представленной на рис.3.2 эпюры потенциалов, необходимо воспользоваться следующими замечаниями.
Для измерений берут милливольтметр, имеющий шкалу с нулем посредине или цифровой прибор. Обычно у стрелочного измерительного прибора “плюсовая” клемма расположена на корпусе справа. Поэтому отклонение стрелки измерительного прибора вправо от нуля, т.е. в сторону зажима “+”, фиксирует положительное значение измеряемой величины (DU > 0), означающее, что потенциал на зажиме “+” больше, чем на зажиме “-” и ток в измерительном приборе протекает, как и положено, от большего к меньшему, т.е. от “плюса” к “минусу”. Следовательно, и в земле направление такое же: от “плюсового” электрода к “минусовому”.
Пусть в результате измерений оказалось, что установка слева на рис.3.2,а фиксирует DU > 0, т.е. стрелка отклонилась вправо и, следовательно, электрод, подключенный к зажиму “+”, имеет более положительный потенциал, чем электрод, подключенный к зажиму “-”. Отсюда следует, что между электродами в земле существует ток, направленный от точки 1 к точке 3.

Рис.3.2. Определение местоположения анода коррозионной макропары методом градиента потенциала.
И, наоборот, пусть установка справа на рис.3.2,а фиксирует DU < 0. Здесь ток в земле уже направлен слева направо, от точки 1 к точке 2.
Но изменение направления тока в земле, а это в нашем примере имеет место в точке 1, может быть зафиксировано в реальной ситуации только в том случае, если между левой и правой измерительными установками “фонтанирует” ток некоего источника. Если других предположений нет, то этим источником будет трубопровод, а центр “фонтана” (точка 1) есть центр анода гальванической макропары, как это и показано на рис.3.2,а.
3.3.2. Метод выносного электрода.
Как известно из предыдущего, анод - более электроотрицательный электрод. Поэтому первым признаком присутствия анода гальванопары в данной точке трубопровода служит ее более электроотрицательный потенциал относительно соседней точки.
Рассмотрим эту ситуацию несколько подробнее. Но прежде определимся с одним из часто используемых в практике терминов - стационарным потенциалом металлического сооружения. Будем называть стационарным потенциалом трубопровода - разность потенциалов “труба-земля” при отсутствии поля токов внешних источников.
Стационарный потенциал реального металлического сооружения - не очень строгий термин из электрохимического лексикона. В общем случае это есть разность потенциалов
Uст = j т - j з , (3.6)
где Uст - стационарный потенциал трубопровода; jт - потенциал тела трубопровода относительно бесконечно удаленной точки земли, т.е. относительно той точки, где полем токов коррозии можно пренебречь;jз - потенциал земли вблизи трубопровода, также отсчитанный относительно “далекой” земли и вызванный токами коррозии.
В электрохимии чаще говорят о стационарном потенциале металла jст как потенциале обособленного электрода малого размера.
При измерении стационарного потенциала трубопровода “плюс” вольтметра подключают к трубе, “минус” - к измерительному электроду, который располагают возможно ближе к трубопроводу.


Метод выносного электрода , представленный на рис.3.3, предполагает, что передвижной измерительный электрод находится на поверхности земли и для анализа протяженной гальванопары его перемещают с небольшим шагом (10...20 м) вдоль трассы трубопровода, соединив ”+” прибора с ближайшей доступной точкой трубопровода. Докажем, что наиболее отрицательному значению стационарного потенциала Uст соответствует центр анода.
Пусть, например, в трех соседних точках трубопровода измерены стационарные потенциалы Uст.1 , Uст.2, Uст.3, причем
Uст.1 > Uст.2 < Uст.3 .
В соответствии с формулой (3.6) и принятым условием должно быть
j т1 - j з1 > j т2 - j з2 < j т3 - j з3 .
Поскольку эти точки расположены недалеко друг от друга, то можно допустить
j т1 = j т2 = j т3,
т.е. можно пренебречь падением потенциала в теле трубопровода (это допущение легко доказывается, если учесть, что удельное продольное сопротивление трубопровода чрезвычайно мало и составляет 10-4...10-5 Ом/м). Отсюда, сокращая все j т и меняя знаки неравенства на противоположные, получим
j з1 < j з2 > j з3.
Это означает, что
- ток в земле направлен от точки 2 к точкам 1 и 3;
- вблизи точки 2 находится “фонтан” тока, т.е. анод, а в точках 1 и 3 - катоды.
Таким образом, коррозионно опасными точками вдоль трубопровода являются точки с более электроотрицательной разностью потенциалов труба-земля, если рядом имеются точки с более положительным потенциалом.
3.5. Численный анализ работы коррозионной макропары
Ниже использован метод расчета, представленный в нашей книге, и реализованный в одной из программ комплекса АРМ ЭХЗ-6П.
Решается система уравнений N-го порядка, где N – число узлов дикретизации. Эту систему для анализа удобнее представить в виде двух матричных уравнений
(BA - E)j = -Bjcт ;
Rизj + jcт = U, (3.10)
где j - искомый вектор плотности тока трубопровода; Rиз - вектор удельного сопротивления изоляции; В,A - матрицы, определяющие параметры трубопровода, его конфигурацию, взаимовлияния участков и связи между N узлами дискретизации; E - единичная матрица; jcт - электродные (стационарные) потенциалы каждого из отрезков дискретизации; U - вектор измеренных значений разности потенциалов труба-земля.
При плохой и удовлетворительной изоляции коэффициент пористости обычно более sпор>0,05, а для очень плохой - sпор < 0,2.
После решения задачи (3.10) действительную плотность тока и скорость коррозии вычисляют по формулам
jкор = j / (pdsпор) ; (3.11)
v = 1,18 jкор,
где jкор - действительная плотность тока коррозии в порах покрытия, А/м2; j - расчетная плотность тока на единице длины трубопровода, А/м; d - диаметр трубопровода, м; v - скорость коррозионного проникновения, мм/год (см.формулу (2.9)).
На рис.3.5 приведены искомые зависимости скорости коррозии ( v ) от удельного сопротивления грунта (r ) для достаточно мощных макропар различной протяженности. При этом за длину макропары ( L ) принята длина участка трубопровода между двумя катодами и одним анодом между ними, например, как это показано на рис.3.3, а величина DU есть предельное изменение потенциала вдоль оси трубопровода, т.е. DU = Umax - Umin , где Umax, Umin - предельные значения измеренной разности потенциалов труба-земля на исследуемом участке.
Из графиков, представленных на рис.3.6, следует, что скорость коррозии, вызываемая токами гальванопары, практически линейно зависит от удельной электропроводимости грунта (1 /r ) и изменения потенциала по трассе трубопровода ( DU ). Такая особенность позволяет построить простейшие эмпирические формулы.
Если Вам понравилась эта лекция, то понравится и эта - 8 Методика исчисления себестоимости продукции других отраслей животноводства.
Прочие результаты расчета показали, что мощная макропара при DU > 0,3 В может быть только при очень плохой изоляции, т.е. с Rиз < 10 Ом.м. При Rиз > 150 Ом.м. следует ожидать DU <0,05 В. Поэтому, как косвенный результат расчета, следует отметить: чем больше градиент потенциала DU, тем хуже изоляция трубопровода.
Если для оценки скорости коррозии ориентироваться на значения DU = 0,2 ± 0,05 В и L = 50 ±20 м, встречаемые на практике, то можно ожидать при r = 20 Ом.м коррозию со скоростью v = 0,15...0,2 мм/год. Для сравнения отметим, что коррозия в однородной среде (при отсутствии макропар) имеет скорость на порядок ниже, а именно v = 0,01...0,05 мм/год, что считают безопасным.


При DU<0,05 В коррозионной гальванопары практически нет.


Использование компьютерных программ комплекса ЭХЗ-5П сводится к диалогу при вводе данных, где требуется назвать все упомянутые выше параметры, а также такие как глубина заложения трубопровода, относительные координаты узлов дискретизации и ряд других, обычно известных для рассматриваемого участка сети. Значение удельного сопротивления изоляции Rиз задается приближенно и затем автоматически уточняется.



















