Общее устройство и рабочий процесс центробежных молокоочистителей и сепараторов-сливкоотделителей
21. Общее устройство и рабочий процесс центробежных молокоочистителей и сепараторов-сливкоотделителей.
Для фермских молочных выпускается молокоочиститель-охладитель ОМА-1А и сепараторы-сливкоотделители Ж-5-ОСБ, СПМФ-2000 и ОСП-3М.
Очистители-охладители ОМ-1А предназначен для центробежной очистки молока от различных загрязняющих примесей, неизбежных в процессе доения и предварительного охлаждения очищенного молока естественным холодом воды, взятой из подземных источников (до t-13÷150С) ОМА-1А устанавливается непосредственно в линию доильных установок имеющих молокопровод, после молочного насоса НМУ-6, выкачивающего молоко из воздухоотделительного баллона доильной установки.


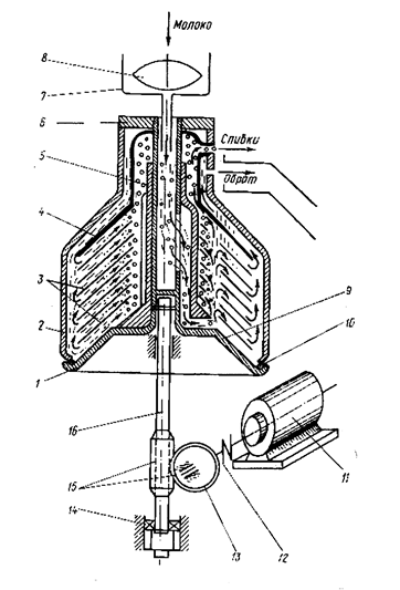
Барабан очистителя вращается со скоростью около 8000 об./мин. Приводится в движение от электродвигателя мощностью 1,5 кВт, через фрикционную муфту и червячную передачу (на схеме не показаны). Молоко дозировано, через дроссель молочного насоса поступает в приемную трубку 8. Отсюда перемещается под тарелкодержатель 9 и под давлением выходит на периферию барабана. Поскольку в этой зоне расстояние от центра вращения значительно, на молоко действует центробежная сила, и примеси, имеющие удельную массу большую, чем молоко, этой силой из объема молока вырываются и отбрасываются в направлении грязевого объема 10, где и накапливаются в виде так называемой сепарационной слизи. Очищенное таким образом молоко, под давление вновь поступающего в барабан, проходит в зазоры между конусными тарелками, подходит к напорному диску 11 и выводится из барабана. Далее молоко поступает на охлаждение.
Информация в лекции "Протокол межсетевого взаимодействия IP" поможет Вам.
Отличительной особенностью ОМ-1А от ОМ-1 является наличие под напорным диском специального запорного устройства, которое поддерживает барабан в постоянно заполненном состоянии, вне зависимости есть подачи молока в этот промежуток времени от доильной установки или нет. Очиститель ОМА-1, не имеющий такого устройства в систему доильной установки может устанавливаться только через накопительную буферную емкость, для того, что бы подача молока в очиститель была постоянной и непрерывной.
За один цикл работы ОМ-1А может очистить 2500 кг молока. После этого барабан подлежит разборке и очистке. В процессе эксплуатации необходимо постоянно контролировать степень динамической балансированности барабана. При наличии дебалансирующих масс (загрязнений), неправильной или некомплектной сборки, обязательно возникают значительные биения барабана, что может привести к аварии сепараторов.
Процесс сепараторов-сливкоотделителей совершенно аналогичен процессу молокоочистителей, т.е. и в процессе очистки молока есть явления собственно сепарирования.
Сепарирование молока – это процесс разделения его на две фракции – сливки и обезжиренное молоко (обрат). Сливки – совокупность жировых шариков молока, имеет удельную массу значительно меньшую, чем обрат. Поэтому выведенные в периферическую зону вращающегося барабана (рис.2) жировые шарики стремятся к центру вращения, двигаясь между конусными тарелками барабана, а обрат отбрасывется на периферию барабана. Под давлением поступающего в барабан молока сливки и обрат поднимаются вверх и выводятся из барабана раздельно, так как их соединению мешает специальная разделительная тарелка 4.


Отличием между очистителем и сепаратором является меньшее расстояние между конусными тарелками. У очистителя они составляют 0,8÷1,0 мм, у сепараторов-сливкоотделителей – 0,4 мм. Содержание остаточного жира в обрате для сепараторов Ж-5-ОСБ, СПМФ-2000 – 0,04 %, для ОСП-3М-0,03 %.























