Приборы для измерения мехвеличин
Б 2.7 Приборы для измерения мехвеличин
Сейчас мы с Вами рассмотрим еще один из типов приборов. Это приборы для измерения мехвеличины. Это приборы, а вернее датчики реле уровня жидкости (ДРУ1) в гидроамортизаторе, которые применяются непосредственно в реакторном отделении на системах УВ10, 20, 30, 40 (ПГ), УД10, 20, 30, 40 (ГЦН), УР20 - конденсатор объема, УР10 - конденсатор деаэратор. Всего их у вас в наличии 62 шт.
Принцип работы основан: при изменении положения технологического трубопровода, установки изменяет уровень жидкости в гидроамортизаторе. Далее с помощью дифманометрического датчика (ДУП) сигнал передается в схему сигнализации.

Рис. 26. Принципиальная схема электромагнитного газоанализатора.
Перейдем к следующему устройству, это устройство относительного расширения ротора (УК ОРР), предназначено для измерения и регистрации на диаграммной ленте величины расширения ротора, относительно корпуса турбины, сигнализации о достижении предельных значений расширения и выдачи нормированного сигнала 0-5 мА постоянного тока.
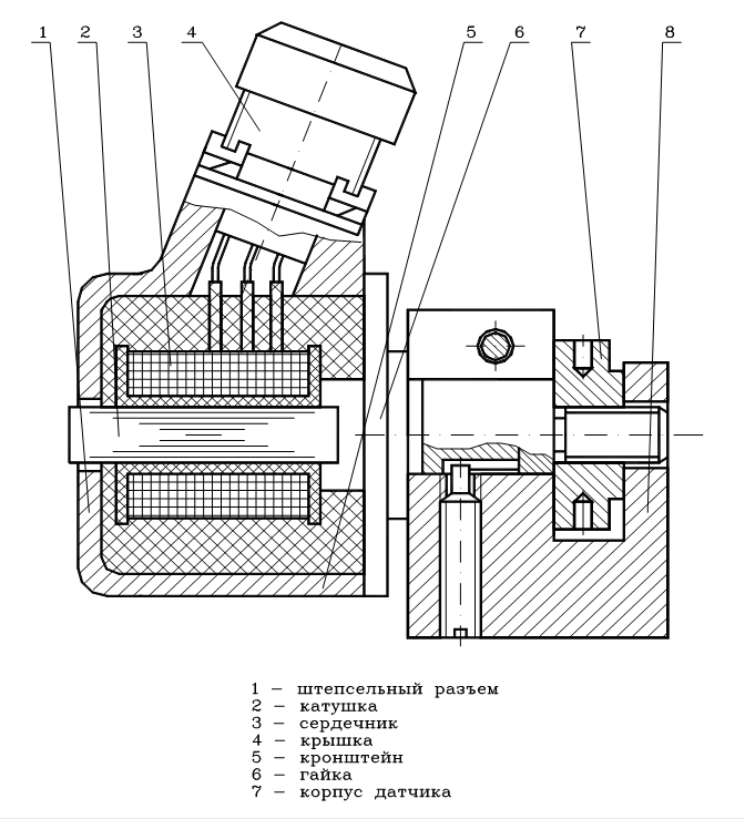
УК ОРР работает в комплекте с датчиком ОРР (рис. 27), который предназначен для преобразования осевого перемещения гребня ротора в изменение электрического сигнала. Датчик устанавливается в картере опорного подшипника, предназначен для работы при температуре до плюс 80оС и защищен от воздействия паров турбинного масла.
Вторичный прибор КСД1-049 (рис. 28), предназначен для отсчета по шкале, регистрации на диаграммной ленте, сигнализации предельных значений относительно расширения ротора, а также выдачи нормированного сигнала постоянного тока 0-5 мА. Шкала прибора отградуирована в зависимости от установки УК ООР (ЦВД - 5-0-5 + мм) и (ЦНД-3 -0-45 + мм) - рис. 26.
Рекомендуемые материалы
Устройство и работа прибора
Преобразование расширения ротора турбины относительно корпуса в электрический сигнал осуществляется дифференциально-трансформаторным датчиком ОРР (рис. 28), выходное напряжение которого изменяется пропорционально перемещению гребня ротора турбины.
Измерения выходного напряжения датчика ОРР осуществляется вторичным прибором КСД1 и основано на компенсационном принципе измерения.
Первичные обмотки датчика ОРР и дифференциально - трансформаторного датчика прибора соединяются последовательно и на них подается напряжение переменного тока 24 В от силового трансформаторного прибора.
Вторичные обмотки включаются встречно и в общую дифференциально - трансформаторную схему
Измерительная схема сфазирована таким образом, что при изменении напряжения на выходе датчика ОРР на входе усилителя прибора появляется напряжение небаланса
DЕ = Е1 - Е2, где (17)
Е1 - э.д.с. на выходе датчика ОРР;
Е2 - э.д.с. на выходе датчика прибора.
Усиленное полупроводниковым усилителем напряжение небаланса DЕ приводит во вращение реверсивный эл.двигатель, который с помощью профильного кулачка (лекала) будет перемещать сердечник датчика прибора до того момента, пока это напряжение не станет равным нулю.
Одновременно происходит перемещение указателя шкалы, показывающего значение измеряемой величины (рис. 29).
В датчике предусмотрена третья дополнительная обмотка для корректировки нулевого положения сердечника.

Рис. 27. Датчик ОРР.
![]() |
Рис. 28. Схема электрическая принципиальная.
![]() |
Рис. 29. Шкала устройства контроля ОРР.
Большое значение в работе УК ОРР имеет правильная установка датчика ОРР и включает в себя:
прокладку кабелей между датчиком и вторичной аппаратурой;
монтаж вторичной аппаратуры;
установку датчика ОРР на турбине.
Проводка от разъемов датчиков до клеммной коробки турбин выполняется неэкранированным маслостойким проводом в отдельной трубе.
Линии связи между клеммной коробкой турбины и прибором КСД1, установленном на блочном щите, должна быть выполнена пожильно экранированным проводом сечением не менее 0,75 мм2.
Схема внешних связей показана на рис. 30.
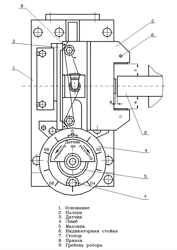
Установка датчика ОРР осуществляется в картере подшипника на специальном приспособлении (рис. 31), обеспечивающем перемещение датчика в осевом направлении при проверке работоспособности устройства контроля ОРР.
Приспособление состоит из неподвижного основания поз.1, которое крепится на турбине. Перемещение ползуна с датчиком осуществляется через коническую передачу винтом, который приводится во вращение вручную маховиком с лимбом поз.4. При повороте маховика на один оборот, ползун с датчиком перемещается на 1 мм.
Контроль перемещения датчика осуществляется механическим индикатором поз.6.
Для фиксации подвижной части приспособления имеется стопор поз.7. Сам датчик устанавливается на призонах поз.8.
При установке датчика на турбине необходимо выдержать зазор между средним керном датчика и гребнем турбины 1,2 ± 0,05 мм.
Температура в месте установки датчика в турбине не должна превышать плюс 80оС.
Во время эксплуатации устройства ОРР периодически, 1 раз в смену, проверить работоспособность прибора КСД1. Для чего необходимо нажать кнопку “Контроль”. При исправном приборе указатель шкалы должен установиться на отметке шкалы “К”.
Сейчас перейдем к следующему устройству контроля - это устройство контроля осевого сдвига ротора УК ОСР, оно служит для контроля осевого положения ротора турбин, предупредительной и аварийной сигнализации, а так же защиты турбины при недопустимом осевом сдвиге, который может произойти при износе или выплавлении баббита колодок упорного подшипника.
В настоящее время это устройство ОСР заменены на другие. Это устройство осевого смещения УИОС-1. Они различаются между собой ступенями защиты. УК ОСР две ступени защиты, что явно недостаточно было, что приводило к ложным срабатываниям защит. Новое устройство (УИСО-1) имеет три ступени защиты. Они в настоящее время установлены на всех 6-ти блоках ЗАЭС. Поэтому более подробнее остановимся именно на УИОС-1.

Рис. 30. Схема внешних подключений прибора КСД1-049.
![]() |
Рис. 31. Приспособление для установки датчика ОРР на турбине.
УИОС-1 (далее устройство), является стационарным контрольно - сигнальным устройством. Предназначено для непрерывного, круглосуточного контроля относительного осевого перемещения роторов основного и вспомогательного оборудования электростанций и выдачи “предупредительного” и “аварийного” сигналов в систему сигнализации и защиты.
Устройство состоит из одноканальных комплектов технических средств, позволяющих комплектовать любое, заранее заданное, многоканальное построение.
Одноканальный комплект технических средств состоит из вихретокового преобразователя перемещений и блока измерений. Вихретоковый преобразователь неразъемный и состоит из чувствительного элемента и преобразователя параметрического типа, соединенных кабелем длинной не более 5м. Сам чувствительный элемент устанавливается (закрепляется) на объекте (турбине) непосредственно в местах измерения перемещений.
Измерительные блоки устанавливаются на блочном щите управления. Каждый блок соединяется с параметрическим преобразователем однопроводным экранированным кабелем типа МГШВЭ. Наиболее допустимое расстояние по длине кабеля от блока до преобразователя - 300 м.
Блок измерительный имеет:
- аналоговый унифицированный нормированный выход по постоянному току 0-5 мА на нагрузку 0-2 кОм для подключения внешнего регистрирующего устройства или выносного показывающего прибора;
- индикаторный нормированный выход мгновенных значений виброперемещений с амплитудой 0-5 В на RR нагр. не менее 10 кОм;
- четыре релейных выхода с нормально открытыми (разомкнутыми) контактами из них: два выхода на сигнализацию по предупредительному уровню смещения (на удаление и на приближение) и два выхода на сигнализацию по аварийному уровню смещения (один по удалению, другой по приближению).
Диапазон измерения осевого смещения составляет ±2,0 мм. Допустимая основная приведенная погрешность составляет не более 6%.
Диапазон измерения уставок уровней сигнализации от 10% до 80% диапазона измерения смещений. Время готовности устройства к работе после включения в сеть не менее 5 мин.
Во время эксплуатации устройство должно подвергаться осмотру на каждой смене. При этом проверяется:
- наличие питающего напряжения. Должна быть подсветка и показания стрелочного указателя;
- правильность установки зазора между датчиком и валоприводом при включенной кнопке “Зазор” на передней панели блока измерительного. При начальной установке датчика на объекте контроля стрелка прибора должна находиться на середине шкалы. При приближении объекта контроля к датчику, показания прибора пропорционально перемещению уменьшаются, а при удалении - увеличиваются.
Для индикации (проверки) исправности связи используются кнопки измерительного блока “ЗАЗОР” и “ПРОВ.”.
При исправной линии связи при нажатии кнопки “ПРОВ.” стрелка прибора устанавливается на середине шкалы (50%).
При обрыве стрелка прибора устанавливается вблизи середины шкалы, а при нажатии “ЗАЗОР” - отклоняется вправо от упора.
При коротком замыкании в линии связи загорается красный светодиод на шильдике устройства, при нажатии кнопки “ЗАЗОР” стрелка уходит вправо до упора, а при нажатии кнопки “ПРОВ.” - влево до нуля.
Сейчас перейдем к следующему устройству - это устройство контроля прогиба ротора. Это устройство предназначено для контроля тепловой деформации ротора турбины. Контроль прогиба осуществляется в режиме вращения ротора валоповоротным устройством.
В комплект устройства входит:
первичный преобразователь, которым является датчик прогиба ротора рис. 33. Он предназначен для преобразования зазора между датчиком и ротором в изменение электрического сигнала на выходе датчика;
вторичный прибор КСД1 служит для счета по шкале и регистрации на диаграммной ленте величин прогиба ротора.
Устройство контроля прогиба ротора представляет собой следующую систему, основанную на компенсационном принципе измерения с компенсацией небаланса в эл.цепи датчиков прогиба ротора, расположенных диаметрально противоположно возле ротора турбины. Датчики прогиба ротора работают на принципе индуктивного метода измерения линейных перемещений с применением дифференциально-трансформаторной схемы. Принцип работы схемы аналогичен УКОРР.
Шкала прогиба ротора переградуируется (рис. 32).

Рис. 32. Шкала прогиба ротора.
Цена одного малого деления шкалы соответствует 0,008 мм, одного большого деления - 0,04 мм.
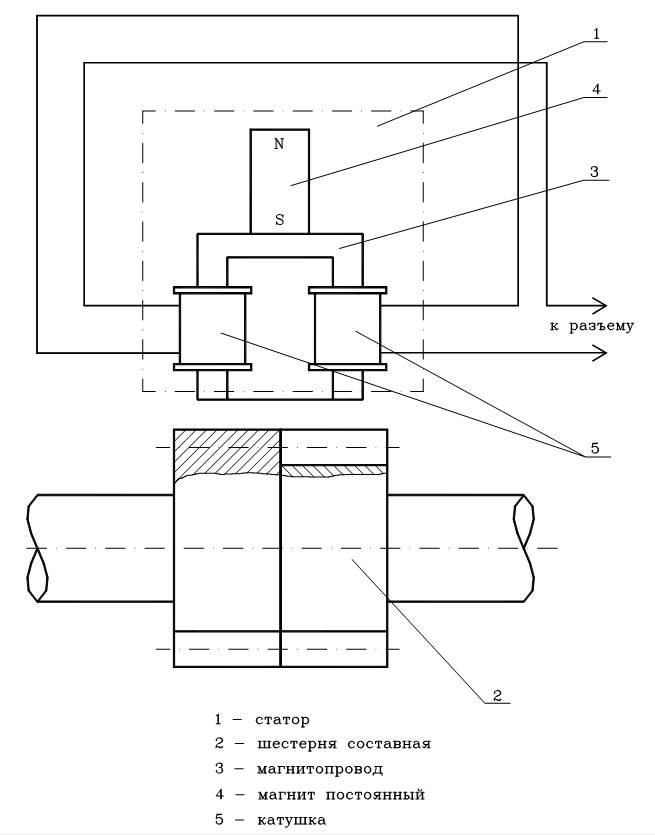
Переходим к следующему устройству - это устройство контроля угловой скорости. (ДУС-1), т.е. датчик угловой скорости, который служит для преобразования частоты вращения ротора турбины в частоту синусоидального сигнала. ДУС-1 представляет собой бесконтактное электромагнитное устройство, состоящее из турбины (рис. 33, 34).двухполюсного статора и составной шестерни, диаметр которой зависит от типа
![]() |
Рис. 33. Датчик прогиба ротора.
![]() |
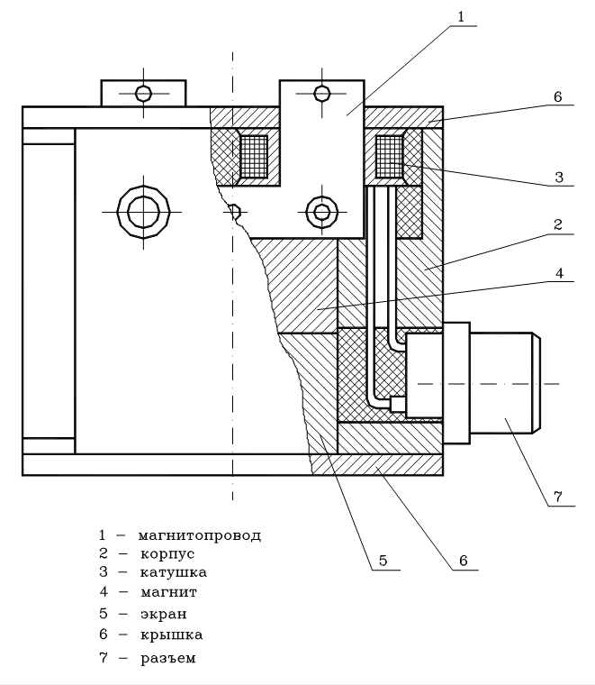
Рис. 34. Датчик угловой скорости ДУС-1.
![]() |
Рис. 35. Схема датчика угловой скорости.
Двухполюсный статор датчика состоит из:
- 1 - магнитопровода П-образного;
- 2 -двух катушек, расположенных на полюсах магнитопровода 1;
- 4 - магнита постоянного;5 - экрана, выполненного из мягкой стали СТО;
- 2 - корпуса с крышками 6, в котором помещены все элементы датчика, на внешней стенке которого укреплен разъем 7.
Схематически датчик угловой скорости двухполюсного статора 1 составной шестерни 2.
Работа ДУС-1 заключается в следующем: при вращении ротора происходит перераспределение магнитного потока магнита 4 и магнитопровода 3, связанное с периодическим изменением магнитной проводимости рабочих воздушных зазоров, образованных полюсами. Вследствие этого в катушках 5 индуктируется э.д.с., частота которой пропорциональна угловой скорости вращения ротора. Действующее значение э.д.с. в правой и левой катушках 5 равны между собой, а фазы гармоники э.д.с. отличаются на половину периода основной гармоники.
При встречном включении правой и левой катушки э.д.с., наводимые в них, алгебраически суммируются.
При этом нечетные гармоники складываются, а четные вычитаются, что дает возможность получить менее искаженную форму выходного сигнала.
Рассмотрим кратко следующее устройство - это устройство контрольно - сигнальное ВВК-331. Оно предназначено для специальных цепей контроля параметров стационарных неимпульсных вибраций и формирование аналоговых и дискретных сигналов, зависимых от эффективного значения виброскорости подшипников турбины при ее пуске в стационарном режиме под нагрузкой.
В зависимости от необходимого количества точек измерения и способов установки вибропреобразователей пьезоэлектрических, число измерений каналов устройств может меняться от 4 до 20.
Устройство ИП-7 применяются для контроля осевого смещения ротора ТПН. ИП-7 предназначено для бесконтактного измерения осевого смещения (сдвига) вала ротора паровой турбины, преобразования величины смещения в унифицированный сигнал постоянного тока, сигнализации и формирования сигнала отключения оборудования при достижении заданного предельного значения смещения.
Устройство ИП-7 состоит из:
обмотки возбуждения вихретокового преобразователя;
блока вихретокового преобразователя;
блока контроля.
- элементов крепления обмотки возбуждения и блока.
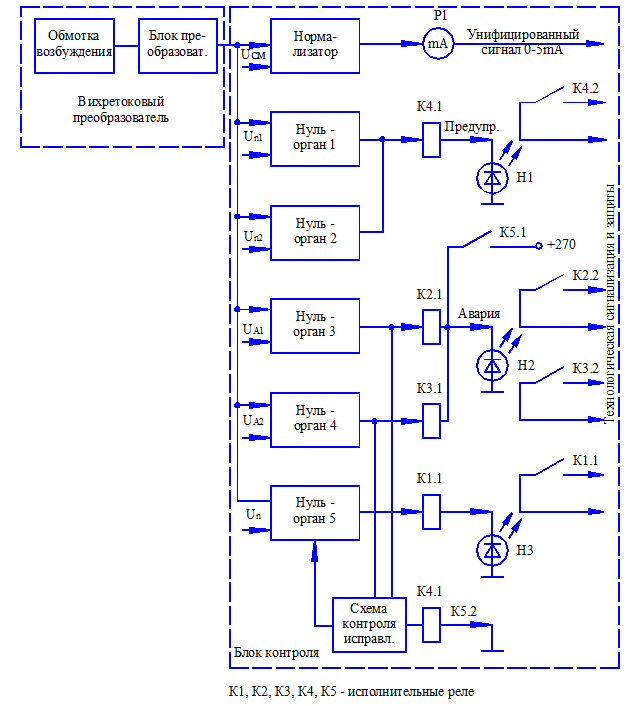
Сейчас давайте разберем работу структурной схемы устройства ИП-7 (рис. 36).
Напряжение с выхода преобразователя поступает в блок контроля, где преобразуется в унифицированный сигнал постоянного тока, сравнивается с нуль - органами с заданными напряжениями (уровнями) сигнализации и защиты.

Рис. 36. Структурная схема устройства ИП-7.
При равенстве или превышении напряжений преобразователя уровней сигнализации нуль - органы 1, 2, 3, 4 включают исполнительные реле К1, К2, К3, К4, которые своими контактами замыкают цепи электрической сигнализации.
Нуль - орган 5 сравнивает напряжение преобразователя с уровнями соответствующими началу и концу рабочего диапазона измерения осевого сдвига ротора. Выход значения напряжения за пределы значений рабочего диапазона, сигнализируется как “отказ” устройства. Это происходит также при обрывах и коротких замыканиях в обмотке возбуждения, схеме соединений или при неисправностях электрорадиоэлементов.
Контроллинг сущность, функции, виды - лекция, которая пользуется популярностью у тех, кто читал эту лекцию.
Исправность нуль - органов защиты (3, 4) контролируется специальной схемой, назначение которой исключить ложные команды отключения оборудования при неисправности нуль - органа.
Необходимо обратить внимание на то, что устройство ИП-7 выполняет функции защиты оборудования, оно должно работать непрерывно. При исправной работе ИП-7, сигнализируется светодиодом “КОНТР-И”. Если появилась неисправность в самом устройстве, светодиод выключается и замыкаются контакты реле цепи “ОТКАЗ”. Поэтому работа с выключенным светодиодом “КОНТ-И” категорически не допускается!
Для проверки работоспособности необходимо отключить защиту от осевого сдвига и действовать следующим образом:
- тумблер “РАБ-ПРОВ” перевести в положение “ПРОВ”;
- резистором “ПРОВ”, имитируя осевое смещение ротора, проверить срабатывание сигнализации, схемы контроля неисправности.
Обращаю Ваше внимание на то, что все работы, связанные с работой в цепях ТЗБ, блокировки, сигнализации на ЗАЭС, выполняются только по составленной программе выполнения работ согласно имеющейся инструкции “О порядке вывода оборудования в ремонт и ввода его в эксплуатацию после ремонта на ЗАЭС”. ОО.ПТ.ГГ.ИН.03.А.



























