Тепловые явления при резании металлов
3 Тепловые явления при резании металлов
3.1 Работа резания и её составляющие

,
где Eп.д. – работа пластических деформаций;
Етр.п. – работа сил трения по передней поверхности;
Етр.з. – работа сил трения по задней поверхности.
- удельная работа (пластической деформации)






V a γ ϕ e , так как КL.
Рекомендуемые материалы
3.2 Тепловой баланс в зоне резания

где 1/427 – тепловой эквивалент;
Q – тепло, выделяемое при резании.
,

![]() |
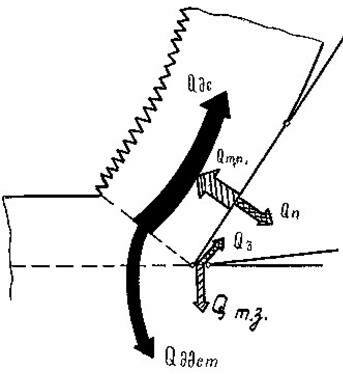
Рисунок 41 – Схема образования и отвода тепла из зоны резания
Чем больше скорость, тем меньше тепла отводится в резец. При обработке различных материалов эти соотношения различные.
Практическое определение теплового баланса
![]() | |||
![]() | |||
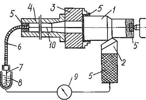
Распределение тепла между стружкой, заготовкой и инструментом изучают калориметрическим способом.
Рисунок 42 Рисунок 43
,
где Gв – вес воды;
Cв – удельная теплоёмкость воды;
Θг.с. – температура горячей стружки;
Θк. – конечная температура смеси в калориметре.
Средняя температура стружки определяется по формуле:
Количество теплоты, ушедшее в стружку:
,
где Gв – вес воды;
Cв – удельная теплоёмкость воды;
Θн. – начальная температура воды в калориметре;
τ – время, в течение которого снималась стружка весом Gc.
Поступая аналогичным образом, можно определить среднюю температуру резца и заготовки, а также количество тепла, ушедшего в резец и заготовку. Суммируя всё тепло, получим общее количество тепла.
3.3 Температура резания
За температуру резания принимают среднюю температуру на контактных поверхностях инструмента.
3.3.1 Методы определение температуры в зоне резания
а) Калориметрический метод.
Он даёт только снижение Θ, 0С.
б) Метод термокрасок.
![]() |
Рисунок 44
Тоже является приближённым. Нанесённые краски меняют коэффициент трения.
![]() |
в) Метод подведённых термопар.
Рисунок 45
Недостатки:
· сложность получения маленьких отверстий d≤0,5 мм;
· место спая находится на некотором расстоянии от контакта стружки с передней поверхностью.
г) Метод естественно образующейся термопары.
Он позволяет определять среднюю температуру в зоне контакта и не позволяет исследовать области распределения температур.
· сложность тарировки.
Метод тарировки: в расплавленных металлах, метод Резникова.
![]() |
Рисунок 46 – Схемы тарирования термопары
Для каждой пары инструмента и материала нужен свой тарировочный график (рис. 47).

Рисунок 47
д) Метод двух резцов

Рисунок 48 – Метод двух резцов
Заготовку одновременно обрабатывают двумя резцами из разнородных материалов. В процессе работы эти два резца являются элементами термопары.
Пригоден при обработке любых токопроводящих материалов. Один тарировочный график служит для любого материала заготовки.
е) Метод бегущей термопары.
Место горячего спая скользит по контактным поверхностям инструмента и регистрирует термопару в разных точках.
![]() |
Рисунок 49
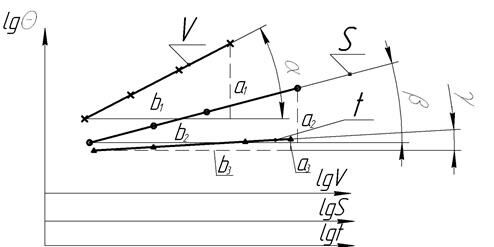
3.3.2 Получение эмпирических зависимостей для расчёта температуры резания
Графоаналитический метод обработки экспериментальных данных основан на однофакторном эксперименте. Исследуют влияние одного параметра на температуру при прочих постоянных условиях.
![]() |
В первой серии опытов изменяют только скорость резания при постоянных S и t.
Рисунок 50
В логарифмической системе координат криволинейные поверхности превращаются в прямолинейные (рис. 51).
![]() |
Рисунок 51

,
где z – показатель степени, показывает степень влияния скорости резания на температуру резания;
CΘ – зависит от постоянных условий обработки (материалы, геометрические параметры инструмента, глубина резания, СОЖ и т.д.).
Во второй серии опытов изменяют только подачу при постоянных значениях V и t.

,
где 
В третьей серии опытов изменяют глубину резания при постоянных значениях V и S.
,
где 
Постоянный коэффициент CΘ определяется по формуле
,
в которую подставляются значения температуры и параметров режима резания из конкретных опытов. Чем больше значений СӨ будет рассчитано, тем точнее средний результат.
Формула
- справедлива для условий, при которых проводились опыты.
По ней нужно рассчитывать температуру резания для любой комбинации V, s, t в исследуемом интервале этих величин.
Общая формула с учётом поправочного коэффициента на изменённые условия обработки:
,
Где КΣ – равен произведению всех поправочных коэффициентов тех условий, которые были изменены.

| Сталь | 45 | 30ХГСА |
| КМ | 1 | 1,3 |
z>y>x
3.3.3 Влияние различных факторов на температуру резания
а) Обрабатываемый материал.
Чем больше твёрдость и прочность обрабатываемого материала, тем выше Ө при его обработке.
б) Чем выше теплопроводность обрабатываемого и инструментального материала, тем ниже Ө в зоне обработки.
в) Скорость резания (Vр) .
С увеличением Vр Ө растёт, так как увеличивается работа резания. Кроме того, при увеличении Vр уменьшается длина контакта стружки с передней поверхностью. Это несколько ухудшает условия отвода тепла в инструмент и способствует росту Ө.
г) Подача (S).
С увеличением S Ө растёт, так как объём снимаемого слоя в единицу времени увеличивается. Но рост Ө непропорционален S, так как:
- с увеличением S увеличивается толщина срезаемого слоя, значит уменьшается усадка стружки, рост работы и Ө замедляется;
- с увеличением S увеличивается длина контакта стружки с передней поверхностью резца. Увеличивается теплоотвод. Это также замедляет рост Ө.
д) Глубина резания (t).
С увеличением t Ө возрастает, так как объём срезаемого слоя растёт. Но степень роста наименьшая, так как с увеличением t пропорционально увеличивается ширина срезаемого слоя b, т.е. длина активной части режущей кромки. Это резко увеличивает теплоотвод в тело резца и замедляет рост Ө.

е) Влияние геометрических параметров.
С увеличением переднего угла γ Ө сначала уменьшается, а затем увеличивается.
![]() |
Рисунок 52
Сначала Ө уменьшается за счёт снижения деформации, а затем увеличивается за счёт снижения теплоотвода, так как уменьшается объём тела резца.
ж) Влияние α – с увеличением α Ө начинает уменьшаться за счёт снижения сил трения о поверхность резания. Но начинает ухудшаться теплоотвод в тело резца, так как уменьшается объём режущего клина.
з) Влияние ϕ – при увеличении угла ϕ увеличивается толщина срезаемого слоя, она влияет на усадку, которая снижается.







ϕ a KL Q Θ, 0С


ϕ b Θ, 0С
ϕ масса головки резца Θ, 0С
Несмотря на это с увеличением угла ϕ Ө растёт, так как ухудшаются условия теплоотвода.
и) Влияние СОЖ.
С применением СОЖ Ө уменьшается из-за охлаждения и уменьшения коэффициента трения.
3.3.4 Смазочно-охлаждающие жидкости (СОЖ)
а) Требования к свойствам СОЖ:
· безвредность при высоких температурах;
· антикоррозионные;
· хорошие охлаждающие свойства;
· хорошая смачиваемость;
· хорошая проникающая способность;
· хорошие смазывающие свойства;
· вымывающее действие.
б) Функции
· охлаждающее действие;
· смазывающее действие (способность проникать на контактные поверхности и покрывать их тонкой плёнкой, уменьшая коэффициент трения);
· разрыхляющее действие СОЖ (эффект академика Ребиндера).
в) Виды СОЖ
· Водный раствор электролитов, масляные эмульсии
3-10% эмильсола Э-2, ЭТ-2, ЭНГЛ-205 в воде.
· Масла растительные и минеральные
30% растительного масла и растительного жира.
Сульфофрезолы – минеральные масла, в которые добавлены 10-12% серы.
Применяют при небольших скоростях резания на станках-автоматах при нарезании резьб.
г) Способы подачи СОЖ в зону резания.
· Поливом
Недостатки:
1 охлаждается в основном стружка;
2 большой расход.
Вместе с этой лекцией читают "18 Понятие, содержание экономических прав человека, характеристика видов этих прав".
· Под давлением
![]() |
Расход СОЖ в 10 раз меньше, а эффект больше, чем поливом.
Рисунок 53
· Распылением
![]() |
Эффект максимальный, но применение резко ограничивается шумом от пневмосистемы.
Рисунок 53-1
Рекомендуемые лекции
- 10 Квалификационные требования к методистам физической культуры и качество профессиональной подготовки специалистов
- 10 Права человека и права гражданина, сравнительный анализ
- 14 Наука как социальный институт
- 18 Понятие, содержание экономических прав человека, характеристика видов этих прав
- 53. Экономическое районирование России.
































