Муфты для соединения валов
Лекция 25. Муфты для соединения валов
Общие сведения. Муфтами приводов называют устройства, соединяющие валы совместно работающих агрегатов и передающие вращающий момент. Потребность в соединении валов связано с тем, что большинство машин компонуют из ряда отдельных частей с входными и выходными валами. Такими частями являются двигатель М, редуктор Р и рабочая машина РМ (рис. 76).
Основное назначение муфт – соединение валов и передача вращающего момента. Муфты могут выполнять еще ряд важных дополнительных функций. По этому признаку и классифицируют муфты.

Рис. 76
Существует класс постоянных (нерасцепляемых) муфт, обеспечивающих постоянное, в течение всего времени эксплуатации машины, соединение валов.
В некоторых машинах применяют муфты сцепления, обеспечивающие соединение агрегатов или их разъединение во время работы машины. В свою очередь муфты сцепления подразделяют на управляемые и самоуправляемые.
Управляемые муфты соединяют агрегаты машин по некоторой команде. Самоуправляемые муфты включаются автоматически, соединяя или разъединяя валы в зависимости от условий режима работы машины и принципа действия муфты.
Рекомендуемые материалы
Основной характеристикой нагрузки муфты является вращающий момент Т.
Обычно расчетный вращающий момент Т на муфте приближенно определяют в зависимости от динамических свойств машины, характеризуемых степенью неравномерности вращения и величиной разгоняемых масс, т.е. величиной динамической составляющей вращающего момента на муфте:
Т = Тн + Тд = Тн (1+Тд / Тн ) =
Тн ,
где Тн – номинальный момент обычно приближенно определяют по потребляемой мощности двигателя и по частоте вращения;
Тд – динамический момент;
коэффициент динамичности.
Глухие муфты. Длинные валы по условиям изготовления, сборки и транспортировки иногда делают составными. В этом случае отдельные части вала соединяют глухими муфтами. В некоторых случаях эти муфты применяют и для соединения строго соосных валов агрегатов. К глухим муфтам относятся втулочные муфты, представляющие собой втулку, надеваемую с зазором на концы валов, и фланцевые муфты (рис. 77), состоящие из двух одинаковых полумуфт, выполненных в виде ступицы с фланцем. Фланцы между собой соединяют болтами.

Рис. 77
Компенсирующие муфты. По экономическим и технологическим соображениям машины обычно выполняют из отдельных агрегатов, которые соединяют муфтами. Однако точная установка валов таких агрегатов невозможна из-за ошибок изготовления и монтажа; установки агрегатов на деформируемом основании; а также из-за упругих деформаций валов под нагрузкой.
Возможные виды смещений валов (осевое
, радиальное
и угловое
) и возникающие вследствие этого дополнительные нагрузки на концах валов представлены на рис. 78.
Для соединения валов с несовпадающими осями применяют компенсирующие муфты. Благодаря своей конструкции эти муфты обеспечивают работоспособность машины даже при взаимных смещениях валов. Валы и опоры при этом дополнительно нагружаются осевыми
, радиальными
силами и изгибающими моментами
, зависящими от величины и вида несоосности валов (рис. 46). Следует

Рис. 78
подчеркнуть, что с ростом смещений валов работоспособность муфты уменьшается.
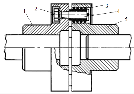
К компенсирующим муфтам относятся зубчатые (рис. 79), цепные кулачково-дисковые и др. муфты.

Рис. 79
Зубчатая муфта состоит из двух втулок 1 и 4 с внешними зубьями и двух обойм 2 и 3 с внутренними зубьями. Обоймы жестко соединены с помощью болтов.
Упругие соединительные муфты. Упругие муфты отличаются наличием упругого элемента и являются универсальными в том смысле, что, обладая некоторой крутильной податливостью, эти муфты также являются компенсирующими. Упругие муфты способны:
1) Смягчать толчки и удары вращающего момента, вызванные технологическим процессом или выбором зазора при пусках и остановках машины. При этом кинетическая энергия удара аккумулируется муфтой во время деформации упругого элемента, превращаясь в потенциальную энергию деформации;
2) Защищать привод машины от вредных крутильных колебаний;
3) Соединять валы, имеющие взаимные смещения. В этом случае деформируется упругий элемент муфты, и муфта функционирует как компенсирующая.
По материалу упругих элементов эти муфты подразделяются на муфты с неметаллическими упругими элементами и муфты с металлическими упругими элементами.
Рис. 80
Наибольшее применение в машиностроении получила упругая втулочно-пальцевая муфта (рис. 80). Она состоит из двух полумуфт 1 и 5. В полумуфте 1 имеются конические отверстия, а в полумуфте 5 – цилиндрические. В эти отверстия вставляются пальцы 4, на которые надеваются упругие элементы 3. Завинчивания гайки 2, пальцы 4 входят в конические отверстия, в результате чего происходит соединения полумуфт 1 и 5. Вращающий момент передается через упругие элементы 3.
Муфты сцепные управляемые. Сцепные муфты соединяют и разъединяют неподвижные или вращающиеся валы по управляющей команде. Эти муфты делят на муфты с профильным замыканием (кулачковые) и на фрикционные. Последние широко используют при необходимости изменения режима работы машины без остановки двигателя.
Сцепные кулачковые муфты применяются для передачи больших вращающих моментов при нечастых включениях. Они имеют значительно меньшие габаритные размеры и массу, чем фрикционные муфты сцепления. Однако они соединяют валы, угловые скорости которых равны или незначительно различаются. При этом требуется точная соосность соединения полумуфт.


б
Рис. 81
На рис. 81 изображены сцепные муфты с торцевыми конусными кулачками (рис. 81,а) и с прямоугольными (рис. 81,б). Выбор формы кулачков определяется в основном условиями включения муфты.
Муфты сцепные фрикционные. Эти муфты допускают включение на ходу и передают вращающий момент за счет сил трения на рабочих поверхностях, создаваемых плавным прижатием рабочих поверхностей. Меняя силу прижатия, можно регулировать момент сил трения. За время включения фрикционной муфты рабочие поверхности проскальзывают. После завершения включения муфты скольжение отсутствует.
Конструкция этих муфт может быть выполнена с одним или несколькими дисками, с цилиндрическими или коническими поверхностями трения, с механическим, пневматическим, гидравлическим или электромагнитным управлением. Группу муфт с силовым замыканием электромеханической связью составляют муфты с жидкой или порошкообразной ферромагнитной смесью, в которых при прохождении электрического тока в катушке возбуждения возникает магнитный поток, в результате ферромагнитная смесь, заполняющая зазор между полумуфтами, намагничивается, что обеспечивает сцепление смеси с поверхностями полумуфт.
Рекомендация для Вас - Социально-психологические основы рекламы.
На рабочие поверхности дисков наносят фрикционный слой или крепят накладки из фрикционного материала, повышающего силу трения.
В зависимости от условий эксплуатации, фрикционные муфты разделяют: на муфты без смазывания трущихся поверхностей и на муфты со смазыванием трущихся поверхностей. Последние передают меньший вращающий момент, однако они более долговечны, так как интенсивность изнашивания рабочих поверхностей меньше, чем у сухих муфт.
Самоуправляемые или автоматические муфты включаются и выключаются в зависимости от изменения режима работы машины. К ним относятся: обгонные муфты или муфта свободного хода, передающие момент только при одном направлении вращения ведущей полумуфты относительно ведомой и проворачивающиеся при обратном направлении вращения, центробежные муфты, включающиеся и выключающиеся в зависимости от скорости вращения ведущей полумуфты, муфты предельного момента, отключающие машину при опасном увеличении вращающего момента.
Предохранительные муфты. Предохранительная муфта служит разъединения валов или вала с сидящей на нём деталью при перегрузке или недопустимой скорости вращения, т. е. предохраняющая машину от поломки в случае нарушения нормального режима работы. Муфты предохранительные с разрушающимся элементом отличаются малыми габаритами и высокой точностью срабатывания. При перегрузке предохранительный элемент срезается, и полумуфты размыкаются. Для восстановления работоспособности машины, ее необходимо остановить и заменить предохранительный элемент.
Кулачковые предохранительные муфты удерживаются во включенном состоянии пружинами, до тех пор, пока возрастающий момент не создаёт силы, способной преодолеть усилие пружины.
Фрикционные предохранительные муфты автоматически восстанавливают работоспособность машины после прекращения действия перегрузки, однако, точность срабатывания их не высока из-за непостоянства коэффициента трения на трущихся поверхностях дисков.





















