Стеснение тепловых расширений турбины на фундаменте и его предупреждение
4.6. Стеснение тепловых расширений турбины на фундаменте и его предупреждение
4.6.1. Последствия стеснения тепловых расширений турбины
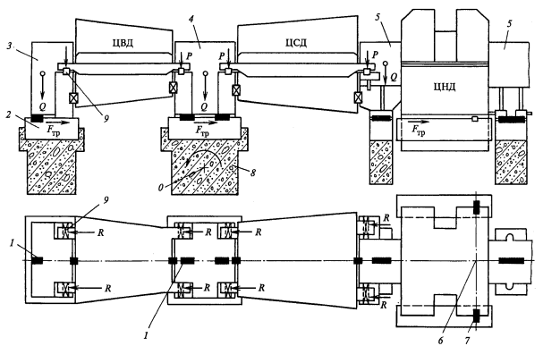
Организация свободных тепловых расширений турбоагрегата на фундаменте достигается с помощью свободной установки его элементов (корпусов подшипников, ЦНД, генератора и его возбудителя) на фундаментных рамах. Для направленного свободного расширения между фундаментными рамами (рис. 4.22) и корпусами подшипников строго по прямой устанавливают систему продольных и поперечных шпонок, вдоль которых и перемещаются корпуса подшипников. Например, при пуске турбины ее ЦНД со встроенным подшипником расширяется от фикспункта влево. Через поперечные шпонки лап расширение передается последовательно на правые лапы корпуса ЦСД, затем с его левых лап – на средний подшипник и т.д. При остановке турбины вследствие уменьшения температуры корпусов происходит ее сокращение. По ряду причин, которые рассмотрены ниже, между подошвой корпуса подшипника и фундаментной рамой возникают силы трения Fтр, препятствующие свободному тепловому расширению турбоагрегата.

Рис. 4.22. Силы, действующие на опоры турбоагрегата и затрудняющие его свободное тепловое расширение
1 – продольные шпонки; 2 – фундаментная рама; 3, 4, 5 – корпуса соответственно переднего, среднего и подшипников ЦНД; 6 – фикспункт; 7 – поперечные шпонки; 8 – ригель; 9 – поперечные шпонки между лапами и опорными поверхностями корпусов подшипников
Стеснение теплового расширения на фундаменте приводит к следующим основным явлениям:
1) недостаточному продольному удлинению статора турбины при пуске из холодного состояния, не соответствующему его температурному состоянию;
2) "невозврату" турбины при ее полном остывании;
Рекомендуемые материалы
3) кручению ригелей;
4) скачкообразному перемещению корпусов подшипников на фундаменте.
Рассмотрим последствия этих явлений. При большом сопротивлении передвижению корпусов подшипников по фундаментным рамам ригели прогибаются в горизонтальной плоскости (при пуске турбины – в сторону от фикспункта). Одновременно при этом на корпус турбины будут действовать сжимающие силы, деформирующие его вследствие податливости торцевых стенок корпуса. В результате возникает большое удлинение ротора, свободно расширяющегося от упорного подшипника относительно статора. Это препятствует быстрому пуску турбины и приводит к перерасходу топлива.
При разгружении турбины и ее остановке картина будет аналогичной, но обратной: сокращающиеся корпуса турбины будут тянуть за собой и изгибать ригели в горизонтальной плоскости в обратном направлении (стрелка прогиба – к фикспункту); кроме того, сами корпуса будут находиться в растянутом состоянии. В результате возникает невозврат: турбина не вернется к своему первоначальному положению.
Еще большую опасность представляет кручение ригелей: под действием продольных сил R, приложенных к поперечным шпонкам лап, весь ригель, например, средней опоры (рис. 4.22) поворачивается (скручивается) вокруг точки О. В результате опорная поверхность фундаментной рамы приобретет уклон и изменяются высотные положения вкладышей подшипников. Если, например, в среднем подшипнике (рис. 4.22) расположены два вкладыша, то при пуске ригель скрутится против часовой стрелки и левый подшипник опустится, а правый поднимается. Это изменит опорные реакции валопровода и вибрационные характеристики опор и может привести к появлению вибрации. Такая картина возникала, в частности, на турбинах Т–250/300–23,5 ТМЗ.
При затрудненных перемещениях корпусов подшипников и кручении ригелей расширения турбины часто носят скачкообразный характер. Связано это с периодическим преодолением активной силой R силы трения покоя Fтр; при этом происходит скачкообразное проскальзывание корпуса подшипника по фундаментной раме.
4.6.2. Причины стеснения тепловых расширений турбины
Стеснение теплового расширения турбины определяется двумя основными причинами:
1) большими силами трения между подошвой корпуса подшипника и фундаментной рамой;
2) заклиниванием шпоночного соединения корпус подшипника – продольная шпонка.
Одной из главных причин затруднения тепловых расширений турбины на фундаменте является действие вертикальных сил
, прижимающих корпуса подшипников к фундаментным рамам, в результате чего возникает сила трения Fтр определяемая простым соотношением:
, (4.4)
где k – коэффициент трения.
Прижимающая сила
имеет следующие составляющие:
1) силу тяжести ротора и статора Q, включающую корпус подшипника и корпус турбины;
2) силу Рр.м, возникающую от реактивного момента в проточной части;
3) силу от паропроводов, присоединенных к корпусам турбины.
Рассмотрим каждую из этих сил. Силы тяжести ротора и статора определяются их массами, и они постоянны во времени.
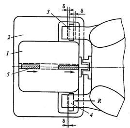
Появление силы от реактивного момента поясняется схемой на рис. 4.23. Вследствие разворота струи пара в каналах соплового аппарата диафрагмы от осевого направления к окружному на диафрагму будет действовать реактивный момент Мр направленный противоположно вращению ротора. С отдельных диафрагм крутящие реактивные моменты будут передаваться на корпус турбины. Их суммарное действие будет эквивалентно двум парам сил Рр.м, приложенных к лапам корпуса турбины. В результате действия реактивного момента одна из лап (в нашем случае левая) прижимается к корпусу подшипника, а вторая стремится оторваться от него.
Силы, вызванные реактивным моментом, зависят, конечно, от мощности турбины: с ростом мощности они растут. Силы от присоединенных паропроводов возникают вследствие жесткого закрепления массивной арматуры (например, стопорных клапанов) на фундаменте и невозможности свободных расширений паропроводов между этой арматурой и корпусом турбины. Возникающие на корпусе турбины силы определяются взаимным положением корпусов турбины и арматуры и температуры связывающих их паропроводов. Поэтому усилия от паропроводов зависят от режима работы и могут быть различными при пусках, различных стационарных режимах и остановках.

Рис. 4.23. Появление усилия на корпусе подшипника от действия реактивного момента
1 – вал ротора; 2 – диафрагма; 3 —–корпус турбины; 4 – поперечные шпонки лап; 5 – корпус подшипника; 6 – прижимная скоба; 7 – продольная шпонка
В некоторых конструкциях блоки стопорно–регулирующих клапанов устанавливают на опорах, допускающих свободное перемещение. Однако и в этом случае, как показал опыт эксплуатации, на корпусе возникают значительные силы и моменты от присоединенных паропроводов, уменьшение которых при наладке турбины очень затруднительно.
На рис. 4.24 показано, как в процессе пуска из холодного состояния изменяется вертикальное суммарное усилие на средний подшипник турбины К–800–23,5–3 по опытам ЦКТИ. На стационарном режиме работы суммарное усилие несколько превышает усилие на холодной турбине (108 МН). Максимальное значение (132 МН) возникло в предтолчковый период, когда реактивный момент был небольшим и главную роль играли усилия от паропроводов.

Рис. 4.24. Изменение суммарного вертикального усилия, действующего на средний подшипник турбины К–800–23,5–3 в процессе пуска из холодного состояния
Заклинивание в шпоночном соединении возникает вследствие приложения к корпусу подшипника поперечных усилий, прижимающих его к боковым поверхностям продольных шпонок и не дающих перемещаться корпусу вдоль них.
Главными причинами заклинивания шпоночного соединения могут являться:
1) неодинаковость тепловых расширений отдельных лап корпуса турбины в продольном направлении или неодинаковость тепловых зазоров в поперечных шпонках лап;
2) заклинивание шпоночного соединения одной из лап корпуса.
В первом случае (рис 4.25) одна из лап входит в контакт со своей поперечной шпонкой раньше, чем вторая, и в результате сила R поворачивает корпус подшипника, прижимая его к боковым поверхностям шпонок, привинченных к фундаментным рамам. Из–за большого плеча силы R контактное давление оказывается очень большим и, как следствие, большой оказывается и сила Fтр, защемляющая продвижение корпуса подшипника по фундаментной раме.

Рис. 4.25. Заклинивание в продольных шпонках вследствие неодинакового теплового расширения лап
Во втором случае (рис. 4.26) заклинивание одной из поперечных шпонок лап приводит к поперечному несимметричному смещению оси корпуса и выборке зазора в вертикальной шпонке. В результате защемления участка корпуса турбины между заклиненной лапой и вертикальной шпонкой возникает сила R, поворачивающая корпус подшипника на фундаментной раме, в результате чего и возникает заклинивание продольных шпонок.

Рис. 4.26. Заклинивание в продольных шпонках вследствие заклинивания одной из поперечных шпонок лап
1 – корпус подшипника; 2 – фундаментальная рама; 3,4 – поперечные шпонки лап; 5 – продольные шпонки
Чаще всего заклинивание поперечной шпонки лап происходит вследствие неравномерного прогрева лапы по ширине: при подаче пара на концевое уплотнение перед пуском турбины внутренняя поверхность лапы, прилегающая к камерам уплотнений, прогревается сильнее, чем наружная. В результате лапа разворачивается наружу и заклинивает шпонку.
Таким образом, если прижимающая сила
и коэффициент трения k невелики, число перемещаемых цилиндров мало и заклинивания продольных шпонок не происходит, то силы трения Fтр и преодолевающие их силы трения R в поперечных шпонках (рис. 4.22) также малы, и турбоагрегат достаточно свободно расширяется и сокращается на фундаменте в соответствии со своей изменяющейся температурой. Такая картина наблюдалась до определенной единичной мощности турбоагрегата, когда правильный монтаж обеспечивал вполне свободное тепловое расширение. С ростом единичной мощности турбоагрегата и количества цилиндров проблема свободного расширения на фундаменте становилась все острее. В частности, ее решение потребовало больших усилий для турбоагрегата Т–250/300–23,5 ТМЗ, фикспункт которого расположен на опорной раме ЦНД и генератора и на фундаменте которого расширяются все четыре цилиндра турбины.
4.6.3. Меры борьбы со стеснением расширения турбоагрегата
Поскольку повышенные силы трения обусловлены в первую очередь высокими значениями вертикальных нагрузок, действующих на корпус подшипника, радикальным способом борьбы с повышенными силами трения, является уменьшение вертикальных сил.
Для уменьшения сил, вызванных реактивным моментом со стороны фланца, который придавливается к опорным поверхностям корпусов подшипников (слева на рис. 4.23), устанавливают пружинный амортизатор, пример которого показан на рис. 4.27. Опирают амортизаторы на специальную балку, заделанную в колонну фундамента. Таким образом, часть реактивного момента передается на фундамент, а часть – через лапу на корпус подшипника.

Рис. 4.27. Амортизатор ЦСД турбины К–300–23,5 ЛМЗ
1 – амортизатор; 2 – корпус стопорно–регулирующего клапана
Для уменьшения усилий от присоединенных паропроводов необходимы, прежде всего, правильная трассировка пароподводящих труб и правильный монтаж арматуры. В общем случае все перечисленные меры помогают уменьшить вертикальную силу
, однако с их помощью ее нельзя сделать меньше, чем сила тяжести статора и ротора. Для еще большего уменьшения силы, передающейся на корпус подшипника, на ряде турбин ЛМЗ практикует установку дополнительной гибкой опоры с калиброванной пружиной (рис. 4.28). Гибкость опоры не препятствует свободному расширению лап, а сама она воспринимает часть вертикальной нагрузки, разгружая корпус подшипника.
Как видно из формулы (4.4), при фиксированном значении вертикальной силы
уменьшения силы трения можно достичь снижением коэффициента трения k, применяя специальные смазки в виде пасты или специальные прокладки из синтетического материала – фторлона.

Рис. 4.28. Установка дополнительной опоры под лапу для уменьшения силы, действующей со стороны лапы на корпус подшипника
1 – фундаментная рама; 2 – корпус подшипника; 3 – поперечная шпонка; 4 – скоба; 5 –лапа; 6 – дополнительная опора
Для исключения заклинивания необходимы тщательный монтаж и пригонка всех шпоночных соединений, симметричный обогрев фланцев с равномерным прогревом лап во избежание их коробления. Для уменьшения кручения ригелей, кроме уменьшения сил трения на поверхностях скольжения, можно увеличивать сопротивления ригеля скручиванию соответствующим увеличением его размеров, что требует переделки фундамента.
Контрольные вопросы
1. Нарисуйте график свободных незатухающих гармонических колебаний. Обозначьте период колебаний τ0. Как он связан с круговой частотой р и частотой f ?
2. Ротор турбины вращается с угловой частотой ω = 314 рад/с. Определите круговую частоту, частоту и период возмущающей силы, вызываемой неуравновешенностью ротора.
3. Сборный и сварной роторы имеют одинаковые размеры ступеней и примерно одинаковую массу. Почему критическая частота вращения сварного ротора будет выше, чем сборного?
4. Определите декремент колебаний, если две последовательные амплитуды равны 30 и 30,2 мкм.
5. Частота собственных колебаний некоторой системы равна 120 Гц. С какой частотой будет колебаться система, если на нее воздействовать гармонической силой с частотой 50 Гц?
6. Назовите отрицательные последствия повышения вибрации турбоагрегата.
7. Почему сила тяжести ротора не вызывает вибрации?
8. Вибрирует ли идеально уравновешенный ротор на критической частоте вращения?
9. Почему для роторов паровых турбин, кроме статической, требуется динамическая балансировка?
10. Почему при работе турбины на критической частоте вращения возникает интенсивная вибрация даже при небольшой неуравновешенности?
11. Во время ремонтных работ ликвидированы вспомогательные горячие паропроводы возле одной из колонн фундамента, в результате чего корпус среднего подшипника не расширился вверх по отношению к другим подшипникам и в рабочих условиях оказался практически исключенным из работы. Как это отразилось на критических частотах турбоагрегата?
12. Каковы характерные признаки вибрации, вызванной плохой балансировкой?
13. Почему ротор, неравномерно нагретый по сечению, вибрирует? Почему эту вибрацию нельзя устранить более тщательной балансировкой?
14. Почему значительные задевания в проточной части турбины вызывают ее интенсивную вибрацию?
15. В чем состоит принципиальное отличие автоколебаний от вынужденных колебаний?
16. Объясните механизм возникновения масляной вибрации.
17. Как проверить является ли неправильный порядок открытия регулирующих клапанов причиной низкочастотной вибрации?
18. Почему при использовании сегментных подшипников не может возникнуть низкочастотная масляная вибрация?
19. Объясните механизм возникновения венцовых циркуляционных сил.
20. Почему износ или увеличение радиальных зазоров в уплотнениях приводит к уменьшению вибрации?
21. Почему циркуляционные силы в диафрагменных уплотнениях значительно меньше, чем циркуляционные силы в промежуточных уплотнениях в цилиндрах с поворотом пара?
22. Почему паровые циркуляционные силы в паровых турбинах на сверхкритические начальные параметры пара играют основную роль в появлении низкочастотной вибрации?
Информация в лекции "18 Токсикокинетика и токсикодинамика ипритов" поможет Вам.
23. Турбины Т–250/300–23,5 ТМЗ и К–800–23,5 ЛМЗ выполнены на одинаковые начальные параметры пара. Для какой из турбин венцовые и надбандажные силы будут больше при одинаковых типах уплотнений и зазорах в проточной части?
24. Каков механизм возникновения вибрации двойной оборотной частоты?
25. При проектировании турбины с рабочей частотой вращения 50 1/с ротор рассчитывают так, чтобы его критические частоты не равнялись 25, 50 и 100 Гц. Почему эти критические частоты являются запретными?
26. Назовите последствия стеснения тепловых расширений турбоагрегата на фундаменте.
27. Перечислите силы, прижимающие корпуса подшипников к фундаментным рамам и объясните их происхождение.
28. Почему происходит заклинивание шпоночных соединений при расширении турбины?




















