Тяговые органы машин непрерывного транспорта
ЛЕКЦИЯ 4. Тяговые органы машин непрерывного транспорта
План лекции
4.1. Общие требования к тяговым органам.
4.2. Тяговые цепи.
4.3. Конвейерные ленты.
4.4. Канаты.
Типом и конструкцией составных частей, в особенности тягового элемента, определяется конструкция конвейера. Тяговый орган конвейера служит для восприятия тягового усилия от привода и последующей его передачи к рабочим элементам, при помощи которых и производится перемещение грузов. У отдельных машин (например, ленточных конвейеров) тяговый и рабочий орган совмещены, и перемещаемый груз лежит непосредственно на тяговом органе – ленте.
Рекомендуемые материалы
Виды тяговых органов:
– цепи;
– ленты;
– канаты;
– сочетания (ленты с канатами и пр.).
4.1. Общие требования к тяговым органам
Ниже перечислены общие требования, предъявляемые к гибким тяговым органам.
· Возможно более высокая гибкость в двух плоскостях, позволяющая применять барабаны, звездочки, ролики малого диаметра, что уменьшает расход материалов, энергии и удельную стоимость конечной продукции.
· Высокая прочность в сочетании с малой собственной массой, простотой, технологичностью массового производства и низкой стоимостью.
· Малое удлинение при рабочей нагрузке; небольшое остаточное удлинение.
· Удобство крепления рабочих органов.
· Надежность передачи тягового усилия к рабочему органу.
· Специальные требования санитарии и гигиены.
· Учет абразивности, влажности и других свойств транспортируемого груза.
4.2. Тяговые цепи
В основном применяются следующие виды тяговых цепей:
– сварные;
– пластинчатые;
– вильчатые и разборные.
Цепи применяют при относительно небольших расстояниях и работе в усложненных условиях (высокие нагрузки, стесненные габариты, низкие и высокие температуры, грузы с повышенной повреждающей способностью).
Преимущества цепей:
– простота соединения концов и замены отдельных деталей;
– восприятие значительных усилий;
– малое упругое удлинение под нагрузкой;
– полное отсутствие остаточного удлинения;
– надежность передачи тягового усилия зацеплением;
– простота и надежность крепления рабочих органов.
Недостатки цепей:
– множество изнашиваемых шарнирных соединений;
– повышенный шум при работе;
– малые скорости (до 1 м/с) из-за увеличения динамических нагрузок;
– большая собственная масса.
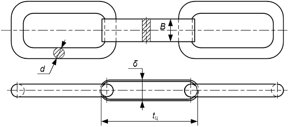
Сварные цепи. Круглозвенные сварные цепи (рис. 4.1) состоят из звеньев овальной формы с круглым поперечным сечением; могут иметь распорки в средней части звеньев.

Рис. 4.1. Сварная круглозвенная цепь: B – ширина звена;
d – диаметр прутка; tц – шаг цепи
Они наиболее простые, дешевые, гибкие, но обладают повышенным износом, невысокой прочностью, искрением.
К основным параметрам тяговой цепи относятся:
– шаг звена (расстояние между осями шарниров);
– разрушающая нагрузка;
– масса 1 погонного метра цепи.
Изготавливают их из хорошо свариваемых углеродистых сталей Ст2, Ст3, стали 10, место стыка звена заваривают.
Короткозвенными считаются цепи при B ≈ tц.
Длиннозвенными считаются цепи при B < tц.
По точности изготовления разделяются:
– на калиброванные (отклонение tц от 1 до 2,5 %);
– некалиброванные (отклонение шага tц до 4 %), шаг таких цепей непостоянен, и их нельзя применять на ведущих блоках-звездочках. Область применения – при скорости v < 0,5...0,7 м/с.
Примеры условного обозначения сварных круглозвенных цепей:
– калиброванная d = 16 мм, tц = 44 мм: «Цепь СК 16х44 ГОСТ 2319–81»;
– некалиброванная d = 16 мм, tц = 44 мм: «Цепь СН 16х44 ГОСТ 2319–81».
Комбинированные сварные цепи (рис. 4.2). Одно звено заменяется звеном из листовой стали. Контакт в шарнире при этом линейный, соответственно нагрузка распределяется более равномерно.

Рис. 4.2. Сварная комбинированная цепь: δ – толщина листового звена
Достоинства: к пластине легче крепить рабочий орган; меньший износ цепи при работе. Недостатки: гнется только в одном направлении; сложность в изготовлении.
Расчет сварных цепей. Цепи выбирают по разрывному усилию, Н,
, (4.1)
где Sрасч – расчетное усилие, Н; z – число параллельных рабочих ветвей; Сн – коэффициент неравномерности распределения нагрузки между параллельными ветвями; Сн = 1,1…1,25; n – коэффициент запаса прочности; для сварных цепей с термообработкой n = 10…15; без термообработки n = 15…20.
Пластинчатые цепи. Пластинчатыми называют цепи со звеньями из пластин – тонких плоских или изогнутых холодноштампованных деталей, соединенных валиками или втулками.
Достоинства:
– простота изготовления на универсальном оборудовании;
– простота крепления рабочих органов;
– высокая точность изготовления, что позволяет использовать их при повышенных скоростях;
– высокие прочность и износостойкость.
Недостатки:
– потеря подвижности в закрытых шарнирах при работе в порошкообразных и коррозионных средах;
– отсутствие пространственной гибкости.
Классификация пластинчатых цепей представлена на рис. 4.3.

Рис. 4.3. Классификация пластинчатых тяговых цепей
Конструкции и параметры пластинчатых цепей определяются
ГОСТ 588–81, а также техническими условиями производителя.
Существует деление пластинчатых цепей на типы и исполнения (рис. 4.4).

Рис. 4.4. Типы и исполнения тяговых пластинчатых цепей
Конструкция пластинчатых цепей представлена на рис. 4.5.
Втулки предназначены для уменьшения износа шарниров цепи, безвтулочные цепи применяются редко, только для легкого режима работы.
Ролики, представляющие собой полые вращающиеся детали с наружным диаметром меньшим ширины пластин, надетые на валики или втулки и имеющие возможность свободного вращения, предназначены для уменьшения износа зубьев звездочек. Уменьшение износа происходит за счет того, что трение скольжения валика или втулки по зубу звездочки заменяется трением качения ролика. В отдельных случаях при легких условиях работы ролики используют и для опирания цепи на направляющую.
Катки – полые вращающиеся детали с наружным диаметром, равным или чаще превышающим ширину пластин, поддерживают цепь с присоединенными к ней рабочими органами и уменьшают сопротивление движению. Катки изготавливают гладкими, с ребордами, с подшипниками скольжения и качения.
На рис. 4.5 обозначены размеры, мм: t – шаг цепи; h – высота пластин цепи; s – толщина пластин цепи; b1 – наружная ширина цепи по валикам; b2 – ширина реборды катка; b3 – внутренняя ширина цепи между внутренними пластинами; b4 – наружная ширина по креплениям разборных цепей; d – внутренний диаметр полого валика; d1 – наружный диаметр валика цепи; d2 – диаметр втулки; d3 – диаметр ролика;
d4 – диаметр гладкого катка; d5 – диаметр ребордного катка.
Для крепления рабочих органов (пластины настилов, скребки и т. д.) к цепям предусмотрены различные исполнения пластин цепи, некоторые из них представлены на рис. 4.6.


Рис. 4.5. Цепи тяговые пластинчатые: 1 – валик; 2 – втулка; 3 – внутренняя пластина; 4 – наружная пластина;
5 – ролик; 6 – ригель; 7 – болт; 8 – шайба; 9 – полый валик; 10 – каток гладкий; 11 – каток с ребордой
|
|
|
|
|
|
|
|
|
|
|
|
Рис. 4.6. Различные исполнения креплений для рабочих органов
Как и сварные цепи, пластинчатые цепи выбирают по разрывному усилию, Н:
,
где Sрасч – расчетное усилие, Н; z – число параллельных рабочих ветвей; Сн – коэффициент неравномерности распределения нагрузки между параллельными ветвями; Сн = 1,1…1,25; n – коэффициент запаса прочности; для горизонтальных и пологонаклонных конвейеров
n = 5…6; для конвейеров, имеющих крутонаклонные участки, n = 7…10.
Пример условных обозначений пластинчатых тяговых цепей по ГОСТ 588–81: «Цепь М 1250 – 2 – 630 – 2 ГОСТ 588–81», где М 1250 – номер цепи, М – со сплошным валиком, 1250 – разрушающая нагрузка, кН; тип 2 – втулочно-роликовая (ПВР); шаг 630 мм; исполнение 2 – разборная цепь с лысками на валике и втулке.
Вильчатые и разборные цепи. Такие цепи применяются в основном в конвейерах, имеющих сложные пространственные трассы, например, в подвесных конвейерах, где требуется гибкость тягового органа в двух плоскостях (разборные цепи); либо когда цепи могут работать погруженными в материал вместе с рабочими органами, например, в скребковых конвейерах с погруженными скребками (вильчатые цепи).
Разборные горячештампованные цепи (ГОСТ 589–74) изготовляются двух типов (рис. 4.7): Р1 – с вращающимися валиками; Р2 – с фиксированными валиками. Их преимущества перед другими тяговыми органами – высокое отношение допустимого усилия в цепи Sдon к ее погонному весу qц, простота монтажа, демонтажа, ремонта и изменения длины цепи (причем для последних операций не требуется никаких специальных деталей); легкость присоединения каретки к цепи; простота конструкции цепи и ее обслуживания; гибкость в двух плоскостях. Недостатки этих цепей – сложность технологического процесса изготовления, невысокая точность изготовления.
На рис. 4.7 обозначены размеры: t – шаг цепи, мм; Tц – расчетный шаг звена, мм; B – высота цепи, мм; Bвн – внутренняя ширина цепи, мм; l – наружная ширина цепи, мм; L – шаг зацепления, мм; k – присоединительное расстояние для установки наружного звена, мм; S – толщина внутреннего звена в средней части, мм; b – ширина звеньев внутренняя, мм; l1 – длина впадины внутреннего звена, мм; φ – угол поворота звеньев в плоскости осей шарниров, град.
Условное обозначение тяговых разборных цепей содержит наименование изделия («цепь»), обозначение типа цепи, шаг цепи, мм, разрушающую нагрузку цепи, кН, и обозначение стандарта.
Например, цепь тяговая разборная типа Р1 с шагом 80 мм и разрушающей нагрузкой 106 кН обозначается: «Цепь P1 – 80 – 106 ГОСТ 589–74».
Вильчатые цепи (рис. 4.8) имеют массивные звенья, так как из-за тяжелых условий эксплуатации (трение по дну желобов в среде абразивного груза и т. д.) они подвержены износу. Запас прочности по этой причине выбирают повышенным (до 12…15). Параметры вильчатых цепей установлены по ГОСТ 12996–79. Эта монолитность звеньев – основное достоинство таких цепей, она обеспечивает повышенную надежность. Недостатками являются высокая трудоемкость изготовления, значительные удельные нагрузки в шарнирах цепи и связанный с этим износ.

Рис. 4.7. Цепи тяговые разборные: 1 – звено внутреннее; 2 – звено наружное; 3 – валик
Цепи тяговые вильчатые изготовляются трех типов (рис. 4.8): Р1 – разборная, с фиксацией пальца проволочным шплинтом; Р2 – легкоразборная, с фиксацией пальца штифтом-шпонкой; РЗ – разборная, с фиксацией пальца проволочным штифтом, реверсивная.

Рис. 4.8. Цепи тяговые вильчатые: 1 – шайба;
2 – шплинт; 3 – звено; 4 – палец; 5 – штифт-шпонка
Эти цепи могут быть двух категорий прочности: Н – нормальной; В – высокой.
Для вильчатых тяговых цепей по ГОСТ 12996–79 рекомендуется следующий ряд скоростей: 0,16; 0,2; 0,25; 0,315; 0,4 м/с.
Условное обозначение тяговых вильчатых цепей содержит наименование изделия («цепь»), обозначение типа цепи, шаг цепи, мм, обозначение категории прочности цепи и обозначение стандарта.
Например, цепь типа Р2 с шагом 160 мм и высокой категории прочности обозначается: «Цепь Р2 – 160 В ГОСТ 12996–79».
На рис. 4.8 обозначены размеры, мм: t – шаг цепи; B – ширина звена; S – толщина вилки звена; S1 – толщина стержня звена; S2 – толщина хвостовика звена; S3 – толщина вилки по выступам; l – расстояние между внутренними поверхностями вилки; l1 – длина пальца; l2 – длина вилки звена; d – диаметр пальца; d1 – диаметр отверстия под шплинт;
D – диаметр выступов цепи.
Разборные и вильчатые цепи рассчитываются также по разрывному усилию по условию (4.1) при соответствующих коэффициентах запаса.
4.3. Конвейерные ленты
Конвейерная лента – основной элемент ленточного конвейера. От правильного выбора, монтажа и эксплуатации лент в большой степени зависит надежность работы и срок службы конвейера. Лента – наименее долговечный и наиболее дорогостоящий элемент, стоимость которого достигает 50 % общей стоимости конвейера.
В конвейерах применяются следующие разновидности лент:
· резинотканевые;
· резинотросовые;
· стальные (ленточного и плетеного типов).
Требования, предъявляемые к лентам:
– высокая прочность;
– малый вес;
– незначительное удлинение при работе;
– эластичность и высокая гибкость;
– невосприимчивость к влаге.
Преимущества лент:
– сочетание функций тягового и грузонесущего элементов;
– малая масса;
– простота конструкции;
– отсутствие быстроизнашивающихся шарниров.
Недостатки лент:
– необходимость обеспечения большого первоначального натяжения;
– усложнение привода;
– небольшой срок службы;
– сложность текущего ремонта и очистки;
– повышенное удлинение (может достигать 4 % у резинотканевых лент).
Резинотканевые ленты. Резинотканевые конвейерные ленты, получившие наибольшее применение в ленточных конвейерах, изготовляют по ГОСТ 20–85*. Конструкция резинотканевой ленты в общем виде представлена на рис. 4.9.
Рис. 4.9. Конструкция и параметры резинотканевой ленты: В – ширина ленты; dл – толщина ленты; dв – толщина верхней обкладки; dн – толщина нижней обкладки; 1 – тяговый каркас из тканевых прокладок; 2 – защитная ткань (брекер); – заполнитель из резинокаучуковой смеси
Резинотканевая лента имеет тяговый каркас из определенного количества тканевых прокладок (на рис. 4.9 показан каркас из четырех прокладок), пропитанных резинокаучуковой смесью и завулканизированных в единое целое, покрытый со всех сторон защитным эластичным заполнителем также из резинокаучуковой смеси. Тяговый каркас воспринимает продольные растягивающие усилия в ленте и обеспечивает ей необходимую поперечную жесткость, а заполнитель предохраняет каркас от воздействия влаги, механических повреждений и истирания перемещаемым грузом, образуя над каркасом верхнюю (грузонесущую) и под каркасом – нижнюю (опорную) обкладки. Сверху над первой прокладкой каркаса в лентах, подвергающихся ударным нагрузкам, укладывают иногда грубую и разреженную защитную (брекерную) ткань, предохраняющую каркас от повреждений при тяжелых условиях эксплуатации. По бокам прокладки каркаса защищают борта, которые при легких условия работы могут отсутствовать.
Ткань прокладки состоит из продольных нитей основы и поперечных нитей утка. Наиболее употребительны ткани из полиэфирных лавсановых (типа ТЛ), капроновых (типа ТК), анидных или нейлоновых (типа ТА) и комбинированных хлопчатобумажных с лавсаном (типа БКНЛ) волокон. Ленты с прокладками из хлопчатобумажной ткани (бельтинга) применяются редко.
Прочность ленты характеризуется усилием разрыва полоски тканевой прокладки шириной 1 см, называемым прочностью ленты
, значение которого, Н/мм, указывается цифрами в обозначении ткани прокладок.
При выборе типа ленты учитываются условия работы конвейера, характеристики перемещаемого груза и необходимая прочность. При перемещении большинства грузов, в том числе пищевых, применяются ленты общего назначения.
По ГОСТ 20–85* для конвейеров общего назначения предусмотрен выпуск гладких резинотканевых конвейерных лент типов 1, 2, 3 и 4 при перемещении сыпучих, кусковых и штучных грузов.
Ниже приведено описание указанных типов резинотканевых лент.
Лента типа 1 (подтип 1.1 – для очень тяжелых, подтип 1.2 – для тяжелых условий эксплуатации) – минимальная ширина ленты 800 мм; лента имеет резиновые обкладки рабочей и нерабочей поверхности и резиновые борта; каркас ленты из материала типа ТК-200, ТА-300,
ТК-300, МК-300/100, ТА-400, ТК-400 и др. с нитями основы и утка из синтетического волокна с прочностью прокладки от 200 до 400 Н/мм; между тканевыми прокладками каркаса должны быть резиновые прослойки; под резиновой обкладкой рабочей поверхности имеется защитная тканевая прокладка или брекерная ткань; минимальные толщины рабочей/нерабочей наружных резиновых обкладок – 6/2 мм; классы резины по физико-механическим показателям для наружных обкладок ленты А или Б; транспортирование высокоабразивных и абразивных крупнокусковых грузов, например, руд черных и цветных металлов, крепких горных пород кусками размером до 500 мм, известняка, доломита и других крупнокусковых материалов кусками размером до 500 мм; лента может быть общего назначения (1.1 и 1.2), морозостойкая (1.1М и 1.2М) и трудновоспламеняющаяся (1.2Ш и 1.2ШМ); температура окружающего воздуха – от минус 60 до плюс 60 °С.
Пример условного обозначения. Лента конвейерная типа 1, подтипа 1.1 общего назначения, шириной 1600 мм, с четырьмя прокладками из ткани ТК-300, с рабочей обкладкой 8 мм и нерабочей – 2 мм из резины класса А: «Лента 1.1 – 1600 – 4 – ТК-300 – 8 – 2 – А ГОСТ 20–85*».
Лента типа 2 – минимальная ширина ленты 300 мм; лента имеет резиновые обкладки рабочей и нерабочей поверхности; изготовляют с резиновыми или нарезными бортами; каркас ленты из материалов типа: ТА-100, ТК-100, ТА-150, ТК-200-2, ТЛК-200, ТА-300, ТК-300 с нитями основы и утка из синтетического волокна, с прочностью прокладки от
100 до 300 Н/мм и из тканей из комбинации полиэфирного и хлопчатобумажного волокна типа БКНЛ-55 с прочностью прокладки 55 Н/мм; минимальное число прокладок каркаса 2; между тканевыми прокладками каркаса должны быть резиновые прослойки; минимальные толщины рабочей/нерабочей наружных резиновых обкладок 3/1 мм; классы прочности резины по физико-механическим показателям для наружных обкладок ленты: А, Б, И, М, Г-1, Г-2, Т-1, Т-2, Т-3; лента типа 2 общего назначения в зависимости от вида транспортируемого груза подразделяется на подтип 2.1 (руды черных и цветных металлов, крепкие горные породы кусками размером до 100 мм; кокс, известняк и другие высокоабразивные и абразивные материалы кусками размером до 100 мм и штучные грузы) и подтип 2.2 (уголь рядовой, глина, цемент, мягкие породы и другие малоабразивные материалы кусками до 150 мм); другие виды лент типа 2 – морозостойкая (2М, 2ЛМ), теплостойкая (2Т1, 2Т2 и 2Т3), пищевая (2ПЛ); трудновоспламеняющаяся (2Ш и 2ШМ); температура транспортируемого груза в зависимости от типа ленты – от минус 60 до плюс 200 °С; температура окружающего воздуха в зависимости от типа ленты – от минус 60 до плюс 60 °С.
Для лент типа 2 после класса обкладочной резины следует указывать вид борта: «РБ» – резиновый борт; «НБ» – нарезной борт.
Пример условного обозначения. Лента конвейерная типа 2, теплостойкая, шириной 800 мм, с шестью прокладками из ткани ТК-100, с рабочей обкладкой толщиной 8 мм и нерабочей – 2 мм из резины класса Т-1 с нарезными бортами: «Лента 2Т1 – 800 – 6 –ТК-100 – 8 – 2 – Т-1 – НБ ГОСТ 20–85*».
Лента типа 3 – минимальная ширина ленты 100 мм; основная характерная особенность – односторонняя резиновая обкладка с рабочей стороны ленты и нарезные борта; лента может изготовляться с нижней тканевой прокладкой каркаса, завернутой вокруг бортов каркаса к рабочей поверхности ленты; каркас ленты изготовляют из комбинированных тканей типа БКНЛ-55, с прочностью прокладки по основе 55 Н/мм или из синтетических тканей типа ТА-100, ТК-100 с нитями основы и утка из синтетического волокна, с прочностью прокладки по основе 100 Н/мм; минимальное число прокладок каркаса – 2; минимальная толщина рабочей наружной резиновой обкладки 2 мм; классы прочности резины по физико-механическим показателям для верхней наружной обкладки ленты: И, Б, П; лента применяется в легких условиях эксплуатации (транспортирование малоабразивных и неабразивных мелкокусковых сыпучих грузов типа земля, зола, известь, мел, опилки, сода с кусками размером до 80 мм, продуктов сельского хозяйства, мелких штучных и пакетированных грузов); может быть общего назначения (тип 3) и пищевая (тип 3П); температура окружающего воздуха для ленты общего назначения от минус 45 до плюс 60 °С, для пищевой ленты – от минус 25 до плюс 60 °С.
Примеры условного обозначения. Лента конвейерная типа 3, общего назначения, шириной 800 мм, с тремя прокладками из ткани ТК-100, с рабочей обкладкой толщиной 3 мм из резины класса Б: «Лента 3 – 800 – 3 –ТК-100 – 3 – Б ГОСТ 20–85*».
Лента типа 4 – минимальная ширина ленты 100 мм; основная характерная особенность – лента изготовляется одно– или двухпрокладочной с резиновой обкладкой рабочей и нерабочей поверхностей и нарезными бортами; лента применяется в легких условиях эксплуатации (транспортирование малоабразивных и неабразивных мелкокусковых сыпучих грузов с кусками размером до 80 мм аналогично ленте типа 3, продуктов сельского хозяйства, мелких штучных и пакетированных грузов и мелких упакованных пищевых продуктов); может быть общего назначения (тип 4) и пищевая (тип 4П); температура окружающего воздуха от минус 45 до плюс 60 °С.
Пример условного обозначения. Лента конвейерная типа 4, пищевая, шириной 500 мм, с двумя прокладками из ткани БКНЛ-55, с рабочей обкладкой толщиной 2 мм и нерабочей – 1 мм из резины класса П: «Лента 4П – 500 – 2 – БКНЛ-55 – 2 – 1 – П ГОСТ 20–85*».
Разновидности резинотканевых лент. Конвейерные ленты с выступами. Для увеличения сцепления ленты с транспортируемым материалом используются специальные рифленые ленты (рис. 4.10) и ленты с выступами (рис. 4.11), предназначаемые для штучных и реже для насыпных грузов с углом естественного откоса 30...35°. Конструктивной основой для этих лент является обычная стандартная лента, на рабочей поверхности которой сделаны выступы высотой 2... 25 мм.

Рис. 4.10. Конструкции поверхностей рифленых лент
Необходимость в применении рифленых лент проявляется при транспортировании грузов в крутонаклонном направлении, а также в случае транспортирования мелких единичных грузов, которые не должны перемещаться по поверхности ленты и контактировать друг с другом (например, в пищевой промышленности).
![]() |


Рис. 4.11. Конвейерные ленты с выступами: а – примеры расположения
выступов на рабочей поверхности ленты; б – конструкция ленты
Для транспортирования насыпных грузов под углом 35...38° рекомендуются ленты с угловыми выступами, имеющие вертикальные прорези для их перегиба на желобчатых роликоопорах, а также ленты со смещенными относительно друг друга выступами. Для транспортирования насыпных грузов под углом 25...28° рекомендуются ленты с поперечными выступами, имеющими длину, равную 1/3…1/2 ширины ленты. Высота выступов на ленте для транспортирования песка, гравия, угля, известняка мелкого дробления составляет 6...10 мм, для рядового насыпного груза – 10...16 мм и для крупнокускового – 16...25 мм.
Для очистки таких лент от налипших частиц грузов средней влажности используются виброочистные устройства или вращающиеся щетки с капроновыми нитями. Скребковые очистные устройства применяются редко. При транспортировании влажных и липких грузов используется гидравлический метод очистки ленты. Для предотвращения обратного движения материала через выступ на ленте максимальный размер транспортируемых кусков должен быть меньше удвоенной высоты выступов.
Конвейерные ленты с перегородками. Эти ленты применяют при угле подъема конвейера до 60...70°. Плоская лента в зависимости от ее ширины может иметь одну, две и три поперечные перегородки с шагом 200...600 мм (рис. 4.12).
С их помощью можно транспортировать насыпные грузы с кусками размером до 30 мм под углом до 60°. Для обеспечения прохождения ленты по дисковым роликам холостой ветви между перегородками предусмотрены дорожки.
а б

Рис. 4.12. Ленты с перегородками: а – углового типа; б – лоткового типа
На рис. 4.13 представлен конвейер для крутонаклонного перемещения насыпного груза с использованием ленты с гофрированными бортами и перегородками.
В зависимости от угла подъема и вида груза перегородки могут иметь различную конфигурацию (рис. 4.14).

Рис. 4.13. Конвейер с гофрированными бортами и перегородками

Рис. 4.14. Виды перегородок; h – высота, S – толщина
Расчет резинотканевых лент. Необходимое число прокладок тягового каркаса
,
где
– максимальное расчетное натяжение ленты (рабочая нагрузка по основе), Н;
– максимально допустимая рабочая нагрузка одной тяговой прокладки каркаса ленты, Н/мм, (здесь
, Н/мм, – номинальная прочность при разрыве тяговой прокладки каркаса ленты выбранного типа;
– коэффициент запаса прочности,
= 8 – для горизонтальных,
= 10 – для наклонных конвейеров); В – ширина ленты, мм. Значение коэффициента можно рассчитать уточненно:
,
где kо = 7 – номинальный запас прочности при установившемся движении; kпр – коэффициент неравномерности работы прокладок, принимается предварительно по типу ленты, при количестве прокладок в данном типе равном 2; 3; 4; 5; 6; 7 коэффициент равен 0,97; 0,95; 0,9; 0,88; 0,85; 0,82 соответственно; kст – коэффициент прочности стыкового соединения ленты: для вулканизированного стыка kст = 0,9…0,85; для стыка при помощи скоб kст = 0,5; для стыка внахлест с заклепками
kст = 0,3…0,4; kт – коэффициент конфигурации трассы конвейера: для горизонтального конвейера kт = 1; для наклонного прямолинейного kт = 0,9; для наклонного со сложным профилем kт = 0,85; kр – коэффициент, учитывающий режим работы конвейера: kр = 1,2; 1,1; 1,0; 0,95; 0,85 для весьма легкого, легкого, среднего, тяжелого и весьма тяжелого режимов соответственно.
После расчета принимают ближайшее большее целое число прокладок, предусмотренное данным типом ленты.
Резинотросовые ленты. Резинотросовые ленты в качестве тягового каркаса имеют стальные тросы, поверхность которых латунизирована для лучшего сцепления с резиновой смесью (рис. 4.15). Для обеспечения каркасности ленты тросы окружает тканевая прокладка.
Резинотросовые ленты применяют в тяжелонагруженных конвейерах, работающих на подъем, или конвейерах большой длины.
Преимущества резинотросовых лент:
– высокая прочность;
– малое удлинение при рабочих нагрузках (до 0,25 %);
– повышенный срок службы.
Недостатки резинотросовых лент:
– большая по сравнению с резинотканевыми лентами масса;
– сложность стыковки;
– меньшая стойкость к продольным порывам.
Толщина верхней и нижней поверхностей обкладки составляет
5,5 мм каждая; диаметр тросов варьируется от 4,2 до 11,5 мм; шаг расположения тросов – от 9 до 18 мм; ширина ленты – от 800 до 2500 мм. Прочность ленты может достигать 6000 Н/мм.

Рис. 4.15 Резинотросовая лента: B – ширина ленты, мм; K – расстояние
от центра крайнего троса до борта ленты, мм; t – шаг тросов, мм; H – толщина ленты, мм; Bс – ширина тягового каркаса, мм; h’о – толщина верхней поверхности обкладки, мм; hс – толщина тягового каркаса, мм; h’’о – толщина нижней поверхности обкладки, мм
Стальные ленты. Стальная холоднокатаная лента имеет толщину 1 мм и ширину до 800 мм; более широкие ленты собирают из отдельных полос, соединяемых продольными заклепочными швами. Существуют стальные ленты плетеного типа (проволочные, представляющие собой сетку). Изготавливают их из углеродистой стали, например типа 65Г.
Стальные ленты применяют для транспортирования горячих и крупнокусковых острокромочных грузов, химически агрессивных грузов; ленты плетеного типа помимо указанных применений, также широко используются в пищевой промышленности (на обработке различного сырья, мясоперерабатывающих и рыбоперерабатывающих производствах и т. д.)
Преимущества стальных лент:
– выдерживают значительные температурные воздействия (проволочные ленты используются при температуре до 1100 оС);
– малый износ;
– незначительная вытяжка;
– простота стыковки.
Недостатки стальных лент:
– большие размеры направляющих устройств (барабанов) в силу меньшей гибкости ленты;
– неравномерность получения желобчатой формы;
– часто требуют установки неподвижных бортов из-за склонности сбегания с продольной оси конвейера;
– опасны при эксплуатации в случае разрыва.
4.4. Канаты
Канаты в качестве тяговых элементов машин непрерывного транспорта применяются значительно реже лент и цепей. Основное применение – в элеваторах, а также в ленточно-канатных конвейерах, в которых лента выполняет роль только грузонесущего элемента, а тяговым является канат (канаты).
Преимущества канатов:
– высокая прочность;
– относительно небольшой вес;
– пространственная гибкость, что дает возможность применять их в конвейерах со сложной пространственной трассой;
– возможность применения в стесненных условиях;
– отсутствие быстроизнашивающихся шарниров.
Недостатки канатов:
– сложность надежного крепления рабочих органов;
– недопустимы перегибы с малым радиусом, так как возможно возникновение заломов, расплетения, корзинообразных деформаций и т. д.
– при работе в среде абразивного груза и при волочении по желобам подвержены износу проволок.
Обычно применяются стальные канаты, аналогичные канатам, используемым в грузоподъемных машинах.
Вместе с этой лекцией читают "Коммуникация в организациях".
КОНТРОЛЬНЫЕ ВОПРОСЫ И ЗАДАНИЯ
1. Назовите виды тяговых органов конвейеров.
2. Назовите общие требования, предъявляемые к гибким тяговым органам конвейеров.
3. Назовите конструкции тяговых цепей, применяемых в конвейерах. Чем обосновано использование того или иного вида цепи? Как производится расчет цепи?
4. Назовите конструкции лент, применяемых в конвейерах. Чем обосновано применение того или иного вида ленты? Как производится расчет ленты?
5. В чем заключается главная функциональная особенность лент по сравнению с тяговыми цепями?


































