Роликовые конвейеры
ЛЕКЦИЯ 17. Роликовые конвейеры
План лекции
17.1. Общие сведения. Классификация и устройство
роликовых конвейеров.
17.2. Параметры и конструкции роликовых конвейеров.
17.3. Расчет роликовых конвейеров.
17.1. Общие сведения. Классификация
и устройство роликовых конвейеров
Роликовые конвейеры используют для транспортирования разнообразных штучных и тарных грузов – узлов и деталей машин и механизмов, ящиков, прокатных балок, досок, брусков, труб, металлических листов, насыпных грузов в мешочной таре и т. д. Конвейеры этого типа находят широкое применение в механических цехах заводов, прокатных цехах металлургических заводов, на предприятиях легкой, пищевой и деревообрабатывающей промышленности, в транспортных, заводских и торговых складах.
Рекомендуемые материалы
Наибольшее распространение благодаря своим конструктивным и эксплуатационным особенностям роликовые конвейеры получили как средство механизации погрузочно-разгрузочных и складских работ. Конвейеры часто применяют как составной элемент в перегрузочных устройствах для штучных грузов, в технологических машинах и линиях на приеме и выдаче грузов и на межоперационном транспорте внутри линий.
Роликовые конвейеры по конструктивным и эксплуатационным особенностям делятся на два основных самостоятельных типа: а) конвейеры неприводные, гравитационные, у которых движение груза происходит под действием собственного веса вследствие небольшого наклона полотна конвейера в сторону движения; б) конвейеры приводные, у которых ролики вращаются или непосредственно от электродвигателя (индивидуальный привод), или через зубчатые, цепные, ременные и канатные передачи от общего привода (групповой привод). В этом случае грузы перемещаются вращающимися роликами за счет сцепления, возникающего между опорной поверхностью груза и роликами. На
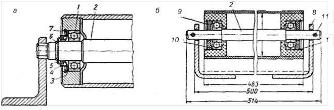
рис. 17.1, а показана схема приводного роликового конвейера с групповым приводом от центрального вала с коническими зубчатыми колесами, а на рис. 17.1, б – схема неприводного роликового конвейера.
Неприводные роликовые конвейеры имеют характерную особенность: в зависимости от конструкции роликов и их опор, веса и вида груза скорость движения последнего по наклонному роликовому настилу имеет определенный предел, ограничивающий производительность конвейера. Скорость движения груза по конвейеру нестабильна, так как обусловливается рядом факторов, не поддающихся регулировке (неопределенность коэффициентов трения, неизбежные неточности монтажа, различное состояние поверхностей транспортируемых грузов и т. п.). Положение груза на роликовом полотне также может быть легко нарушено вследствие загрязнения полотна, неровностей опорной поверхности груза, неточного расположения роликов и т. д. В связи с этим гравитационные роликовые конвейеры, применяемые в современных транспортно-технологических линиях для массовых грузов, часто оснащают различными дополнительными устройствами, обеспечивающими подачу грузов в заданном темпе и в определенном положении. К таким устройствам относятся тормозные участки, направляющие и выравнивающие шины, отдельные приводные ролики на участках входа или выхода и т. д.

Рис. 17.1. Роликовые конвейеры: а – приводной роликовый
с групповым приводом от центрального вала с коническими
зубчатыми колесами; б – неприводной роликовый
Приводные роликовые конвейеры обеспечивают подачу грузов с заданными скоростью и темпом, однако положение груза на полотне конвейера может быть легко нарушено, поэтому и для этих конвейеров часто необходимы направляющие и выравнивающие устройства.
Неприводные роликовые конвейеры применяют иногда и как негравитационные. В этих случаях полотно конвейера располагают горизонтально, а перемещение груза производят вручную или с помощью толкающих устройств. Последний способ часто используют в различных перегрузочных устройствах.
Роликовые конвейеры бывают стационарные, передвижные и переносные. Передвижные конвейеры обычно имеют ходовые колеса. Передвижные и переносные конвейеры распространены в промышленных, транспортных и торговых складах общего назначения, где из таких конвейеров в сочетании с криволинейными вертикальными и горизонтальными секциями конвейеров других типов (ленточных, пластинчатых) быстро монтируют и демонтируют транспортные системы для выполнения определенной складской операции.
17.2. Параметры и конструкции роликовых конвейеров
Роликовые конвейеры могут быть одно- и многорядные (рис. 17.2).

Рис. 17.2. Схемы роликовых неприводных конвейеров общего назначения: а – однорядный конвейер; б – однорядный конвейер с двухрядным поворотным участком; в – многорядный конвейер
Ширину рамы B многорядных роликовых конвейеров определяют конструктивно при соблюдении нормированной длины ролика. Угол наклона гравитационных конвейеров принимается в зависимости от вида груза и его массы. Обычно лежит в пределах от 1 до 3 градусов. Минимальная скорость движения груза на гравитационном конвейере принимается 0,35 м/с, наибольшая – 2 м/с.
Диаметр ролика dр может быть принят 57, 73,105 и 155 мм. Шаг роликов t рекомендуется выбирать из ряда: 50, 60, 80, 100, 160, 250, 350, 500, 700 и 900 мм. Радиусы поворотных участков конвейера R выбирают из ряда: 630, 1600, 2500, 4000 и 6300 мм.
Основным элементом конвейера является ролик. На рис. 17.3 показаны опорные узлы роликов. Ролик конвейера общего назначения
(рис. 17.3, а) состоит из шарикоподшипника 1, оси 2, лабиринтных колец 3 и 4, лабиринтной крышки 5 и запорных колец 6 и 7. Особенностью конструкции ролика является лабиринтное уплотнение из трех штампованных элементов. Такой ролик изготовлен из стальной бесшовной трубы, причем предусматривается исполнение ролика как с обработанной, так и с необработанной поверхностью (для уменьшения износа ролика, однако неприменимы для перемещения отдельных категорий грузов). Соединение трубы ролика со вкладышем осуществляется закаткой торца трубы.
Рис. 17.3. Ролики конвейера: а – общего назначения; б – для легких грузов; 1 – шарикоподшипник; 2 – ось; 3, 4 – лабиринтные кольца; 5 – лабиринтная крышка; 6, 7 – запорные кольца; 8 – рама; 9 – вкладыши;
10 – крышка; 11 – обвязка
Для легких грузов (при погонной нагрузке до 100 кг/м) применяют пластмассовые ролики. Такой ролик (рис. 17.3, б) имеет легкую раму 8 из гнутых профилей. Вкладыши 9 и крышки 10 ролика также пластмассовые (полихлорвиниловые). Стальная ось 2 имеет шарикоподшипники с заторможенными кольцами 1. Для предотвращения проворачивания оси служит проволочная обвязка 11. Вкладыш соединен с трубой обваркой по окружности с торца ролика.
Шаг таких роликов принимается равным 70 мм, что обеспечивает транспортирование небольших грузов и мешков с насыпными грузами.
Вращение роликов приводных конвейеров может осуществляться при помощи конических передач, вращаемых от общего приводного вала (цельного или шарнирного), идущего вдоль конвейера, или от цепных и клиноременных передач, соединяющих последовательно каждую пару роликов. Приводные конвейеры с цепными или клиноременными, последовательными, от ролика к ролику, передачами позволяют создавать так называемые разгонные или замедлительные конвейеры, т. е. конвейеры, у которых скорость вращения роликов в начале и конце конвейера различная. Достигается это изменением числа зубьев у ведомой и ведущей звездочек каждой пары передач, например на один зуб. Более простая схема привода – общая для всех роликов приводная цепь, иногда применяется стальной канат.
Для крупногабаритных и тяжелых грузов, перемещающихся с большой скоростью и реверсивно, тяжелые ролики диаметром 250…400 мм имеют индивидуальные редукторные приводы.
Имеются приводные роликовые конвейеры с мотор-барабанами, у которых каждые два или три ролика неприводные, а следующий, третий или четвертый ролик является мотор-барабаном. В полости такого мотор-барабана в одном его конце размещен специальный электродвигатель, а в другом конце планетарная передача.
Схемы основных узлов неприводных роликовых конвейеров приведены на рис. 17.4.

Рис. 17.4. Схемы основных узлов неприводных роликовых конвейеров: а – прямолинейные секции; б – криволинейные поворотные секции; в – поворотный роликовый стол;
г – поворотный шариковый стол; д – стрелочное разветвление; е – шарнирная распределительная секция
Для транспортирования легких грузов, когда не предъявляются высокие требования к соблюдению темпа подачи грузов, целесообразно применять роликовые конвейеры с приводом от прорезиненной ленты. У этих конвейеров ролики получают вращение от узкой прорезиненной ленты, проходящей между основными и дополнительными прижимными роликами.
Приводные роликовые конвейеры могут иметь горизонтальную, наклонную и горизонтально-наклонную трассы перемещения грузов. У наклонного конвейера угол наклона должен быть меньше угла трения груза о поверхность ролика, чтобы не происходило сползание груза.
Направление перемещения грузов по роликовым конвейерам может быть как прямолинейным, так и сложным (характерно в большей степени для неприводных конвейеров), имеющим повороты, переходы, стрелочные разветвления и т. д.
17.3. Расчет роликовых конвейеров
Шаг роликов должен лежать в следующем диапазоне:
,
где lг – длина груза.
Средняя нагрузка на один ролик может определяться по табл. 17.1. Эта нагрузка является расчетной для выбора ролика.
Таблица 17.1
Нагрузка на ролик
| Диаметр ролика, мм | Статическая нагрузка, Н, на ролик при длине ролика, мм | ||||||||||
| обработанного | необ- рабо- танно- го | 160 | 200 | 250 | 320 | 400 | 500 | 650 | 800 | 1000 | 1200 |
| 40 | 42 | 980 | 930 | 980 | 980 | 980 | 784 | 588 | — | — | — |
| 57 | 60 | — | 2940 | 2940 | 1960 | 1960 | 1568 | 980 | 980 | — | — |
| 73 | 76 | — | 4900 | 4900 | 4900 | 4900 | 4900 | 3920 | 3920 | 2940 | — |
| 105 | 108 | — | — | — | 9800 | 9800 | 9800 | 9800 | 9800 | 7840 | 7840 |
| 155 | 159 | — | — | — | 19600 | 19600 | 19600 | 19600 | 19600 | 19600 | 15680 |
Производительность конвейера, т/ч,
,
где v – скорость движения груза, м/с; т – масса одного груза, кг; tг – шаг расположения грузов на конвейере, м.
Штучная производительность конвейера, шт./ч,
.
Число грузов, одновременно находящихся на конвейере, шт.,
,
где L – длина конвейера, м.
Сопротивление движению одного груза на неприводном горизонтальном конвейере, Н,
,
где μ – коэффициент трения качения груза по роликам (зависит от материала груза): для строительных деталей μ = 10–3 м; для металлических деталей μ = 5·10–4 м; D – диаметр ролика, м; тр – масса одного ролика, кг; z' – число роликов, на которых лежит груз,
, при дробном значении принимается ближайшее большее целое; f – коэффициент трения в цапфе ролика, для подшипников качения 0,03…0,06, для подшипников скольжения 0,15…0,25, меньшие значения – для хороших условий работы; d – диаметр цапфы ролика, м,
; k – коэффициент, учитывающий распределение массы вращающейся части ролика по его поперечному сечению: k = 0,8...0,9; z – число роликов в конвейере; L – длина пути перемещения груза (длина конвейера), м.
Коэффициент сопротивления движению груза на конвейере
.
Необходимый угол наклона β гравитационного конвейера определяется из условия
.
Сопротивление движению, Н, всех грузов, одновременно находящихся на приводном конвейере,
.
Знак «плюс» перед sinβ принимается при движении груза вверх, знак «минус» – при движении груза вниз.
Мощность двигателя приводного конвейера, кВт,
,
где η – кпд передач от двигателя к роликам.
Наибольший крутящий момент, передающийся на один ролик приводного конвейера, Н·м,
,
где k1 – коэффициент неравномерности распределения груза на ролики, k1 = 1,15...1,2.
Бесплатная лекция: "36 Уголовная ответственность юридических лиц" также доступна.
КОНТРОЛЬНЫЕ ВОПРОСЫ И ЗАДАНИЯ
1. Назовите назначение и область применения роликовых конвейеров.
2. Назовите виды роликовых конвейеров.
3. Назовите виды приводов роликов роликовых конвейеров.
4. Приведите расчет производительности роликовых конвейеров.
5. Приведите расчет сопротивлений движению груза на роликовом конвейере и расчет мощности привода.






















