Винтовые конвейеры
ЛЕКЦИЯ 16. Винтовые конвейеры.
транспортирующие машины винтового типа
План лекции
16.1. Винтовые конвейеры.
16.2. Транспортирующие винтовые трубы.
16.3. Винтовые конвейеры для штучных грузов (твинвейеры).
16.1. Винтовые конвейеры
Рекомендуемые материалы
16.1.1. Общие сведения о винтовых конвейерах
Винтовыми конвейерами называют машины непрерывного транспорта для перемещения насыпных или тестообразных грузов с помощью винта, вращающегося в желобе.
Загружаемый материал перемещается вдоль желоба аналогично гайке при вращении винта, закрепленного от осевого перемещения.
По направлению перемещения винтовые конвейеры бывают:
– горизонтальные;
– наклонные (до 15…20о);
– вертикальные.
Винтовыми конвейерами перемещают пылевидные, порошкообразные, зернистые, мелкокусковые и реже тестообразные грузы на сравнительно небольшое расстояние – до 40 м по горизонтали, до 30 м по вертикали.
Применяют в химической, пищевой промышленности и стройиндустрии.
Схема горизонтального винтового конвейера показана на рис. 16.1.
|
|
Рис. 16.1. Винтовой конвейер: 1 – привод; 2 – концевые опоры (головная и хвостовая); 3 – подвесные опоры; 4 – винт, 5 – желоб с загрузочными и разгрузочными патрубками и поддерживающими опорами
Насыпной груз подается в желоб через одно или несколько отверстий в его крышке и при вращении винта скользит вдоль желоба. Совместному вращению груза с винтом препятствует сила тяжести груза и трение его о желоб.
Вал винта имеет концевые и промежуточные (подвесные) опоры. Одна концевая опора должна иметь упорный подшипник и располагаться так, чтобы от действующей на винт осевой силы вал винта работал на растяжение.
Преимущества винтовых конвейеров:
– простота устройства и несложность технического обслуживания;
– небольшие габаритные размеры;
– удобство промежуточной разгрузки;
– отсутствие потерь транспортируемых материалов;
– безопасность в работе и обслуживании, пригодность для транспортирования пылящих, горячих и токсичных материалов за счет герметичности.
Недостатки:
– высокий расход энергии;
– истирание и измельчение перемещаемого материала;
– интенсивный износ винта и желоба при транспортировании абразивных материалов;
– непригодность для перемещения крупнокусковых, липких и сильно увлажненных материалов;
– чувствительность к перегрузкам (образование скопления грузов).
16.1.2. Конструктивные особенности винтовых конвейеров
Винты конвейеров (рис. 16.2) выполняют с постоянным или переменным диаметром винта, с постоянным или переменным шагом винта, с однозаходным или двухзаходным винтом, с правым, левым или комбинированным направлением спирали винта.
Сплошные винты применяют для транспортирования сухих, порошкообразных, мелкозернистых материалов (цемент, мел, гипс, зола, сухой песок и др.). Винт не допускает обратного пересыпания материала и поэтому при одинаковых диаметрах и числах оборотов дает большую производительность, чем винты других типов.
|
|
|
|
Рис. 16.2. Винты винтовых конвейеров: а – сплошной; б – ленточный;
в – фасонный; г – лопастный; t – шаг винта, м; D – диаметр винта, м
Такие винты работают в большинстве случаев с числом оборотов в минуту, равным 50…120. Ленточные винты применяют при транспортировании кусковых или влажных материалов (гравия, песчаника, известняка и пр.). Как правило, работают с числом оборотов в минуту, равным 40…100. Лопастные и фасонные винты используют для перемещения слеживающихся и тестообразных материалов (глина, бетон, цементный раствор и пр.) или для транспортных и технологических операций (смешивание, смачивание, интенсивное перемешивание и др.). Здесь число оборотов в минуту лежит в пределах 30…60.
Номинальные числа оборотов винта в минуту должны соответствовать следующему ряду: 6; 7,5; 9,5; 11,8; 15; 19; 23,6; 30; 37,5; 47,5; 60; 75; 95; 118; 150; 190; 236 и 300. Допускаемое отклонение чисел оборотов от номинальных не должно превышать 10 %. Числа оборотов в минуту менее 6 не регламентируются.
Ряды диаметров винта и его шага для конвейеров общего назначения, мм, приведены в табл. 16.1.
Таблица 16.1
Размеры винтов
| Диаметр винта | 100 | 125 | 160 | 200 | 250 | 320 | 400 | 500 | 650 | 800 |
| Шаг винта | 100 80 | 125 100 | 160 125 | 200 160 | 250 200 | 320 250 | 400 320 | 500 400 | 650 500 | 800 650 |
Важное значение для оптимальной работы винтовых конвейеров имеет коэффициент наполнения желоба
. Он зависит от вида применяемого винта и может быть выражен по следующей зависимости:
,
где F – площадь поперечного сечения потока груза (рис. 16.3); Fв – торцовая площадь винта.
Как правило, угол расположения материала в желобе, образованный при вращении винта, составляет около 45о для большинства насыпных грузов. Коэффициент же заполнения желоба
составляет: для сплошных винтов 0,3…0,5; для ленточных винтов 0,25…0,4; для фасонных и лопастных винтов 0,15…0,3.
Вал винта чаще всего изготавливают из цельнотянутой трубы, к которой приваривается винтовая поверхность из стальной полосы толщиной 2…8 мм или отдельные лопасти, имеющие общую винтовую направленность. Винты небольшого диаметра могут выполняться литыми чугунными.
Желобы, как правило, изготовляют сварными из листового металла толщиной 4…8 мм. Зазор между желобом и винтом – 3…8 мм. Промежуточные опоры вала винта устанавливаются через каждые 2,5…3 м.
В зависимости от конструкции винта различают конвейеры
(рис. 16.4) распределительные и собирающие.

Рис. 16.3. Заполнение витка винта материалом

Рис. 16.4. Винтовые конвейеры: а – распределительный; б – собирающий
16.1.3. Расчет винтовых конвейеров
Шаг винта и диаметр связаны соотношением
,
где k – коэффициент пропорциональности, для конвейеров общего назначения для большинства перемещаемых насыпных грузов k = 0,8. Для легкоперемещаемых грузов допускается принимать k = 1. В некоторых случаях, например при перемещении тяжелых абразивных грузов, коэффициент может быть уменьшен до 0,65…0,7.
Диаметр вала винта, мм,
,
где D, мм.
Расчет производительности
Массовая производительность, т/ч, в общем виде
,
где F, м2; v – скорость движения груза, м/с; ρ – насыпная плотность груза, кг/м3.
Площадь поперечного сечения потока груза, м2,
.
Осевая скорость движения груза, м/с, при числе оборотов винта n и шаге t
.
Тогда производительность, т/ч,
,
или
,
где c – коэффициент, учитывающий обратное ссыпание груза в наклонных конвейерах.
Решая обратную задачу, при необходимости определения параметров конвейера при заданной производительности выражение для нахождения диаметра винта, м, будет следующим:
.
Наибольшая допускаемая частота вращения винта, об/мин, определяется по эмпирической формуле
,
где A – коэффициент, D, м. Для легких и малоабразивных грузов А = 50; для тяжелых малоабразивных грузов А = 45; для тяжелых абразивных грузов А = 30.
Диаметр винта, мм, проверяют по кусковатости груза. Для сортированного груза
,
где a – размер типичных кусков, мм;
для рядового груза
,
где amax – размер наибольших кусков, мм.
При перемещении винтом транспортируемого материала вдоль желоба конвейера работа затрачивается на трение материала о желоб и винт, на трение в подвесных и концевых подшипниках, на проталкивание материала в зоне подвесных подшипников и на перемешивание и дробление материала при движении по желобу.
Величины сопротивлений проталкиванию материала в зоне подвесных подшипников, перемешивания и дробления материала при его транспортировании могут быть установлены только опытным путем.
Потребную мощность, кВт, практически определяют с помощью эмпирических данных по формуле
,
где ω – эмпирический коэффициент сопротивления движению, зависящий от рода транспортируемого груза; для легких и неабразивных грузов ω = 1,2; для тяжелых и абразивных грузов ω = 4,0; L – дальность транспортирования, м; β – угол наклона конвейера к горизонту, град.
Мощность двигателя, кВт,
,
где η – кпд привода
При расчете винтовых конвейеров следует иметь в виду, что конвейеры общего назначения допускают предельные длины транспортирования до 30…50 м. При необходимости применения винтовых конвейеров большей длины они могут быть выполнены двухприводными.
Крутящий момент на валу винта, Н/м:
.
Осевое усилие на винт, Н,
,
где kв – коэффициент, учитывающий, что сила приложена на среднем диаметре винта: kв = 0,7...0,8; D – диаметр винта, м; a – угол подъема винтовой линии винта; l – угол трения груза о винт.
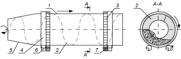
16.2. Транспортирующие винтовые трубы
Винтовая транспортирующая труба (рис. 16.5) вращается на установленных на некотором расстоянии друг от друга парных роликах. Внутри трубы на ее стенках укреплены винтовые витки. При вращении трубы насыпной груз, загруженный внутрь с одной стороны, постепенно пересыпаясь под действием силы тяжести по образуемому витками винтовому желобу, продвигается вдоль оси трубы и высыпается с другого конца.
Труба устанавливается горизонтально или под небольшим углом к горизонту.
Вращение передается трубе от привода с зубчатыми колесами, которые входят в зацепление с зубчатым венцом на поверхности трубы.
В местах опирания трубы на ролики насажены стальные бандажи, которыми она перекатывается по роликам. Для удобства подачи груза со стороны загрузки, как правило, крепится коническая винтовая секция.

Рис. 16.5. Винтовая транспортирующая труба: 1 – труба; 2 – винтовая поверхность; 3 – зубчатый венец; 4 – стальной обод; 5 – передняя конусная винтовая часть; 6 – ролики; 7 – зубчатое приводное колесо
Перемещение груза по трубе в большинстве случаев сопровождается выполнением каких-либо технологических операций – сушки, обжига, смешивания, разделения на фракции и т. д. Длина труб (иногда достигает 200…250 м) определяется временем, в течение которого груз должен находиться в трубе для завершения операции.
Преимущества:
– сравнительная простота и надежность конструкции;
– изоляция по всей длине от внешней среды;
– широкий диапазон производительности и длины.
Недостатки:
– большая масса;
– значительные габаритные размеры;
– высокий расход энергии.
Параметры винтовых труб аналогичны параметрам винтовых конвейеров. Шаг винта обычно принимается
, а коэффициент наполнения трубы ψ = 0,2…0,3. Частота оборотов в минуту составляет от 10 до 60.
При расчете винтовых транспортирующих труб необходимо учитывать условие, при котором груз может передвигаться по трубе. Для этого необходимо обеспечить такую частоту оборотов трубы, которая бы не превышала критического числа, при котором груз под действием центробежной силы не отрывался от трубы, а вращался вместе с ней.
Энергия, затрачиваемая на вращение трубы, расходуется на преодоление сопротивления на опорных роликах и на работу подъема пересыпающегося внутри трубы груза.
16.3. Винтовые конвейеры для штучных грузов (твинвейеры)
Твинвейеры (рис. 16.6) представляют собой двухвинтовые конвейеры с двумя параллельными винтами, выполненными из труб с наружными винтовыми спиралями, имеющими противоположную навивку. Предназначены для перемещения штучных грузов (мешки, ящики и т. д.).

Рис. 16.6. Твинвейер
Преимущества:
– простота конструкции;
– возможность изменения длины и конфигурации трассы;
– высокая производительность.
Недостатки:
– возможность повреждения грузов при дефектах на поверхности винтов;
– самопроизвольное сбрасывание груза в неположенном месте.
Параметры твинвейеров:
– расстояние между осями винтов – 200…300 мм;
– диаметр наваренной проволоки – 8…10 мм;
– длина одной секции – 2,5…3 м;
– допустимый угол взаимного поворота секций – 15°.
Производительность твинвейеров, т/ч,
,
где
– масса единичного груза, кг;
– коэффициент, учитывающий проскальзывание груза, для ящиков принимается равным 0,7…0,8, для мешков – 0,8…0,9; v – скорость движения груза, v = 0,4…0,5 м/с; t – шаг винта, м.
Вместе с этой лекцией читают "16 Возрождение волновой теории света".
КОНТРОЛЬНЫЕ ВОПРОСЫ И ЗАДАНИЯ
1. Назовите назначение и область применения винтовых конвейеров.
2. Назовите виды рабочих элементов винтовых конвейеров и их назначение.
3. Приведите определение параметров и производительности винтовых конвейеров.
4. Назовите назначение и опишите устройство винтовых транспортирующих труб.
5. Назовите назначение и опишите устройство твинвейеров.



























