Виды несоосности валов
76. Виды несоосности валов. Жесткие компенсирующие муфты. Расчет крестовой муфты
![]() |
Различают три вида отклонений от номинального расположения валов:
· продольное смещение Dа (может быть вызвано также температурным удлинением валов);
· радиальное смещение Dr, или эксцентриситет;
· угловое смещение Da, или перекос.
На практике чаще всего встречается комбинация указанных отклонений, которую в дальнейшем будем называть общим термином «несоосность валов». При соединении глухими муфтами несоосные валы в месте установки муфты приводят к одной общей оси путем деформирования валов и опор. Опоры и валы дополнительно нагружаются. Поэтому при соединении глухими муфтами требуется высокая точность расположения валов. Для понижения этих требований и уменьшения вредных нагрузок на валы и опоры применяют компенсирующие муфты. Компенсация вредного влияния несоосности валов достигается:
· вследствие подвижности практически жестких деталей — компенсирующие жесткие муфты;
· за счет деформации упругих деталей—упругие муфты. Так как упругие муфты выполняют еще и другие функции, то их выделяют в особую группу.
Рекомендуемые материалы
Наибольшее распространение из групп компенсирующих жестких муфт получили: кулачково-дисковая(крестовая ) и зубчатая.
Муфта зубчатая. Состоит из полумуфт / и 2 с наружными зубьями и разъемной обоймы 3 с двумя рядами внутренних зубьев. Наиболее распространен эвольвентный профиль зубьев с a=20°, ha*=0,8 Муфта компенсирует все виды несоосности валов. С этой целью выполняют торцовые зазоры с и увеличенные зазоры в зацеплении, а зубчатые венцы полумуфт обрабатывают по сферам радиусами r, центры которых располагают на осях валов. Допускаемые зубчатой муфтой смещения валов (радиальные, угловые или их комбинация) определяют из условия, чтобы углы между осью обоймы и осью одного или другого вала были не больше 0°30'.
Компенсация несоосности валов при работе муфты сопровождается скольжением в местах соприкасания зубьев и их износом. Практикой эксплуатации зубчатых муфт установлено, что износ является основным критерием их работоспособности. Для уменьшения износа в обойму заливают жидкую смазку.
![]() |
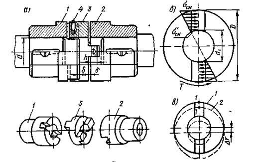
Муфта кулачково-дисковая. Кулачково-дисковая муфта состоит из двух полумуфт / и 2 промежуточного диска 3. На внутреннем торце каждой полумуфты образовано по одному диаметрально расположенному пазу. На обоих торцах диска выполнено по одному выступу, которые расположены по взаимно перпендикулярным диаметрам. У собранной муфты выступы диска располагаются в пазах полумуфт. Таким образом, диск соединяет полумуфты.
Перпендикулярное расположение пазов позволяет муфте компенсировать эксцентриситет и перекос валов. При этом выступы скользят в пазах, а центр диска описывает окружность радиусом, равным эксцентриситету Dr . Зазоры 6 между диском и полумуфтами позволяют компенсировать также и продольные смещения валов. Вследствие того, что перекос валов вызывает неблагоприятное распределение давления в пазах, кулачково-дисковую муфту рекомендуют применять в основном для компенсации эксцентриситета: Dr до 0,04 d; Da до 0°30'.
Скольжение выступов в пазах сопровождается их износом. Интенсивность износа возрастает с увеличением несоосности и частоты вращения. Для уменьшения износа поверхности трения муфты периодически смазывают (отверстие 4 и не допускают на них больших напряжений смятия. Последнее является основным условием расчета всех жестких муфт со скользящими деталями.
При расчете кулачково-дисковых муфт полагают, что натяг и зазор посадки выступов в пазы равны нулю. В этом случае деформации и напряжения в различных точках поверхности соприкосновения пропорциональны расстояниям этих точек до оси муфты; здесь эпюра напряжений смятия условно перенесена с боковых сторон паза на диаметр. Условия равновесия полумуфты можно записать в виде
![]() |
Учитывая, что
(1),
после преобразования получаем
, (2)
где К – коэффициент динамичности режима нагрузки;
h – рабочая высота выступов. На практике принимают
.
Обычно детали кулачково-дисковых муфт изготовляют из сталей Ст5 (поковка) или 25Л (литье). Для тяжелонагруженных муфт применяют легированные стали типа 15Х, 20Х с цементацией рабочих поверхностей. При этом допускают
МПа.
Работа муфты с эксцентриситетом сопровождается потерями на трение и дополнительной нагрузкой валов. Дополнительная нагрузка валов от муфты FM равна силе трения в пазах:

или после преобразования с учетом формул (1) и (2)
.
В этой формуле отношение
принято за радиус приложения некоторой фиктивной окружной силы муфты Ft = КТ/Rср. Приближенно
.
Таким образом, применение компенсирующих муфт значительно уменьшает, но не устраняет полностью вредных нагрузок на валы и опоры, связанные с несоосностью.
Рекомендуем посмотреть лекцию "Вопрос 21".
Для определения потерь на трение в муфте воспользуемся рис.в. Нетрудно установить, что при повороте полумуфты на каждые 90° кулачки перемещаются в пазах на эксцентриситет Dr . Например, после поворота на первые 90° центры полумуфты и диска совмещаются, так как паз полумуфты 1 займет горизонтальное положение, а полумуфты 2 — вертикальное . Таким образом, в пазах каждой полумуфты силы трения совершают работу на пути, равном 4Dr, а в двух полумуфтах—8Dr за каждый оборот вала. Работа, потерянная на трение за один оборот, Wтp = 8DrFM. Полезная работа в то же время WП=2pT, а коэффициент полезного действия муфты
.
Принимая приближенно
получаем
.
Практически при расчетах приводов можно принимать
.























