Контакторы постоянного и переменного тока, параметры, требования
Лекция №12.
Тема лекции:
12. Контакторы постоянного и переменного тока, параметры, требования. Магнитные пускатели.
1. ОБЩИЕ СВЕДЕНИЯ
Контактор – это одноступенчатый аппарат, предназначенный для частых дистанционных включений и отключений электрических силовых цепей. Замыкание контактов контактора может осуществляться электромагнитным или гидравлическим приводом. Наибольшее распространение получили электромагнитные контакторы.
В настоящее время частота коммутаций в схемах электропривода достигает 3600 в час. Этот режим работы является наиболее тяжелым. При каждом включении и отключении происходит износ контактов. Поэтому принимаются меры к сокращению длительности горения дуги при отключении и к устранению вибраций контактов.
Общие технические требования к контакторам и условия их работы регламентированы ГОСТ 11206–77.
Рекомендуемые материалы
Основными техническими данными контакторов являются номинальный ток главных контактов, предельный отключаемый ток, номинальное напряжение коммутируемой цепи, механическая и коммутационная износостойкость, допустимое число включений в час,
собственное время включения и отключения. Способность контактора, как и любого коммутационного аппарата, обеспечить работу при большом числе операций характеризуется износостойкостью. Различают механическую и коммутационную износостойкость. Механическая износостойкость определяется числом циклов включения-отключения контактора без ремонта и замены его узлов и деталей. Ток в цепи при этом равен нулю. Механическая износостойкость современных контакторов составляет (10-20) · 106 операций.
Коммутационная износостойкость определяется таким числом включений и отключений цепи с током, после которого требуется замена контактов. Современные контакторы должны иметь коммутационную износостойкость порядка (2-3) · 106 операций (некоторые выпускаемые в настоящее время контакторы имеют коммутационную износостойкость 106 операций и менее).
Собственное время включения состоит из времени нарастания потока в электромагните контактора до значения потока трогания и времени движения якоря. Большая часть этого времени тратится на нарастание магнитного потока. Для контакторов постоянного тока с номинальным током 100 А собственное время включения составляет 0,14 с, для контакторов с током 630 А оно увеличивается до 0,37 с.
Собственное время отключения – время с момента обесточивания электромагнита контактора до момента размыкания его контактов. Оно определяется временем спада потока от установившегося значения до потока отпускания. Временем с начала движения якоря до момента размыкания контактов можно пренебречь. В контакторах постоянного тока с номинальным током 100 А собственное время отключения составляет 0,07, в контакторах с номинальным током 630 А – 0,23 с.
Номинальный ток контактора
представляет собой ток, который можно пропускать по замкнутым главным контактам в течение 8 ч без коммутаций, причем превыше
ние температуры различных частей контактора не должно быть больше допустимого (прерывисто-продолжительный режим работы). Номинальный рабочий ток контактора
– это допустимый ток через его замкнутые главные контакты в конкретных условиях применения. Так, например, номинальный рабочий ток
контактора для коммутации асинхронных двигателей с короткозамкнутым ротором выбирается из условий включения шестикратного пускового тока двигателя.
Номинальным напряжением называется наибольшее напряжение коммутируемой цепи, для работы при котором предназначен контактор. Вспомогательные контакты должны коммутировать цепи электромагнитов переменного тока, у которых пусковой ток может во много раз превышать установившийся.
Контактор имеет следующие основные узлы: контактную систему, дугогасительное устройство, электромагнит и систему вспомогательных контактов. При подаче напряжения на обмотку электромагнита контактора его якорь притягивается. Подвижный контакт, связанный с якорем электромагнита, замыкает или размыкает главную цепь. Дугогасительное устройство обеспечивает быстрое гашение дуги, благодаря чему достигается малый износ контактов. Система вспомогательных слаботочных контактов служит для согласования работы контактора с другими устройствами.
Контакторы постоянного тока коммутируют цепь постоянного тока и имеют, как правило, электромагнит также постоянного тока.
Контакторы переменного тока коммутируют цепь переменного тока. Электромагнит этих контакторов может быть выполнен либо для работы на переменном токе, либо для работы на постоянном токе. Способность аппарата обеспечивать работу при большом числе операций характеризуется износоустойчивостью. Различают механическую и электрическую износоустойчивость.
Механическая износоустойчивость определяется числом включений-отключений контактора без ремонта и замены его узлов и деталей. Ток в цепи при этом равен нулю. К современным контакторам предъявляется очень высокое требование по механической износоустойчивости (10-20) ·
операций.
Электрическая износоустойчивость определяется числом включений и отключений, после которого требуется замена износившихся контактов. Современные контакторы должны иметь электрическую износоустойчивость порядка 2-3 млн операций. Эти требования очень высоки (часть выпускаемых в настоящее время контакторов имеет электрическую износоустойчивость 106 операций и менее). Наряду с высокой механической и электрической износоустойчивостью контакторы должны иметь малый вес и размеры. Зона выхлопа раскаленных газов дуги должна быть возможно малой, что позволяет сократить размеры всей установки в целом.
Контактор имеет следующие основные узлы: контактную систему, дугогасительную систему, электромагнитный механизм, систему блокконтактов.
При подаче напряжения на катушку электромагнита притягивается якорь. Подвижный контакт, связанный с якорем, производит замыкание или размыкание главной цепи. Дугогасительная система обеспечивает быстрое гашение дуги, благодаря чему достигается малый износ контактов. Кроме главных контактов, контактор имеет несколько дополнительных слаботочных контактов (блок-контактов) для согласования работы контактора с другими аппаратами.
2. УСТРОЙСТВО КОНТАКТОРА С УПРАВЛЕНИЕМ
ОТ СЕТИ ПОСТОЯННОГО ТОКА
а) Контактная система. Контакты аппарата подвержены наиболее сильному электрическому и механическому износу ввиду большого числа операций в час и тяжелым условиям работы. С целью уменьшения износа преимущественное распространение получили линейные перекатывающиеся контакты. В процессе работы контакты большого числа аппаратов разрывают цепь с током, большим, чем минимальный ток дугообразования. Возникающая электрическая дуга способствует быстрому износу контактов.
Для надежного гашения дуги, образующейся при отключении, между неподвижным и подвижным контактами необходимо создавать определенное расстояние. В реальных аппаратах это расстояние выбирается с запасом.
Расстояние между неподвижным и подвижным контактами в полностью отключенном положении аппарата называется раствором контактовВ зависимости от конструкции крепления контактов меняется число контактных точек соприкосновения и стабильность контакта.
Контакт, имеющий возможность свободно устанавливаться на поверхности, имеет максимальное число точек касания. Такой контакт называется самоустанавливающимся. Пример такого контакта дан на рис. 12.1. Неподвижные контакты 1 и подвижный мостиковый контакт 2 в месте касания имеют сферические (или цилиндрические) напайки 3, выполненные из серебра или металлокерамики. Нажатие контактов создается пружиной 4. После касания контактов скоба 5, связанная с якорем электромагнита, продолжает свое движение вверх на величину, равную вжиму (провалу) контакта 6.
Применительно к рис.12.1 провалом (вжимом) контакта называется расстояние, на которое переместится подвижный контакт, если убрать неподвижный контакт. В контактах рис.12.1 пленка окисла не стирается, поэтому медь нельзя использовать в этой конструкции.
На рис.12.1 показана пальцевая система с перекатыванием, широко применяемая в контакторах с медными контактами. Контактный рычаг 4 связывается с якорем электромагнита. При включении центр О перемещается по дуге с радиусом 02Ох(1). Касание пальцев 1 и 2 происходит в точке В. При дальнейшем перемещении точка касания переходит в А. Перекатывание контакта 2 по контакту 1 происходит с небольшим проскальзыванием. При этом пленка окисла на контактах стирается. При включении контактов, из-за шероховатости на поверхности касания появляется дополнительная вибрация контактов. Поэтому величина проскальзывания должна быть небольшой. При отключении дуга загорается между точками В-В, что спасает от оплавления точки А-А, в которых контакты касаются во включенном положении. Таким образом удается разделить контакт на две части: в одной происходит гашение дуги, в другой ток проводится длительно. Поскольку для контактов непосредственный контроль провала контактов б затруднен, о величине провала судят по зазору, образующемуся между рычагом и контактной скобой.



Р и с. 12.1. Конструкции коммутирующих контактов:
а – перекатывающиеся; б – мостиковые; в – сдвоенные
Во всех без исключения аппаратах имеется вжим (провал) контактов, который обеспечивает необходимое нажатие контактов. Вследствие обгорания и износа контактов в процессе эксплуатации вжим уменьшается, что приводит к уменьшению силы нажатия и росту переходного сопротивления контактов. Поэтому в эксплуатации вжим контактов должен обязательно контролироваться и находиться в пределах, требуемых заводом-изготовителем. Особенно это относится к аппаратам, работающим в режиме частых включений и отключений (контакторы), где износ контактов особенно интенсивен. В торцевом мостиковом контакте вжим обычно составляет 3-5 мм. В мощных выключателях высокого напряжения он увеличивается до 8-10 мм.
При больших номинальных токах (более 2 000 А) применяется сдвоенная контактная система (рис.12.1, а). Аппарат имеет главные контакты 1 – 1' и дугогасительные 2 – 2'.
Тело главных контактов выполняется из меди, а поверхности их соприкосновения – из серебра, нанесенного электролитически (слой 20 мк) или в виде припаянных серебряных пластинок.
Тело дугогасительного контакта выполняется из меди. Наконечники дугогасительных контактов выполняются из дугостойкого материала вольфрама или металлокерамики.
Ввиду того, что сопротивление цепи главных контактов значительно меньше, чем дугогасительных, 75-80% длительного тока проходит через главные контакты, имеющие малое переходное сопротивление.
При отключении вначале расходятся главные контакты и весь ток цепи перебрасывается в дугогасительные. Контакты 2 – 2' расходятся в тот момент, когда расстояния между главными контактами достаточно, чтобы выдержать наибольшее напряжение, возникающее в процессе гашения дуги на дугогасительных контактах.
При включении таких контактов вначале замыкаются дугогасительные контакты, а затем главные, что обеспечивает отсутствие дуги и оплавление на серебряных поверхностях главных контактов. Ввиду громоздкости это решение применяется только при очень больших токах в автоматах и выключателях высокого напряжения.
Во всех остальных случаях стремятся подобрать соответствующий контактный материал и обойтись одноконтактной системой.
Для предотвращения вибраций контактов контактная пружина создает предварительное нажатие, равное примерно половине конечной силы нажатия. Большое влияние на вибрацию оказывают жесткость крепления неподвижного контакта и стойкость к вибрациям всего контактора в целом.
Основным параметром контактора является номинальный ток, который определяет величину (размеры) контактора. Так, контактор II величины имеет ток 100 А, III – 150 А и т.д.
Номинальным током контактора называется ток прерывисто-продолжительного режима работы. При этом режиме работы контактор находится во включенном состоянии не более 8 ч. По истечении этого промежутка аппарат должен быть несколько раз включен и отключен (для зачистки контактов от окиси меди). После этого аппарат снова включается.
Если контактор располагается в шкафу, то номинальный ток понижается примерно на 10% из-за ухудшающихся условий охлаждения.
В продолжительном режиме работы, когда длительность времени непрерывного включения превышает 8 ч, допустимый ток контактора снижается примерно на 20%. В таком режиме из-за окисления медных контактов растет переходное сопротивление, что может привести к повышению температуры выше допустимой величины.
Согласно рекомендациям завода допустимый ток повторно-кратко-временного режима для контактора КПВ-600 определяется по формуле
,
где
, а п – число включений в час.
Необходимо отметить, что если при отключении в повторно-кратковременном режиме длительно горит дуга (отключается большая индуктивная нагрузка), то температура контактов может резко увеличиться за счет подогрева контактов дугой. В этом случае нагрев контактов в продолжительном режиме работы может быть меньше, чем в повторно-кратковременном режиме.
Как правило, контактная система имеет один полюс.
б) Дугогасительная система. В контакторах постоянного тока наибольшее распространение получили устройства с электромагнитным дутьем. Как указывалось, при взаимодействии магнитного поля с дугой возникает электродинамическая сила, перемещающая дугу с большой скоростью.
Электрическая дуга является газообразным проводником тока. На этот проводник, так же как на металлический, действует магнитное поле, создавая силу, пропорциональную индукции поля и току в дуге. Магнитное поле, действуя на дугу, увеличивает ее длину и перемещает элементы дуги в пространстве с большой скоростью.
Поперечное перемещение элементов дуги создает интенсивное охлаждение, что приводит к повышению градиента напряжения на столбе дуги.
При движении дуги в среде газа с большой скоростью возникает расслоение дуги на отдельные параллельные волокна. Чем длиннее дуга, тем сильнее происходит расслоение дуги.
С целью создания эффективного охлаждения дуга с помощью магнитного поля втягивается в узкую щель между стенками из дугостойкого материала с высокой теплопроводностью (диаметр дуги больше ширины щели). Из-за увеличения теплоотдачи стенкам щели градиент в столбе дуги при наличии узкой щели значительно выше, чем у дуги, свободно перемещающейся между электродами. Это дает возможность сократить необходимую для гашения длину дуги и время гашения.
Для улучшения охлаждения дуги ее загоняют в щель из дугостойкого материала с высокой теплопроводностью.
На рис.12.2 изображена зависимость раствора контактов, при котором происходит гашение дуги, от величины тока и напряженности магнитного поля для контактора одного типа. При всех значениях напряженности поля Н кривые имеют один и тот же характер: при токе 5-7 А кривая достигает максимума, после чего с ростом тока необходимый раствор падает и при токе 200 А все кривые сливаются. Такой ход кривых объясняется следующими явлениями. Электродинамическая сила, действующая на единицу длины дуги, равна
,
где
– ток; В – индукция магнитного поля.
Рассмотрим случай, когда H = 0 (кривая 1). При малом значении тока в дуге величина электродинамической силы получается столь незначительной, что она не оказывает никакого влияния на процесс гашения. Условия, необходимые для гашения, создаются за счет механического растяжения дуги подвижным контактом. Чем больше величина отключаемого тока, тем большая энергия должна быть рассеяна в дуге. При этом условия гашения дуги наступают при большей ее длине.
При токе более 7 А на дугу действует электродинамическая сила, возникающая как за счет магнитного поля подводящих проводников, так и за счет конфигурации самой дуги (грубо можно представить, что дуга имеет форму части окружности). Эти силы являются решающими для гашения дуги. Чем больше ток в цепи, тем больше электродинамическая сила, растягивающая дугу. В результате при токе 200 А для гашения дуги достаточно иметь раствор контактов около 1,5 мм. Фактически при таком токе, как только контакты разойдутся, возникающие электродинамические силы выталкивают дугу из межконтактного зазора и перемещают со скоростью несколько десятков метров в секунду. При этом длина дуги, при которой она гаснет, достигает 10 мм и более. Наличие внешнего магнитного поля способствует резкому сокращению раствора контактов в области малых токов и незначительно сказывается на процессе гашения при токах 100 А и выше. Оптимальной напряженностью является H = 55 А/см. Дальнейшее увеличение напряженности мало влияет на процесс гашения, но требует большей мощности для создания магнитного поля, что связано с увеличением затрат меди на катушку.
Хотя при токах выше 100 А применение магнитного дутья кажется излишним (рис.12.2), во всех контакторах на токи 100 А и выше такая система обязательно применяется. Дело в том, что наличие внешнего магнитного поля способствует быстрому перемещению опорных точек дуги на контактах, перегоняя ее на дугогасительные электроды – рога и тем самым уменьшая оплавление контактов. Для каждого значения тока имеется свое оптимальное значение поля. При напряженности, большей оптимальной, наступает усиленный износ контактов за счет того, что жидкометаллический контактный мостик, образующийся в стадии размыкания контактов, уносится и распыляется сильным магнитным полем.
![]() |
Р и с. 12.2. Зависимость раствора контактов от тока дуги
Величина напряжения отключаемой цепи утяжеляет процесс гашения дуги только в области малых токов до 30 А. В области с токами выше 100 А, когда решающую роль играют электродинамические силы, величина питающего напряжения практически не влияет на раствор контактов. Раствор контактов обычно берется 10-17 мм и определяется условиями гашения малого тока.
Характер нагрузки отключаемой цепи также оказывает влияние только при малых токах в области, где гашение дуги происходит за счет механического растяжения дуги. В области больших токов следует опасаться больших перенапряжений и повторных пробоев из-за резкого снижения тока к нулю при сильном магнитном поле.
В зависимости от способа создания магнитного поля различают системы с последовательным (сериесным) включением дугогасительной катушки и с параллельным (шунтовым) включением катушки и системы с постоянным магнитом.
В случае применения сериесной катушки она обтекается током, проходящим в отключаемой цепи. Если пренебречь магнитным сопротивлением стали, то можно считать, что индукция пропорциональна отключаемому току. Тогда выражение для силы, действующей на дугу, можно преобразовать к виду
.
Таким образом, сила, действующая на единицу длины дуги, пропорциональна квадрату тока.
Как было показано ранее, наиболее важно иметь необходимую величину магнитного поля для дутья в области малых токов. Сериесная система обладает как раз тем недостатком, что в этой области токов не создает необходимой напряженности магнитного поля. В результате гашение дуги получается малоэффективным.
Согласно опытным данным ток, надежно отключаемый контакторами с сериесным дутьем, составляет 20-25% номинального тока аппарата.
Для надежного и быстрого гашения дуги в области малых токов применяются контакторы на небольшой ток (блок-контакторы) со сменными дугогасительными катушками. Эти катушки имеют номинальный ток 1,5-40 А. При малом отключаемом токе катушка имеет большое число витков, благодаря чему создается необходимое магнитное поле для гашения дуги за малое время.
Достоинства системы с сериесной катушкой таковы.
1. Система хорошо работает в области токов свыше 100 А. При этих токах магнитное поле быстро сдувает дугу с рабочих поверхностей контактов и обеспечивает малый их износ.
2. Работа системы не зависит от направления тока. При изменении направления тока меняет знак и магнитное поле. Сила, действующая на дугу, не изменяет своего направления.
3. Поскольку через катушку проходит номинальный ток контактора, она выполняется из провода большого сечения. Такая катушка механически прочна и не боится ударов, возникающих при работе контактора. Падение напряжения на катушке составляет доли вольта. Поэтому к изоляции катушки не предъявляются высокие требования.


Наряду с достоинствами эта система имеет и ряд недостатков.
1. Плохое гашение дуги при малых токах (5-7 А).
2. Большая затрата меди на катушку.
3. Подогрев контактов за счет тепла, выделяемого дугогасительной катушкой.
Несмотря на эти недостатки, система с сериесной катушкой благодаря высокой надежности при гашении номинальных и больших токов получила преимущественное распространение.
В параллельной (шунтовой) системе катушка, создающая магнитное поле, подключается к независимому источнику питания. Напряженность магнитного поля, создаваемая системой, постоянна и не зависит от отключаемого тока.
Сила, действующая на дугу, пропорциональна отключаемому току.
На рис. 2.5 изображена эта зависимость для случая, когда н.с. сериесной обмотки при номинальном токе равна н.с. шунтовой. При токах от 0 до
сила, действующая на дугу, при шунтовой катушке получается большей, чем при сериесной, – прямая F2. Это позволяет резко снизить длительность горения дуги в области малых токов. При токах больших
сила, действующая на дугу, при сериесной катушке больше, чем при шунтовой. Однако для гашения это не имеет существенного значения, так как решающими являются силы, возникающие в самом контуре дуги.
Зависимость времени гашения дуги от тока для шунтовой обмотки приведена на рис. 2.5 (кривая 3).
Поскольку в области малых токов шунтовая катушка действует более эффективно, чем сериесная, при одной и той же длительности горения дуги требуется меньшая н.с., что дает экономию. Однако шунтовые катушки имеют и ряд крупных недостатков.
1. Направление электродинамической силы, действующей на дугу, зависит от полярности тока. При изменении направления тока дуга меняет направление своего движения. Контактор не может работать при перемене полярности тока.
2. Поскольку к катушке прикладывается напряжение источника питания, изоляция должна быть рассчитана на это напряжение. Катушка выполняется из тонкого провода. При ударах и вибрациях возможны повреждение изоляции провода и выход из строя катушки. Близость дуги к такой катушке делает ее работу ненадежной.
3. При коротких замыканиях возможна посадка напряжения па источнике, питающем катушки. В результате процесс гашения дуги идет неэффективно.
В связи с указанными недостатками системы с шунтовой обмоткой в настоящее время применяются только в случаях, когда необходимо отключать небольшие токи от 5 до 10 А. В аппаратах на большие силы тока эта система не применяется.
Система с постоянным магнитом по существу мало отличается по своей характеристике от системы с шунтовой обмоткой. Магнитное поле создается за счет постоянного магнита.
По сравнению с системами, где поле создается обмотками, постоянный магнит имеет ряд преимуществ.
1. Нет затрат энергии на создание магнитного поля.
2. Резко сокращается расход меди на контактор.
3. Отсутствует подогрев контактов от катушки, как это имеет место в системе с сериесной обмоткой.
4. По сравнению с шунтовой системой, система с постоянным магнитом обладает высокой надежностью и хорошо работает при любых токах. Применение постоянного магнита позволяет сократить длительность горения дуги при малых токах. В силу своих преимуществ эта система, очевидно, в дальнейшем будет широко использоваться.
Магнитное поле, действующее на дугу, создает силу, которая перемещает дугу в дугогасительную камеру. Назначение камеры – локализовать область, занятую раскаленными газами дуги, препятствовать перекрытию между соседними полюсами. При соприкосновении дуги со стенками камеры происходит интенсивное охлаждение дуги, что приводит к подъему вольтамперной характеристики и успешному гашению.
Асбоцементные камеры, применявшиеся в течение длительного времени, обладают тем недостатком, что под действием высокой температуры дуги на поверхности стенок образуются проводящие мостики. В результате воз
можно возникновение стабильной дуги, которая горит в местах, где образовались эти проводящие мостики.
![]() |
а б
Р и с. 12.3. Дугогасительная камера с прямой
и зигзагообразной щелью
Наиболее совершенной является лабиринтно-щелевая камера. Под действием магнитного поля дуга загоняется в суживающуюся зигзагообразную щель (рис. 2.6, б). Благодаря увеличению длины дуги и хорошему тепловому контакту дуги со стенками камеры происходит ее эффективное гашение. По сравнению с обычной продольной щелью (рис. 2.6, а) зигзагообразная щель уменьшает количество выброшенных из камеры раскаленных газов и, следовательно, зону выхлопа.
в) Электромагнитная система. В контакторах с приводом на постоянном токе преимущественное распространение получили электромагниты клапанного типа.
С целью повышения механической износоустойчивости в современных контакторах применяется вращение якоря на призме. Выбранная компоновка электромагнита и контактной системы, применение специальной пружины, прижимающей якорь к призме, позволили повысить износоустойчивость узла вращения до 20-106. В случае применения подшипникового соединения якоря и магнитопровода при износе подшипника возникают люфты, нарушающие нормальную работу аппарата.
При включении электромагнит преодолевает действие силы возвратной и контактной пружин. Тяговая характеристика электромагнита должна во всех точках идти выше характеристики противодействующих пружин при минимальном допустимом напряжении на катушке (
) и нагретой катушке. Включение должно происходить при постоянно нарастающей скорости. Не должно быть замедления в момент замыкания главных контактов.
В противодействующей характеристике наиболее тяжелым моментом является преодоление силы в момент касания главных контактов. Наибольшее напряжение на катушке не должно превышать 110%
, так как при большем напряжении увеличивается износ из-за усиления ударов якоря, а температура катушки может превысить допустимую величину.
Следует отметить, что с целью уменьшения намагничивающей силы катушки, а следовательно, и потребляемой ею мощности рабочий ход якоря выбирается небольшим, порядка 8-10 мм. В связи с тем, что для надежного гашения дуги при малых токах требуется раствор контактов 17-20 мм, расстояние точки касания подвижного контакта от оси вращения подвижной системы берется в 1,5-2 раза больше, чем расстояние от оси полюса до оси вращения.
Для сокращения габаритов контактора и уменьшения потребляемой мощности применяется форсировка. Контактор снабжается размыкающим контактом и экономическим (форсировочным) сопротивлением. Поскольку процесс включения длится кратковременно, то в обмотке можно допустить высокую плотность тока. В результате при малом габарите катушки удается получить большое значение намагничивающей силы. С точки зрения работы схем автоматики весьма важной характеристикой является собственное время включения контактора. Собственное время при включении состоит из времени нарастания потока до значения потока трогания и времени движения якоря. Большая часть времени тратится на нарастание потока. Для контакторов на ток 100 А собственное время составляет 0,14 сек, а для контакторов на ток 600 А оно увеличивается до 0,37 сек.
Собственное время отпадания – время с момента обесточивания электромагнита до момента размыкания контактов. Оно определяется временем спада потока от установившегося значения до потока отпускания (временем движения с момента начала движения якоря до момента размыкания контактов можно пренебречь). Переходный процесс в обмотке мало сказывается на спаде потока, так как цепь обмотки быстро разрывается отключающим аппаратом. Этот процесс в основном определяется токами, циркулирующими в массивных элементах магнитной цепи (в основном за счет токов в цилиндрическом сердечнике, на котором расположена катушка). Ввиду большого удельного электрического сопротивления стали эти токи создают небольшое замедление в спадании потока. В контакторах на 100 А время отпадания составляет 0,07 сек, а в контакторах на 600 А – 0,23 сек.
3. КОНТАКТОРЫ ПЕРЕМЕННОГО ТОКА
3.1. КОНТАКТНАЯ СИСТЕМА
Контакторы переменного тока выпускаются на токи от 100 до 630 А. Число главных контактов колеблется от одного до пяти. Это отражается на конструкции всего аппарата в целом. Наиболее широко распространены контакторы трехполюсного исполнения. Наличие большого числа контактов приводит к увеличению усилия и, соответственно, момента, необходимых для включения аппарата.
Широкое распространение получила мостиковая контактная система с двумя разрывами на каждый полюс. Такая конструкция распространена в пускателях. Быстрое гашение дуги, отсутствие гибкой связи являются большими преимуществами такой конструкции. Применяется как прямоходовая система, так и с вращением якоря. В первом случае якорь движется поступательно. Подвижные контакты связаны с якорем и совершают тот же путь, что и якорь. При передаче усилия контактных пружин к якорю из-за отсутствия рычажной системы нет выигрыша в силе. Электромагнит должен развивать усилие большее, чем сумма сил контактных пружин и веса якоря (в контактах с вертикальной установкой). В большинстве выполненных по этой схеме контакторов наблюдается медленное нарастание силы контактного нажатия, из-за чего имеет место длительная вибрация контактов (до 10 мсек). В результате происходит сильный износ контактов при включении. Поэтому такая конструкция применяется только при небольших номинальных токах.
Более совершенным является контактор, который имеет мостиковую систему и рычажную передачу усилий от контактов к якорю электромагнита.



Расстояние от оси вращения до места расположения контактов в 2,5 раза меньше, чем расстояние от оси вращения до точки крепления якоря. Такая кинематика позволяет увеличить силу нажатия при данном габарите электромагнита. Близкое расположение контактов к оси вращения снижает скорость движения контактов. Малый вес контактного моста, низкая скорость в момент касания, большая величина силы нажатия способствуют резкому снижению вибрации (она длится всего 0,3 мсек). При этом электрическая износоустойчивость возрастает до
операций включения и отключения.
В настоящее время для работы в схемах с высокой частотой (500-10 000 Гц) часто применяются контакторы, рассчитанные для работы при частоте 50 Гц. При частотах выше 500 Гц существенное значение имеют потери в токоведущих частях из-за эффекта близости и скин-эффекта. Для того чтобы удержать температуру токоведущих частей контактора в допустимых пределах, используется многополюсный контактор, у которого токоведущие цепи полюсов включены параллельно. При этом ток, протекающий через каждый полюс, уменьшается. Значительное уменьшение габарита высокочастотного контактора достигается за счет применения водяного охлаждения.
3.2. Гашение дуги в контакторах переменного тока
Гашение дуги переменного тока имеет значительные особенности. Вопрос гашения дуги переменного тока в низковольтных аппаратах подробно изучен О.Б. Броном. Ниже изложены результаты этой работы, наиболее интересные для специалистов, работающих в области эксплуатации аппаратов.
На рис.12.4 изображены экспериментальные зависимости раствора контактов, необходимого для гашения дуги, от величины тока цепи. Коэффициент мощности цепи
менялся в пределах от 0,2 до 1. Контактор имеет один разрыв на полюс и не снабжен никаким дугогасительным устройством.
![]() |
В случае активной нагрузки (
l) гашение дуги происходит при растворе контактов примерно 0,5 мм при любом токе и любом напряжении (до 500 В) – кривая 3, рис. 12.4. Р и с. 12.4. Зависимость необходимого для гашения дуги раствора
контактов от тока дуги
При индуктивной нагрузке (
= 0,2-0,5) такое же гашение имеет место при напряжении до 220 В. Это объясняется тем, что гашение дуги происходит за счет практически мгновенного восстановления электрической прочности 200-220 В около катода.
При напряжении источника питания, не превышающем 220 В, для гашения дуги необходим всего один разрыв на полюс. Никаких дугогасительных устройств не нужно.
Если в цепи полюса аппарата создать два разрыва, например, за счет применения мостикового контакта, то дуга надежно гасится за счет околоэлектродной прочности при напряжении сети 380 В. На основании этих данных в настоящее время широко применяются контакторы с двукратным разрывом цепи в одном полюсе. При индуктивной нагрузке (
=0,2-0,5) и напряжении источника свыше 380 В величина восстанавливающегося напряжения становится больше околокатодной прочности. Кривые 1 и 2 сняты при
=0,2-0,5 и напряжениях источника 500 и 380 В. Гашение дуги в этом случае зависит от процессов в столбе дуги и нагрева электродов током.
Кривые 1 и 2 рис. 12.4 аналогичны кривым рис. 12.2, полученным для постоянного тока. В области до 40-50 А гашение происходит за счет механического растяжения дуги. Максимальный раствор, требуемый для гашения, составляет 7 мм (против 18 мм для постоянного тока).
При токах более 50 А необходимый раствор уменьшается. Гашение происходит за счет действия на дугу электродинамических сил и влияет на процесс гашения дуги. При токе более 200 А гашение происходит при растворе менее 1 мм. Таким образом, наиболее тяжелой для гашения является величина тока 40-50 А. Исследования показали, что увеличение раствора сверх 8 мм недопустимо. Для эффективного гашения дуги, уменьшения износа контактов могут быть использованы следующие системы.
1. Магнитное гашение дуги с помощью сериесной катушки и дугогасительной камеры с продольной или лабиринтной щелью.
2. Камера с дугогасительной решеткой из стальных пластин.
В системе с сериесной дугогасительной катушкой сила, действующая на дугу, пропорциональна квадрату тока. Поэтому и при переменном токе на дугу действует сила, неизменная по направлению. Величина силы пульсирует с двойной частотой во времени (так же как электродинамическая сила, действующая на проводник). Средняя сила получается в 2 раза меньше, чем при постоянном токе, при условии, что величина постоянного тока равна действующему значению переменного тока. Указанные соотношения справедливы, когда потери в магнитной системе дутьевой катушки отсутствуют и поток по фазе совпадает с током. Несмотря на эффективную работу этого устройства, в настоящее время оно применяется только в контакторах, работающих в тяжелом режиме (число включений в час более 600). Недостатки этого метода гашения таковы.
1. Увеличиваются потери в контакторе из-за потерь в стали магнитной системы дугогашения.
2. Эти потери ведут к повышению температуры контактов, расположенных вблизи дугогасительного устройства.
3. Из-за принудительного обрыва тока (до естественного нуля) возможно возникновение больших перенапряжений.
Применение для гашения шунтовой катушки на переменном токе исключается из-за того, что сила, действующая на дугу, меняет свой знак, так как поток, создаваемый магнитной системой дугогашения, сдвинут по фазе относительно отключаемого тока. Если ток и поток имеют один знак, то сила положительна; если же ток и поток имеют разные знаки, то сила отрицательна.
Довольно широкое распространение получила система с дугогасительной решеткой из стальных пластин; принцип действия такого устройства заключается во втягивании дуги в стальную решетку под действием электродинамического усилия.
Для того чтобы пластины решетки не подвергались коррозии, они покрываются тонким слоем меди или цинка. Несмотря на быстрое гашение дуги, при частых включениях и отключениях происходит нагрев пластин до очень высокой температуры. Возможно даже прогорание пластин. В связи с этим число включений и отключений в час у контакторов с деионной решеткой не превышает 600.
3.3. Дугогасительные системы
высокочастотных контакторов
В высокочастотных установках для обеспечения нормальных условий работы генераторов cos
цепи стремятся приблизить к единице. Как было показано, гашение дуги в этом случае получается более тяжелым, чем при cos
=0.
Исследования показали, что для гашения дуги с током высокой частоты (f>500Гц) дугогасительная решетка со стальными пластинами не может применяться. Высокочастотный поток, проходя по стальным пластинам, наводит в них ЭДС, пропорциональную частоте. Возникающий под действием этой ЭДС ток в пластинах создает поток, который, взаимодействуя с током дуги, выталкивает дугу из решетки. Чем больше частота, тем больше выталкивающая сила. Если стальные пластины заменить на латунные, то выталкивающая сила уменьшается, так как магнитная проницаемость латуни значительно меньше, чем стали. Следовательно, поток в пластинах латуни будет значительно меньше, чем в стальных пластинах. Однако при этом силы, втягивающей дугу в решетку, не возникает и необходимо применение сериесной катушки магнитного дутья
3.4. Электромагнитный механизм
контактора переменного тока
Для привода контактов широкое распростра
нение получили электромагниты с Ш-образным и П-образным сердечниками.
Магнитопровод состоит из двух одинаковых частей, одна из которых укреплена неподвижно, другая связана через рычаги с контактной системой. В электромагнитах старой конструкции для устранения залипания якоря между средними полюсами Ш-образной системы делался зазор. При включении удар приходился на крайние полюсы, что приводило к их заметному расклепыванию. В случае перекоса якоря на рычаге возможно «клевание» поверхности сердечника острыми кромками якоря.
С целью устранения вибрации якоря во включенном положении на полюсах магнитной системы устанавливаются короткозамкнутые витки. Действие короткозамкнутого витка наиболее эффективно при малом воздушном зазоре. Поэтому для плотного прилегания полюсов их поверхность должна шлифоваться.
Известно, что из-за изменения индуктивного сопротивления катушки ток в притянутом состоянии якоря значительно меньше, чем в отпущенном состоянии. В среднем можно считать, что пусковой ток равен десятикратному току притянутого состояния, но для больших контакторов может достигать значения, равного 15-кратному от тока в замкнутом состоянии. В связи с большим пусковым током ни в коем случае не допускается подача напряжения на катушку, если якорь по каким-либо причинам удерживается в положении «отключено». Катушки большинства контакторов рассчитаны таким образом, что допускают до 600 включений в час при ПВ = 40%.
Электромагниты контакторов переменного тока могут также питаться от сети постоянного тока. В этом случае на контакторах устанавливается специальная катушка, которая работает с форсировочным сопротивлением. Форсировочное сопротивление шунтировано нормально закрытым блок-контактом контактора или более мощными контактами другого аппарата. Параметры катушек и величины форсировочных сопротивлений приведены в каталогах.
При уменьшении зазора тяговая характеристика электромагнита переменного тока поднимается менее круто, чем в электромагните постоянного тока. Благодаря этому тяговая характеристика электромагнита более близко подходит к противодействующей. В результате напряжение отпускания близко к напряжению срабатывания. Отношение этих напряжений называется коэффициентом возврата. Относительно высокий коэффициент возврата (0,6-0,7) дает возможность осуществить защиту двигателя от падения напряжения. При понижении напряжения до 0,6-0,7 от
происходит отпадание якоря и отключение двигателя.
Электромагниты контакторов обеспечивают надежную работу в диапазоне колебания питающего напряжения 85-110%
. При коэффициенте возврата 0,7 якорь электромагнита отпадет при падении напряжения до 70%
. Поскольку катушка контактора питается через замыкающий блок-контакт, то включение контактора не происходит самостоятельно после подъема напряжения до номинального значения. Как указывалось, срабатывание электромагнита переменного тока происходит значительно быстрее, чем электромагнита постоянного тока. Собственное время срабатывания контакторов составляет 0,03-0,05 сек, а время отпускания 0,02 сек.



В случаях применения контакторов для реверса предусматривается как механическая, так и электрическая блокировка.
Так же как и контакторы постоянного тока, контакторы переменного тока имеют блок-контакты, которые приводятся в действие тем же электромагнитом, что и главные контакты.
4. МАГНИТНЫЕ ПУСКАТЕЛИ
4.1. Требования к пускателям и условия их работы
Магнитным пускателем называется контактор, предназначенный для пуска в ход короткозамкнутых асинхронных двигателей.
Как правило, в пускатель, помимо контактора, встроены тепловые реле для защиты двигателя от перегрузок и «потери фазы». Бесперебойная работа асинхронных двигателей в значительной степени зависит от надежности пускателей. Поэтому к ним предъявляются высокие требования в отношении износоустойчивости, коммутационной способности, четкости срабатывания, надежности защиты двигателя от перегрузок, минимального потребления мощности.
Особенности условий работы пускателя состоят в следующем. При включении асинхронного двигателя пусковой ток достигает 6-7-кратного значения номинального тока. Даже незначительная вибрация контактов при таком токе быстро выводит их из строя. Это накладывает высокие требования в отношении вибрации контактов и их износа. С целью уменьшения времени вибрации контакты и подвижные части делаются возможно легче, уменьшается их скорость, увеличивается нажатие. Эти мероприятия позволили создать износоустойчивый пускатель типа ПА с электрической износоустойчивостью до 106 операций.
Исследования показали, что при токах до 100 А целесообразно применять серебряные накладки на контактах. При токе выше 100 А хорошие результаты дает композиция серебра и окиси кадмия типа СОК-15.
После разгона двигателя величина тока падает до номинального значения.
При отключении восстанавливающееся напряжение на контактах равно разности напряжения сети и ЭДС двигателя. В результате на контактах появляется напряжение, составляющее всего 15-20%
, т.е. имеют место облегченные условия отключения. При работе двигателя нередки случаи, когда двигатель отключается от сети тотчас же после пуска. Пускателю приходится тогда отключать ток, равный семикратному номинальному току при очень низком коэффициенте мощности (cos
=0,3) и восстанавливающемся напряжении, равном номинальному напряжению источника питания. После 50-кратного включения и отключения заторможенного двигателя пускатель должен быть пригоден для дальнейшей работы. В технических данных пускателя указывается не только его номинальный ток, но и мощность двигателя, с которым пускатель может работать при различных напряжениях. Поскольку ток, отключаемый пускателем, относительно мало падает с ростом напряжения, мощность двигателя, с которым может работать данный пускатель, возрастает с увеличением номинального напряжения. Наибольшее рабочее напряжение равно 500 В.
Многочисленные исследования показали, что электрическая износоустойчивость примерно обратно пропорциональна мощности управляемого электродвигателя в степени 1,5-2. Если необходимо повысить срок службы пускателя, то целесообразно выбрать его с запасом по мощности.
При уменьшении мощности двигателя возрастает допустимое число включений в час. Дело в том, что двигатель меньшей мощности быстрее достигает номинальной скорости вращения. Поэтому при отключении пускатель разрывает установившийся номинальный ток двигателя, что облегчает работу пускателя.
С учетом исключительно широкого распространения пускателей большое значение приобретает снижение мощности, потребляемой ими. В пускателе мощность расходуется в электромагните и тепловом реле. Потери в электромагните составляют примерно 60%, в тепловых реле – 40%. С целью снижения потерь в электромагните применяется холоднокатаная сталь Э-310.
4.2. Конструкция и схема включения пускателя
Наибольшее распространение получили пускатели серии ПМЕ и ПА. С учетом условий работы пускателя оказалось возможным, используя двукратный разрыв цепи, отказаться от применения громоздких дугогасительных устройств в виде решетки или камеры магнитного дутья. Широко применяются торцевые контакты с металлокерамикой. Подвижный контакт выполняется мостикового типа с самоустанавливанием. Прямоходовой электромагнит имеет Ш-образный сердечник и якорь. Короткозамкнутый виток расположен на двух крайних стержнях сердечника.
При токах, больших 25 А, хорошо себя зарекомендовала система пускателей серии ПА, в которой ход контакта примерно в 2,5 раза меньше, чем ход якоря электромагнита. Для защиты двигателя от перегрузки в двух фазах устанавливаются тепловые реле. В некоторых типах пускателей, например, в серии П, тепловые реле расположены на одной панели с контактором. В этих случаях обычно используются реле типа РТ тепловых реле.
Более совершенную тепловую защиту дают реле типа ТРП и ТРИ, которые монтируются вне контактора пускателя. Схема включения нереверсивного пускателя показана на рис. 4.1. Главные (линейные) контакты КМ1, КМ2, КМ3 включаются в рассечку проводов, питающих двигатель. В проводах двух фаз включаются также нагревательные элементы тепловых реле ТРП-1 и ТРП-2. Катушка электромагнита К подключается к сети через размыкающие контакты тепловых реле и кнопки управления. При нажатии кнопки «Пуск» напряжение на катушку подается через замкнутые контакты кнопки «Стоп» и замкнутые контакты кнопки «Пуск». После притяжения якоря электромагнита замыкается блок-контакт КМ, шунтирующий кнопку «Пуск». Это дает возможность отпустить


пусковую кнопку.
Для отключения пускателя нажимается кнопка «Стоп». При перегрузке двигателя срабатывают тепловые реле, которые разрывают цепь катушки К. Якорь электромагнита отпадает. Происходит отключение пускателя. Высокий коэффициент возврата электромагнитного механизма переменного тока позволяет осуществить защиту двигателя от понижения напряжения питания (электромагнит отпускает якорь при напряжении 60-70%
).
Если напряжение сети возрастет до своего номинального значения, то самопроизвольного включения пускателя не произойдет, так как при отключении блок-контакт КМ размыкается и цепь катушки К разрывается.

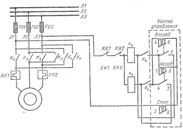
Р и с. 4.1. Схема включения магнитного пускателя
Схема включения реверсивного пускателя приведена на рис. 4.3. Кнопка управления «Вперед» имеет замыкающие контакты 1-2 и размыкающие контакты 4-6. Аналогичные контакты имеет кнопка пуска двигателя в обратном направлении («Назад»).

Р и с. 4.3. Схема включения реверсивного пускателя
Соответственно, индекс В отнесен к элементам, участвующим при работе «Вперед», и индекс Н – при работе «Назад». При пуске «Вперед» замыкаются контакты 1-2 этой кнопки и процесс протекает так же, как и у нереверсивного пускателя, с той лишь разницей, что цепь катушки Кв замыкается через размыкающие контакты 1-6 кнопки «Назад».
Одновременно размыкаются размыкающие контакты 4-6 кнопки «Вперед», при этом разрывается цепь катушки КВ. При нажатии кнопки «Назад» вначале размыкаются контакты 1-6, обесточивается катушка КВ и отключается пускатель «Вперед». Затем контактами 4-3 запускается электромагнит пускателя «Назад». При одновременном нажатии кнопок «Вперед» и «Назад» ни один из пускателей не будет включен. Блок-контакты в настоящее время выпускаются в виде унифицированных блоков, которые могут устанавливаться в различных пускателях.
5. СОВРЕМЕННЫЕ КОНТАКТОРЫ, ВЫПУСКАЕМЫЕ
ОТЕЧЕСТВЕННОЙ ПРОМЫШЛЕННОСТЬЮ
Контакторы относятся к аппаратам управления низкого напряжения (до 1000 В). Контактором называется электрический аппарат с самовозвратом для многократного дистанционного включения и отключения силовой электрической нагрузки переменного и постоянного токов, а также редких отключений токов перегрузки. Ток перегрузки составляет 7-10-кратное значение по отношению к номинальному току.
Контакторы переменного и постоянного тока, как правило, имеют конструктивные отличия, поэтому обычно не взаимозаменяемы.
В контакторах не предусмотрены защиты, присущие автоматам и магнитным пускателям. Контакторы обеспечивают большое число включений и отключений (циклов) при дистанционном управлении ими. Число этих циклов для контакторов разной категории изменяется от 30 до 3600 в час. Контакторы выпускаются переменного (типа К и КТ) и постоянного (типа КП, КМ, КПД) токов.
.
6. СОВРЕМЕННЫЕ МАГНИТНЫЕ ПУСКАТЕЛИ,
ВЫПУСКАЕМЫЕ ОТЕЧЕСТВЕННОЙ
ПРОМЫШЛЕННОСТЬЮ
6.1. Устройство и назначение
Магнитные пускатели предназначены для пуска, остановки, реверсирования и тепловой защиты главным образом асинхронных двигателей. Наибольшее применение находят магнитные пускатели с контактными системами и электромагнитным приводом типов ПМЕ, ПМА, ПА (ПАЕ). Пускатели выполняются открытого, защищенного, пылебрызгонепроницаемого исполнения, реверсивные и нереверсивные, с тепловой защитой и без нее. Магнитный пускатель заключается, как правило, в стальной кожух. Управление им осуществляется посредством кнопок управления Пуск, Стоп, Вперед, Назад
6.2. Технические параметры
Пускатели серии ПМЕ, ПАЕ обладают коммутационной способностью до
операций и частотой включений до 1200 в час. Выбор контакторов и пускателей осуществляется по номинальному напряжению сети, номинальному напряжению питания катушек контакторов и пускателей, по номинальному коммутируемому току электроприемника.
Наиболее распространенные серии пускателей с контактной системой и электромагнитным приводом: ПМЕ, ПМА, ПА, ПВН, ПМЛ, ПВ, ПАЕ.
Пускатели серии ПМА предназначены для управления асинхронными двигателями в диапазоне мощностей от 1,1 до 75 кВт на напряжение 380-660 В.
Пускатели серии ПМЕ выполняются с прямоходовой магнитной системой и управлением на переменном токе. Напряжение от 36 до 500 В. Используются для управления электродвигателями с короткозамкнутым ротором.
Пускатели серии ПАЕ с управлением на переменном токе: отдельные исполнения ПАЕ-313, -314, -411, -412 применяются преимущественно в станкостроении. Характеристики пускателей серии ПМЕ и ПАЕ приведены в табл. 6.2.
Пускатели серии ПМА предназначаются для управления асинхронными двигателями мощностью 1,1...75 кВт; имеют реверсивные и нереверсивные исполнения, бывают с тепловым реле и без него, открытого и защищенного исполнения; износостойкость механическая в аппаратах на ток до 63 А составляет 16...106, выше 63 А – 10 циклов; коммутационная – соответственно 3...10 и 2,5... 10 циклов.
Номинальный ток контактов вспомогательной цепи лежит в пределах от 4 до 10 А.
Пускатели электромагнитные серии ПМЛ предназначены для дистанционного пуска непосредственным подключением к сети, остановки и реверсирования трехфазных асинхронных электродвигателей с короткозамкнутым ротором при напряжении до 660 В переменного тока частотой 50 Гц, а в исполнении с трехполюсными тепловыми реле серии РТЛ – для защиты управляемых электродвигателей от перегрузок недопустимой продолжительности и от токов, возникающих при обрыве одной из фаз.
Пускатели могут комплектоваться ограничителями перенапряжений типа ОПН. Пускатели, комплектуемые ограничителями перенапряжения, пригодны для работы в системах управления с применением микропроцессорной техники при шунтировании включающей катушки помехоподавляющим устройством или при тиристорном управлении.
Номинальное переменное напряжение включающих катушек: 24, 36, 40, 48, 110, 127, 220, 230, 240, 380, 400, 415, 500, 660 В частоты 50 Гц и 110, 220, 380, 400, 415, 440 В частоты 60 Гц.
Пускатели ПМЛ на токи 10...63 А имеют прямоходовую магнитную систему Ш-образного типа. Контактная система расположена перед магнитной. Подвижная часть электромагнита составляет одно целое с траверсой, в которой предусмотрены подвижные контакты и их пружины.
Тепловые реле серии РТЛ подсоединяются непосредственно к корпусам пускателей.
Обозначение магнитных пускателей ПМЛ-ХХХХХХХХХ:
ПМЛ — серия;
X – величина пускателя по номинальному току (1 – 10 А, 2 – 25 А, 3 – 40 А, 4 – 63 А);
X – исполнение пускателей по назначению и наличию теплового реле (1 – нереверсивный, без теплового реле; 2 – нереверсивный, с тепловым реле; 5 – реверсивный пускатель без теплового реле с механической блокировкой для степени защиты IP00 и IP20 и с электрической и механической блокировками для степени защиты IP40 и IP54; 6 – реверсивный пускатель с тепловым реле с электрической и механической блокировками; 7 – пускатель звезда-треугольник степени защиты 54);
X – исполнение пускателей по степени защиты и наличию кнопок управления и сигнальной лампы (0 – IP00; 1 – IP54 без кнопок; 2 – IP54 с кнопками «Пуск» и «Стоп»; 3 – IP54 с кнопками «Пуск», «Стоп» и сигнальной лампой (изготавливается только на напряжения 127, 220 и 380 В, 50 Гц); 4 – IP40 без кнопок; 5 – IP40 с кнопками «Пуск» и «Стоп»; 6 – IP20);
X – число и вид контактов вспомогательной цепи (0 – 1з (на ток 10 и 25 А), 1з + 1р (на ток 40 и 63 А), переменный ток; 1 – 1р (на ток 10 и 25 А), переменный ток; 2 – 1з (на ток 10, 25, 40 и 63 А), переменный ток; 5 – 1з (на 10 и 25 А), постоянный ток; 6 – 1р (на ток 10 и 25 А), постоянный ток); X – сейсмостойкое исполнение пускателей (С);
1 Физическая культура в общекультурной и профессиональной подготовке студентов - лекция, которая пользуется популярностью у тех, кто читал эту лекцию.
X – исполнение пускателей с креплением на стандартные рейки Р2-1 и Р2-3;
XX – климатическое исполнение (О) и категория размещения (2, 4);
X – исполнение по коммутационной износостойкости (А, Б, В).
Пускатели на токи 10, 25, 40 и 63 А допускают установку одной дополнительной контактной приставки ПКЛ или пневмоприставки ПВЛ.
Номинальный ток контактов приставок ПВЛ и сигнальных контактов пускателей – 10 А.
Номинальный ток контактов приставок ПКЛ – 16 А. Приставки ПВЛ имеют 1 замыкающий и 1 размыкающий контакты.























