Предохранители, параметры, требования, характеристики
Лекция №11.
Тема лекции:
11. Предохранители, параметры, требования, характеристики. Выбор предохранителей.

ПРЕДОХРАНИТЕЛИ
ОБЩИЕ СВЕДЕНИЯ
Предохранители — это электрические аппараты, предназначенные для зашиты электрических цепей от токовых перегрузок и токов КЗ. Основными элементами предохранителя являются плавкая вставка, включаемая последовательно с защищаемой цепью, и дугогасительное устройство.
К предохранителям предъявляются следующие требования.
Рекомендуемые материалы
1. Времятоковая характеристика предохранителя должна проходить ниже, но возможно ближе к времятоковои характеристике защищаемого объекта.
2. Время срабатывания предохранителя при КЗ должно быть минимально возможным, особенно при защите полупроводниковых приборов. Предохранители должны работать с токоограничением .
3. При КЗ в защищаемой цепи предохранители должны обеспечивать селективность защиты.
4. Характеристики предохранителя должны быть стабильными, а технологический разброс их параметров не должен нарушать надежность защиты.
5. В связи с возросшей мощностью установок предохранители должны иметь высокую отключающую способность.
6. Конструкция предохранителя должна обеспечивать возможность быстрой и удобной замены плавкой вставки при ее перегорании.
НАГРЕВ ПЛАВКОЙ ВСТАВКИ ПРИ ДЛИТЕЛЬНОЙ НАГРУЗКЕ
Основной характеристикой предохранителя является времятоковая характеристика, представляющая собой зависимость времени плавления вставки от протекающего тока. Для совершенной защиты желательно, чтобы времятоковая характеристика предохранителя (кривая 1 на рис. 11.1) во всех точках шла немного ниже характеристики защищаемой цепи или объекта (кривая 2 на рис. 11.1). Однако реальная характеристика предохранителя (кривая 3) пересекает кривую 2. Поясним это. Если характеристика предохранителя соответствует кривой 1, то он будет перегорать из-за старения или при пуске двигателя. Цепь будет отключаться при отсутствии недопустимых перегрузок. Поэтому ток плавления вставки выбирается больше номинального тока нагрузки. При этом кривые 2 и 3 пересекаются. В области больших перегрузок (область Б) предохранитель защищает объект. В области А предохранитель объект не защищает.
При небольших перегрузках (l,5–2) IH0M нагрев предохранителя протекает медленно. Большая часть тепла отдается окружающей среде. Сложные условия теплоотдачи затрудняют расчет плавкой вставки.
Ток, при котором плавкая вставка сгорает при достижении ею установившейся температуры, называется пограничным током IПОГР.
![]() |
Рис. 11.1. Согласование характеристик предохранителя и защищаемого объекта

Для того чтобы предохранитель не срабатывал при номинальном токе Iном., необходимо
. С другой стороны, для лучшей защиты значение IПОГР. должно быть возможно ближе к номинальному. При токах, близких к пограничному, температура плавкой вставки должна приближаться к температуре плавления.
В связи с тем, что время плавления вставки при пограничном токе велико (более 1 ч) и температура плавления ее материала составляет много сотен градусов Цельсия, все детали предохранителя нагреваются до высоких температур. Происходит тепловое старение плавкой вставки.
Для снижения температуры плавления вставки при ее изготовлении применяются легкоплавкие металлы и сплавы. Материалы плавких вставок и их свойства даны в табл. 11.1.
| Металл вставки | Удельное сопротивление р , мкОм•м | Температура, °С | |
| допустимая | плавления | ||
| Медь Серебро Цинк Свинец | 0,0153 0,0147 0,05 0,21 | 250 200 150 | 1083 961 419 327 |
Материалы плавких вставок и их свойства Таблица 11.1
Наименьшую температуру плавления имеет свинец. Но удельное сопротивление свинца в 12 раз выше, чем у меди. Для того чтобы при прохождении данного тока вставка нагрелась до допустимой температуры (150 °С), ее сечение должно быть значительно больше, чем сечение вставки из меди.
При плавлении вставки пары металла ионизируются в возникающей дуге благодаря высокой температуре. Из-за большого объема вставки количество паров металла в дуге велико, что затрудняет ее гашение и уменьшает предельный ток, отключаемый предохранителем. Из-за этих особенностей вставок из легкоплавких металлов широкое распространение получили медные и серебряные плавкие вставки с металлургическим эффектом, который объясняется ниже. На тонкую медную проволоку (диаметром менее 0,001 м) наносится шарик из олова. При нагреве вставки сначала плавится олово, имеющее низкую температуру плавления (232СС). В месте контакта олова с проволокой начинается растворение меди и уменьшение ее сечения. Это вызывает увеличение сопротивления и повышение потерь в этой точке. Процесс длится до тех пор, пока медная проволока не расплавится в точке расположения оловянного шарика. Возникшая при этом дуга расплавляет проволоку на всей длине. Применение оловянного шарика снижает среднюю температуру плавления вставки до 280 °С.
Отношение IПОГР / Iном., уменьшается до 1,2, что дает улучшение времятоковой характеристики.
Стабильность времятоковой характеристики в значительной степени зависит от окисления плавкой вставки. Свинец и цинк образуют на воздухе пленку оксида, которая предохраняет вставку от изменения сечения. Медная вставка при длительной работе и высокой температуре интенсивно окисляется. Пленка оксида при изменении температурного режима отслаивается, и сечение вставки постепенно уменьшается. В результате плавкая вставка перегорает при номинальном токе, если ее температура при токе, близком к пограничному, выбрана высокой. В табл. 11.1 приведены рекомендуемые допустимые температуры вставок при номинальном токе. Температура медной вставки при токе, близком к номинальному, должна быть значительно ниже тепмературы плавления. Поэтому приходится завышать сечение вставки и тем самым увеличивать отношение IПОГР / Iном., примерно до 1,8, что ухудшает защитные свойства предохранителя.
Серебряные плавкие вставки не подвержены тепловому старению, и для них отношение IПОГР / Iном., определяется только нагревом.
У вставок из легкоплавких материалов эксплуатационная температура ближе к температуре плавления, что позволяет снизить отношение IПОГР / Iном., до 1,2—1,4.
В настоящее время в качестве материала плавкой вставки начали применять алюминий. Пленка оксида на поверхности вставки защищает алюминий от коррозии и делает характеристику предохранителя стабильной. Большее удельное сопротивление материала компенсируется увеличением сечения вставки. Алюминий имеет температуру плавления ниже, чем у меди (658 против 1083 °С).
Времятоковые характеристики предохранителей со вставками постоянного сечения из легкоплавкого металла хорошо согласуются с характеристиками силовых трансформаторов и других подобных объектов. Это объясняется низкой температурой плавления, стойкостью против коррозии и малой теплопроводностью материала таких вставок.
Медная вставка из-за высокой теплопроводности, высокой температуры плавления и большого отношения IПОГР / Iном в области малых перегрузок не обеспечивает защиту объекта (область А, рис. 11.1).
КОНСТРУКЦИЯ ПРЕДОХРАНИТЕЛЕЙ НИЗКОГО НАПРЯЖЕНИЯ
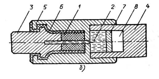
а) Предохранители с гашением дуги в закрытом объеме. Прсдохранители на токи от 15 до 60 А имеют упрощенную конструкцию. Плавкая вставка 1 прижимается к латунной обойме 4 колпачком 5, которые является выходным контактом (рис. 16.3, а). Плавкая вставка 1 штампуется из цинка, являющегося легкоплавким и стойким к коррозии материалом. Указанная форма вставки позволяет получить благоприятную времятоковую (защитную) характеристику. В предохранителях на токи более 60 А плавкая вставка 1 присоединяется к контактным ножам 2 с помощью болтов (рис. 11.2, б).
Вставка располагается в герметичном трубчатом патроне, который состоит из фибрового цилиндра 3, латунной обоймы 4 и латунного колпачка 5.
При отключении сгорают суженные перешейки плавкой вставки, после чего возникает дуга. Под действием температуры дуги фибровые стенки патрона выделяют газ, в результате чего давление в патроне за доли полупериода поднимается до 4—8 МПа. За счет увеличения давления поднимается вольт-амперная характеристика дуги, что способствует ее быстрому гашению.
Плавкая вставка может иметь от одного до четырех сужений (рис 11.2, в) в зависимости от номинального напряжения. Суженные участки вставки способствуют быстрому ее плавлению при КЗ и создают эффект токоограничения.
Поскольку гашение дуги происходит очень быстро (0,002 с), можно считать, что уширенные части вставки в процессе гашения остаются неподвижными. Рассмотрим вставку с четырьмя перешейками. После их перегорания образуются четыре разрыва. На каждом катоде разрыва восстанавливается электрическая прочность около 200 В, а суммарная прочность предохранителей достигает 800 В. Это явление наряду с высоким давлением позволяет надежно гасить дугу при напряжении источника до 500 В.
Давление внутри патрона пропорционально квадрату тока в момент плавления вставки и может достигать больших значений. Поэтому фибровый цилиндр должен обладать высокой механической прочностью, для чего на его концах установлены латунные обоймы 4. Диски 6, жестко связанные с контактными ножами 2, крепятся к обойме патрона 4 с помощью колпачков 5.
Предохранители работают бесшумно, практически без выброса пламени и газов, что позволяет устанавливать их на близком расстоянии друг от друга.

Рис. 11.2. Предохранитель типа ПР-2

Предохранители выпускаются двух осевых размеров — короткие и длинные. Короткие предназначены для работы на переменном напряжении не выше 380 В. Они имеют меньшую отключающую способность, чем длинные, рассчитанные на работу в сети с напряжением до 500 В.
В зависимости от номинального тока выпускается шесть габаритов патронов различных диаметров. В патроне каждого габарита могут устанавливаться вставки на различные номинальные токи. Так, в патроне на номинальный ток 15 А могут быть установлены вставки на ток 6, 10 и 15 А.
В табл. 11.2 приведены значения испытательных токов для предохранителя типа ПР-2. Различают нижнее и верхнее значения испытательного тока. Нижнее значение испытательного тока — это максимальный ток, который, протекая в течение 1 ч, не приводит к перегоранию предохранителя. Верхнее значение испытательного тока — это минимальный ток, который, проходя в течение 1 ч, плавит вставку предохранителя. С достаточной точностью можно принять пограничный ток равным среднеарифметическому испытательных токов.
Предохранители типа ПР-2 обладают токоограничением. Так, в цепи с током КЗ 50 000 А плавкая вставка на номинальный ток 6 А перегорает при токе всего 400 А. Однако чем больше номинальный ток, тем меньше эффект токоограничения. При номинальном токе 600 А токоограничение отсутствует, так как дуга горит весь полупериод.
Испытательные токи плавких вставок Таблица 16.2.
| Номинальный ток вставки, А | Длительность прохождения испытательного тока, ч | Кратность испытательного тока по отношению к номинальному | |
| Нижнее значение | Верхнее значение | ||
| 6, 10 15, 20, 25 35—350 430—1000 | 1 1 1 2 | 1.5 1,4 1,3 1,3 | 2,1 1,75 1,6 1,6 |
б) Предохранители с мелкозернистым наполнителем.
Эти предохранители более совершенны, чем предохранители ПР-2. Корпус квадратного сечения 1 предохранителя типа ПН-2 (рис. 11.3) изготавливается из прочного фарфора или стеатита. Внутри корпуса расположены ленточные плавкие вставки 2 и наполнитель — кварцевый песок 3. Плавкие вставки привариваются к диску 4, который крепится к пластинам 5, связанным с ножевыми контактами 9. Пластины 5 крепятся к корпусу винтами.
В качестве наполнителя используется кварцевый песок с содержанием Si02 не менее 98 %, с зернами размером (0,2н-0,4) • 10-3 м и влажностью не выше 3 %. Перед засыпкой песок тщательно просушивается при температуре 120—180 °С. Зерна кварцевого песка имеют высокую теплопроводность и хорошо развитую охлаждающую поверхность.
Плавкая вставка выполняется из медной ленты толщиной 0,1— 0,2 мм. Для получения токоограничения вставка имеет суженные сечения 8. Плавкая вставка разделена на три параллельных ветви для более полного использования наполнителя. Применение тонкой ленты, эффективный теплоотвод от суженных участков позволяют выбрать небольшое минимальное сечение вставки для данного номинального тока, что обеспечивает высокую токоограничивающую способность. Соединение нескольких суженных участков последовательно способствует замедлению роста тока после плавления вставки, так как возрастает напряжение на дуге предохранителя. Для снижения температуры плавления на вставки наносятся оловянные полоски 7 (металлургический эффект).
При КЗ плавкая вставка сгорает и дуга горит в канале, образованном зернами наполнителя. Из-за горения в узкой щели при токах выше 100 А дуга имеет возрастающую вольт-амперную характеристику. Градиент напряжения на дуге очень высок и достигает (2–6)-104 В/м. Этим обеспечивается гашение дуги за несколько миллисекунд.
![]() |
Рис. 11.3. Предохранитель типа ПН-2
После срабатывания предохранителя плавкие вставки вместе с диском 4 заменяются, после чего патрон засыпается песком. Для герметизации патрона под пластины 5 кладется асбестовая прокладка 6 , что предохраняет песок от увлажнения. При номинальном токе 40 А и ниже предохранитель имеет более простую конструкцию.
Предохранители ПН-2 выпускаются на номинальный ток до 630 А. Предельный отключаемый ток КЗ, который может отключаться предо

хранителем, достигает 50 кА (действующее значение тока металлического КЗ сети, в которой устанавливается предохранитель).
Малые габариты, незначительная затрата дефицитных материалов, высокая токоограничивающая способность являются достоинствами этого предохранителя.
В малогабаритных распределительных устройствах применяются резьбовые предохранители типа ПРС (рис. 11.4, а). Один конец цепи подводится к контакту 1, который связан с контактной гильзой 2, соединенной резьбой с контактом съемной головки 3. Плавкая вставка 4 располагается в фарфоровом цилиндре 5, заполненном кварцевым песком. На торцах цилиндра 5 укреплены контактные колпачки, с которыми соединена плавкая вставка 4. Второй конец цепи через контакт 7 соединяется с контактным винтом 8. Предохранитель имеет указатель срабатывания. При сгорании плавкой вставки освобождается специальная пружина, которая выбрасывает глазок в застекленное отверстие 6. После срабатывания предохранителя заменяется цилиндр 5 со сгоревшей плавкой вставкой и сигнализирующим устройством.
Предохранители этого типа выпускаются на токи до 100 А, напряжение до 440 В постоянного тока и до 500 В переменного тока частотой 50 Гц. Предельно отключаемый ток составляет 60 кА.
Эти предохранители более сложны в производстве и более дороги, чем предохранители ПН-2. Поэтому их применение целесообразно при малых габаритах распределительного устройства и ограниченном времени обслуживания (после сгорания плавкой вставки).
в) Предохранители с жидкометаллический контактом.
В таком предохранителе (рис. 11.5, б) электроизоляционная трубка 1 имеет капилляр, заполненный жидким металлом 2. Капилляр с жидким металлом герметично закрыт электродами 3, 4 и корпусом 5 с уплотнением 6 и имеет специальное демпфирующее устройство 7, 8. При протекании большого тока жидкий металл в нем испаряется, образуется паровая пробка и электрическая цепь размыкается. После определенного времени пары металла конденсируются и контакт восстанавливается. Предельный отключаемый ток таких предохранителей достигает 250 кА при напряжении 450 В переменного тока. Предохранители работают многократно с большим токоограничением.
г) Быстродействующие предохранители для защиты полупроводниковых приборов.
Малая тепловая инерция, быстрый прогрев полупроводникового перехода крайне затрудняют защиту мощных диодов, тиристоров и транзисторов при токовых перегрузках. Обычные типы предохранителей и автоматических выключателей из-за относительно большого времени срабатывания не обеспечивают защиту полупроводниковых приборов при КЗ. Для выполнения этой задачи разработаны специальные быстродействующие предохранители.
При времени протекания тока t<0,02с можно считать, что процесс нагрева прибора протекает по адиабатическому закону. Для удобства согласования характеристик прибора и предохранителя вводится
понятие интеграла Джоуля
где t — длительность протекания тока через прибор.
Рис. 11.4. Предохранитель типа ПРС (а),

Рис. 11.5. Жидкометаллический предохранитель (б)
Для эффективной защиты необходимо, чтобы полный джоулев интеграл предохранителя был меньше джоулева интеграла защищаемого прибора. Джоулев интеграл предохранителя состоит из джоулева интеграла нагрева до температуры плавления вставки Спл и джоулева интеграла гашения образовавшейся дуги Сгаш..С целью сокращения первой составляющей предохранитель должен работать с большим токоограничением. Для достижения этой цели плавкая вставка выполняется из серебра, имеет перешеек с минимальным сечением и охлаждается кварцевым наполнителем.
С целью улучшения охлаждения при больших номинальных токах плавкая вставка выполняется из ленты толщиной 0,05—0,2 мм. При больших токах вставка имеет несколько параллельных ветвей. Помога


ет также заполнение кварцевым песком под большим давлением. В некоторых случаях для дальнейшего уменьшения перешейка предохранитель имеет искусственное водяное охлаждение.
Для уменьшения времени горения дуги плавкая вставка имеет большое число перешейков. После плавления вставки образуется ряд последовательно включенных дуг, благодаря чему вольт-амперная характеристика предохранителя поднимается. Число перешейков ограничивается перенапряжением, которое возникает при отключении цепи.
При постоянном токе гашение дуги осложняется тем, что ток не проходит через нуль и вся электромагнитная энергия отключаемой цепи рассеивается в предохранителе. Решающим фактором при постоянном токе является постоянная времени цепи
С увеличением постоянной времени Т условия работы предохранителя утяжеляются. Необходимо выбирать предохранитель на более высокое номинальное напряжение, чем при переменном токе.
Конструктивно быстродействующий предохранитель представляет собой корпус из прочного фарфора, внутри которого расположены плав-, кие вставки и кварцевый песок. Контакты укрепляются к корпусу винтами и могут иметь различное исполнение.
В современных преобразовательных установках каждый полупроводниковый прибор имеет предохранитель. Токи, протекающие через предохранитель, могут достигать 100—200 кА. При разрушении предохранителя может произойти авария преобразовательной установки. В связи с этим быстродействующие предохранители должны иметь большую механическую прочность и обладать высокой надежностью.
Выпускается серия быстродействующих предохранителей ПП-57 на номинальные токи 40—800 А и готовится к выпуску серия ПП-59 на номинальные токи 250—2000 А. Номинальные напряжения составляют до 1250 В переменного и до 1050 В постоянного тока.
Быстродействующие предохранители предназначены только для защиты от КЗ. Защита от перегрузок должна выполняться другими аппаратами.
. ВЫБОР ПРЕДОХРАНИТЕЛЕЙ
а) Выбор по условиям длительной эксплуатации и пуска. В процессе длительной эксплуатации температура нагрева предохранителя не должна превосходить допустимых значений. В этом случае обеспечивается стабильность времятоковых характеристик предохранителя. Для выполнения этого требования необходимо, чтобы патрон и плавкая вставка выбирались на номинальный ток, равный или несколько больший номинального тока защищаемой установки.
Предохранитель не должен отключать установку при перегрузках, которые являются эксплуатационными. Так, пусковой ток асинхронного двигателя с короткозамкнутым ротором может достигать 7 Iном. По мере разгона пусковой ток падает до значения, равного номинальному току двигателя. Длительность пуска зависит от характера нагрузки. Например, для привода металлорежущих станков с относительно небольшой инерцией механизма время разгона двигателя составляет 1 с. Процесс разгона центрифуги происходит значительно медленней из-за большой инерции механизма, и длительность пуска может достигать 10 с и более. Предохранитель должен не перегорать при воздействии пусковых токов, а в плавких вставках не должно происходить старения под действием этих токов. Экспериментально установлено, что старение плавкой вставки не происходит при токах, равных половине тока плавления. Согласно рис. 11.6 вставка предохранителя ПН-2 при времени 1 с плавится при токе, равном 5 Iном. . Вследствие производственных допусков времятоковая характеристика имеет разброс (штриховые кривые). Если пуск длится 1 с, то среднее значение пускового тока за этот период должно быть не более 0,5 тока плавления вставки за это же время. Таким образом, пусковой ток Iп связан с током вставки соотношением Iп =0,5 Iпл = 0,5-5 Iв.ном, и, следовательно,
Iв.ном =0,4 Iп ,
т.е. номинальный ток вставки выбирается по пусковому току нагрузки.
Для тяжелых условий пуска, когда двигатель медленно разворачивается (привод центрифуги), или в повторно кратковременном режиме, когда пуски происходят с большой частотой, вставки выбирают с еще большим запасом:
Iв.ном =(0,5–0,6) Iп.
Если предохранитель стоит в линии, питающей несколько двигателей, плавкую вставку рекомендуется выбирать по формуле
![]() |
где IР — расчетный номинальный ток линии, равный
Ном,дв. Разность Iп - Iном.дв берется для двигателя, у которого она наибольшая.
Для двигателя с фазным ротором, если Iп
2Iном.дв плавкую вставку можно выбирать по условию

Для двигателей, работающих в повторно-кратковременном режиме, за номинальный принимается ток в режиме ПВ = 25%.
Наряду с проверкой вставки по условиям пуска или кратковременной перегрузки необходимо проводить проверку по условиям К.З. При
время перегорания вставки не превышает 0,15—0,2 с, и на этом времени мало сказывается разброс характеристик вставок. При таком времени сваривание контактов контактора или магнитного пускателя маловероятно. Однако это требование часто не удается соблюсти, так как кратность Iк/ Iв.ном определяется мощностью питающего трансформатора и сопротивлением токопроводящих проводов и кабелей. Допускается применение предохранителей при кратностях
. При такой кратности время отключения может достигать 15 с, что создает опасность для обслуживающего персонала, так как при этой кратности напряжение прикосновения может оказаться опасно большим. При такой низкой кратности
Iк/Iв.ном нагрев провода при небольших перегрузках (1,6—2) может быть очень большим и может приводить к выгоранию изоляции. Поэтому установка плавких вставок с большим запасом может допускаться только в крайних случаях, когда выгорание изоляции проводников не грозит пожаром (провода уложены в стальных трубах и имеют огнестойкую изоляцию).
В заключение следует указать, что номинальное напряжение предохранителя Uном.пр должно быть равно номинальному напряжению сети Uном.с.
-
![]() |
Рис. 11.6. Времятоковая характеристика предохранителя ПН-2
. ВЫСОКОВОЛЬТНЫЕ ПРЕДОХРАНИТЕЛИ
а) Назначение, предъявляемые требования. При напряжении выше 3 кВ и частоте 50 Гц применяются высоковольтные предохранители. Процесс нагрева плавкой вставки в высоковольтных предохранителях протекает так же, как и в предохранителях низкого напряжения.
В отношении времени плавления к высоковольтным предохранителям предъявляется следующее общее требование: длительность плавления вставки должна быть менее 2 ч при токе перегрузки, равном 2 Iном., и более 1 ч при токе перегрузки, равном
1,3 Iном..
Высоковольтные предохранители часто применяются для защиты трансформаторов напряжения от КЗ. Ток, текущий через предохранитель в номинальном режиме, не превышает доли ампера. В таких предохранителях время плавления вставки равно 1 мин при токе 1,25—2,5 А.
В связи с высоким значением восстанавливающегося напряжения процесс гашения дуги усложняется. В связи с этим изменяются габаритные размеры и конструкция высоковольтных предохранителей. Наибольшее распространение получили предохранители с мелкозернистым наполнителем и стреляющего типа.
б) Предохранители с мелкозернистым наполнителем. Размер зерен и материал такие же, как и в низковольтных предохранителях. Длина плавкой вставки, м, таких предохранителей может быть определена по эмпирической формуле

где Uном. — номинальное напряжение предохранителя, кВ.
Для эффективного гашения дуги плавкая вставка берется малого диаметра.
Предохранители типа ПК на напряжение 6—10 кВ (рис. 16.12, а) содержат фарфоровый цилиндр /, армированный по торцам латунными колпаками 2. Наполнитель 7 в виде песка засыпается через отверстие в колпаке, которое после засыпки запаивается крышкой 3. В предохранителях на ток до 7,5 А медная плавкая вставка 5 наматывается на керамический рифленый каркасе. Это позволяет увеличить длину плавкой вставки и эффект токоограничения, а следовательно, повысить отключаемый ток. Однако при перегрузках, меньших 3 /иом, возможно образование токопроводящего канала из материала каркаса и расплавившейся вставки. В результате наступает тепловое разрушение предохранителя. Поэтому предохранители с каркасом следует применять только для защиты от КЗ.
При номинальных токах, превышающих 7,5 А, плавкая вставка выполняется в виде параллельных спиралей (рис. 11.7,а). Применение параллельных вставок позволяет увеличить номинальный ток до 100 А при Uном.=3 кВ. При напряжении 10 кВ номинальный ток предохранителя равен 50 А. При токе 200 А приходится устанавливать четыре параллельных предохранителя. Применение параллельных вставок позволяет изготавливать их из медной или серебряной проволоки малого диаметра и сохранять эффект узкой щели в процессе дугогашения. Для снижения температуры предохранителя при небольших длительных перегрузках плавкие вставки имеют оловянные шарики 6.
Предохранитель имеет указатель срабатывания 9. На указатель 9 действует пружина, которая удерживается во втянутом состоянии специальной плавкой вставкой 8. Эта вставка перегорает после перегорания основных вставок 5. При этом указатель освобождается и выбрасывается в положение 9 с силой, определяемой пружиной. Этот
указатель можно использовать для автоматического отключения выключателя нагрузки после отключения КЗ предохранителем. Указатель 9 может быть использован также в предохранителях с автоматическим повторным включением. В этом случае срабатывание указателя в первом предохранителе ведет к параллельному подключению к нему другого предохранителя с исправной плавкой вставкой.
При КЗ плавкая вставка испаряется по всей длине и в цепь вводится длинная дуга, горящая в узкой щели и имеющая высокое сопротивление, особенно в начальной стадии, когда пары металла
недостаточно ионизированы. Все это приводит к возникновению
больших перенапряжений — до 4,5 Uном на контактах предохранителя. Для ограничения перенапряжений применяются вставки переменного сечения. Вначале сгорает участок меньшего сечения, а затем большего. В результате длина дуги растет медленней.
![]() |
Рис. 11.7. Предохранитель типа ПК
Предохранители с мелкозернистым наполнителем обладают
токоограничением, особенно при больших токах КЗ. В длительном
режиме интенсивное охлаждение тонких плавких вставок позволяет выполнять их с минимальным сечением и снизить ток плавления.
С ростом номинального тока эффект токоограничения падает. Но-
минальный ток отключения предохранителей достигает 20 кА при напряжении до 10 кВ. Предохранители серии ПКТН на напряжение до 35 кВ имеют внутри керамический каркас с тонкой плавкой вставкой. Так как номинальный ток вставок менее 1 А, то их сечение мало и токоограничивающий эффект особенно велик. Плавкая вставка выполняется из константановой проволоки с четырехступенчатым сечением для ограничения перенапряжений. Плавление вставки происходит последовательно по ступеням. Предохранитель обеспечивает защиту высоковольтных шин от повреждения трансформатора напряжения при любой мощности источника питания (ток ограничивается предохранителем).
Предохранители серий ПК и ПКТН работают бесшумно, без выброса пламени и раскаленных газов.
Для нормальной работы предохранителей особо важное значение имеет герметизация. При проникновении влаги в предохранитель он теряет свойство дугогашения. Поэтому места пайки и цементирующая замазка, крепящая колпачки, окрашиваются специальной влагозащитной эмалью. Перезарядка предохранителя в эксплуатации не допускается.
Как правило, установки напряжением 35 кВ и выше работают на открытом воздухе и подвержены воздействию атмосферы. В этих условиях трудно обеспечить надежную работу предохранителя ПК из-за увлажнения наполнителя.
Перспективы дальнейшего развития предохранителей на напряжение выше 35 кВ осложняются технологическими трудностями изготовления и ростом их габаритов.
в) Стреляющие предохранители. Для работы на открытом воздухе при напряжении 10 и 35 кВ и отключаемом токе до 15 кА применяются так называемые стреляющие предохранители типов ПСН-10 и ПСН-35. На рис. 11.8 показан патрон предохранителя ПСН-35. В корпусе 1 установлены две винипластовые трубки 2 и 3, соединенные стальным патрубком 4. Плавкая вставка 5 присоединяется к токоведущему стержню 6 и гибкому проводнику 7, соединенному с наконечником 8. Патрон, установленный на изоляторах, показан на рис. 11.9. Изоляторы1 крепятся к стальному цоколю 2. Цепь присоединяется к выводам 3 и 4. Вращающийся контакт 5 действует на наконечник 8 (рис. 11.8) и с помощью своей пружины стремится вытащить гибкий проводник 7 из трубки 3. При перегорании плавкой вставки образуется дуга, которая, соприкасаясь со стенками трубки, разлагает их, и образующийся газ поднимает давление в трубке. При вытягивании наконечника из трубки длина дуги увеличивается, давление возрастает. При больших токах мембрана 9 в патрубке 4 разрывается и дуга гасится поперечным дутьем. Если ток невелик, то дуга гасится продольным потоком газа, который вырывается из трубки после выброса гибкого контакта 7 из трубки. Длительность горения падает при увеличении тока. При больших токах дуга гаснет за 0,04 с. При малых токах (800—1000 А) время горения возрастает до 0,3 с.
![]() |
Рис. 11.8. Патрон стреляющего предохранителя типа ПСН-35

Рис. 16.14. Предохранитель типа ПСН-35
Процесс отключения сопровождается сильным выбросом пламени, газов и стреляющим звуковым эффектом. Поэтому стреляющие предохранители соседних фаз должны быть на значительном удалении друг от друга.
Рекомендация для Вас - 21 Программы наблюдений за гидрологическими показателями.
В процессе гашения дуга сначала имеет небольшую длину, а затем длина ее увеличивается по мере выброса гибкого проводника. Это ограничивает скорость роста сопротивления дугового промежутка и устраняет перенапряжения.
г) Выбор предохранителей. При определении номинального тока вставки необходимо исходить из условия максимальной длительной перегрузки.
Очень часто обмотка высшего напряжения трансформатора присоединяется через предохранитель. При подаче напряжения на трансформатор возникают пики намагничивающего тока, среднее значение амплитуды которых достигает 10 Iном., а длительность прохождения примерно равна 0,1 с. Выбранный по номинальному току предохранитель должен быть проверен на прохождение в течение 0,1 с начального намагничивающего тока.
В заключение необходимо проверить селективность работы предохранителя с выключателями, установленными на стороне высокого и низкого напряжения.
При КЗ в самом трансформаторе время отключения предохранителя должно быть меньше, чем выдержка времени выключателя, установленного на стороне высокого напряжения и ближайшего к предохранителю. При КЗ на стороне низкого напряжения предохранитель должен иметь время плавления больше, чем уставка защиты выключателей на стороне низкого напряжения. При выборе предохранителя необходимо соблюсти также соотношение





























