Микропроцессорная техника
Раздел 4. Микропроцессорная техника.
4.1. Назначение, устройство, характеристики и принцип действия микропроцессора. Арифметические и логические основы представления информации.
Развитие микропроцессорной техники и ее использование в народном хозяйстве, научных исследованиях, образовании и других сферах человеческой деятельности является в настоящее время приоритетным направлением научно-технического прогресса. Разработка, производство и эксплуатация такой техники требует подготовки соответствующих специалистов, обладающих достаточно глубокими знаниями принципов построения, организации и функционирования современных микропроцессорных устройств, комплексов и систем. Такие знания необходимы не только специалистам различных областей вычислительной техники, но и инженерам других специальностей, связанных с применением микропроцессоров и микроЭВМ.
Применение микропроцессоров в автоматизированных системах существенно расширяет их функциональные возможности, облегчает реализацию различных законов оптимального и адаптивного управления при высокой точности регулирования по основным координатам. В микропроцессорных системах появляются возможности для выполнения функций контроля и диагностики, а также возможности для организации защиты устройств в различных аварийных ситуациях.
Применение микропроцессоров обуславливает и новые аспекты при проектировании, наладке и эксплуатации. Вместо разработки электрических схем аппаратной реализации алгоритмов управления объектом необходимо разрабатывать программу, обеспечивающую реализацию данного алгоритма.
При создании автоматических и автоматизированных систем различного назначения в качестве устройств обработки информации широко используются два класса средств цифровой техники:
1) устройства с жесткой структурой, выполненные на базе цифровых логических схем;
Рекомендуемые материалы
2) программируемые устройства на базе микропроцессорной техники.
Устройства с жесткой структурой обычно содержат большое число дискретных элементов и интегральных схем (ИС) малой и средней степени интеграции. Эти компоненты устанавливаются на печатных платах, а выводы элементов и плат соединяются в соответствии с реализуемыми устройством функциями. Различного рода изменения функций требуют изменения схемы (т.е. перепайки соединений, замены компонентов). Поэтому главным недостатком систем на основе таких устройств является значительное время проектирования и изготовления, а также трудности внесения изменений.
Программируемые устройства на основе микропроцессорной техники могут легко перестраиваться с реализации одной функции на другую, для чего достаточно составить и занести в память новую программу. Возможность использования одних и тех же аппаратных устройств для решения различных задач значительно сокращает сроки проектирования, изготовления и настройки системы.
Первые микропроцессорные устройства появились в начале 70- х годов в результате бурных темпов развития и высоких достижений в области микроэлектроники и вычислительной техники. Базовым элементом любой микропроцессорной системы является микропроцессор (МП), в котором объединены универсальные возможности программируемых средств с преимуществами, представляемыми технологией микроэлектроники. Низкая стоимость, малая масса и размеры, высокая надежность и ряд других характеристик МП сделали перспективным создание на их основе управляющих и обрабатывающих цифровых устройств и систем, позволяющих достигнуть значительного повышения уровня автоматизации технологических установок, экономии энергии, сырья и материалов.
Микропроцессор рассчитан на совместную работу с запоминающими устройствами и устройствами ввода-вывода информации. В зависимости от функциональных возможностей микропроцессоры делят на универсальные и специализированные.
Универсальный микропроцессор служит основой микро-ЭВМ, используется для решения широкого круга задач в системах управления, измерительных приборах, диагностических устройствах и т. п.
Специализированный микропроцессор рассчитан на узкое применение, решение конкретной задачи и оптимизирован по определенному параметру. Так, специализированный матричный перемножитель решает только одну задачу—умножение двух чисел, но выполняет эту процедуру во много раз быстрее, чем универсальный микропроцессор.
Микропроцессорный комплект или набор — это совокупность специально разработанных отдельных микропроцессорных и других интегральных схем, которые совместимы по своим конструктивно-технологическим данным: могут быть собраны в единое целое. Они предназначены для совместной работы в микро-ЭВМ, микропроцессорных системах, микроконтроллерах и т.п. Обычно в комплект входят БИС микропроцессора, запоминающих устройств, ввода-вывода информации, микропрограммного управления и др.
Микропроцессорная система — это собранная в единое целое совокупность взаимодействующих БИС микропроцессорного комплекта — модулей (иногда дополненная БИС из других комплектов), организованных в работающую систему, т. е. вычислительная или управляющая система с микропроцессором в качестве узла обработки информации. Система, в которой используются два или более микропроцессоров, называется мультимикропроцессорной системой.
Свойства микропроцессора могут быть описаны многими характеристиками. К основным из них, используемым при сопоставлении и выборе микропроцессоров, можно отнести:
-вид микропроцессора (универсальный или специализированный, однокристальный или многокристальный);
-технология изготовления: р-канальная МОП (р-МОП), n-канальная МОП (n-МОП), комплементарная МОП (КМОП), кремний на сапфире, биполярная ТТЛ, ТТЛ с диодами Шотки (ТТЛДШ), инжекционной интегральной логики (И2Л), эмиттерно-связанной логики (ЭСЛ) (информация о технологии изготовления дает представление о потреблении энергии и среднем быстродействии микропроцессора);
-разрядность (4; 8; 16; 32) —длина информационного слова, которое может быть одновременно обработано микропроцессором (она может быть фиксированной или наращиваемой, например, у многокристальных микропроцессоров);
-принцип управления: программное управление с «жесткой логикой», микропрограммное управление (хранимая в памяти логика);
-емкость адресуемой памяти характеризует возможности микропроцессора по взаимодействию с запоминающим устройством;
-быстродействие, в справочниках наиболее часто его характеризуют продолжительностью выполнения одной операции (или числом операций «регистр-регистр» в секунду), а также тактовой частотой продолжительностью цикла простой команды;
-потребляемая мощность;
-питающие напряжения (число уровней, номиналы);
-конструктивные данные: габаритные размеры корпуса, число выводов;
-условия эксплуатации (интервал рабочих температур, относительная влажность воздуха, допускаемые вибрационные нагрузки и т. п.);
-надежность;
-стоимость.
Под архитектурой микропроцессора понимают принцип его внутренней организации, общую структуру, конкретную логическую структуру отдельных устройств, совокупность команд и взаимодействие между аппаратной частью (устройствами, входящими в состав микропроцессора) и программой обработки информации системой, выполненной на основе микропроцессора. Иначе говоря, архитектуру микропроцессора определяют как совокупность его свойств и характеристик, рассматриваемую с позиции пользователя.
Множество выпускаемых промышленностью универсальных микропроцессоров можно разделить по конструктивному признаку на две разновидности:
-однокристальные микропроцессоры с фиксированной длиной (разрядностью) слова и определенной системой команд;
-многокристальные (секционированные) микропроцессоры с наращиваемой разрядностью слова и микропрограммным управлением, которые составляются из двух и более БИС. В последнее время появились и однокристальные микропроцессоры с микропрограммным управлением.
Внутренняя логическая организация однокристальных микропроцессоров в значительной степени подобна организации ЭВМ общего назначения. Это дает возможность при разработке микропроцессорной системы на основе однокристального микропроцессора опираться на методы проектирования и использования обычных ЭВМ малой и средней производительности.
Структура многокристального микропроцессора, микропрограммное управление позволяют достичь гибкости в его применении, улучшить характеристики и сравнительно простыми средствами организовать распараллеливание отдельных машинных операций, что повышает производительность ЭВМ, выполняемых на таких микропроцессорах.
Однако, хотя возможности многокристальных микропроцессоров существенно выше, чем однокристальных, многие прикладные задачи, в том числе построения автоматических измерительных приборов, успешно решаются на основе использования однокристального микропроцессора. Поэтому ограничимся знакомством со структурой последнего.
Рассмотрим структуру однокристального универсального микропроцессора, причем для определенности выберем восьмиразрядный прибор. В состав микропроцессора входят арифметическо-логическое устройство, управляющее устройство и блок внутренних регистров.
Арифметическо-логическое устройство (АЛУ), служащее ядром микропроцессора, как правило, состоит из двоичного сумматора со схемами ускоренного переноса, сдвигающего регистра и регистров для временного хранения операндов. Обычно это устройство выполняет по командам несколько простейших операций: сложение, вычитание, сдвиг, пересылку, логическое сложение (ИЛИ), логическое умножение (И).

Регистром называется электронная схема для временного хранения двоичной информации (машинного слова). Ее строят на триггерах, общее число которых определяет разрядность регистра. Каждый триггер регистра используется для ввода, хранения и вывода одного разряда (1 или 0) двоичного числа. Разрядность регистра выбирают соответственно длине хранимого в нем слова.
Регистры, которые служат только для ввода, хранения и вывода двоичной информации, называют накопительными. От них отличаются сдвигающие регистры, которые помимо выполнения указанных функций позволяют осуществлять сдвиг двоичного числа вправо или влево (а иногда - в обоих направлениях). Если в накопительный регистр вводят числа в параллельном коде, т. е. одновременно во все триггеры, то ввод чисел в сдвигающий регистр часто производят в последовательном коде, подавая последовательно один разряд за другим, хотя возможен и ввод чисел в параллельном коде.
Операндом называют число или символ, участвующие в машинной операции. Так, в выражении у = а + b или ω = 2k—1 операнды – это а, b, 2, k, 1.
Типичным примером операнда, используемого при процедуре обработки данных микропроцессором, служит байт.
Устройство управления (УУ) «руководит» работой АЛУ и внутренних регистров в процессе выполнения команды. Согласно коду операции, содержащемуся в команде, оно формирует внутренние сигналы управления блоками микропроцессора. Адресная часть команды совместно с сигналами управления используется для считывания данных из определенной ячейки памяти (записи данных в ячейку). По сигналам УУ осуществляется выборка каждой новой, очередной команды.
Блок внутренних регистров, расширяющий возможности АЛУ, служит внутренней памятью микропроцессора и используется для временного хранения данных и команд. Он также выполняет некоторые процедуры обработки информации. Обычно этот блок содержит регистры общего назначения и специальные регистры: регистр-аккумулятор, буферный регистр адреса, буферный регистр данных, счетчик команд, регистр команд, регистры стека, регистр признаков. Кратко охарактеризуем функции всех регистров.
Регистры общего назначения (РОН), число которых может изменяться от 4 до 64, в значительной мере определяют вычислительные возможности микропроцессора. Их основная функция—хранение операндов, т. е. подлежащих обработке данных. Но они могут выполнять и роль специальных регистров. Все РОН доступны программисту, который их рассматривает как сверхоперативное запоминающее устройство (понятия оперативного и постоянного внешних запоминающих устройств — ОЗУ и ПЗУ — поясняются в следующем параграфе). Иногда в технической документации к микропроцессору содержатся рекомендации по использованию РОН.
Регистр-аккумулятор, обычно называемый просто аккумулятором (встречается также название накопитель), предназначен для временного хранения операнда или промежуточного результата арифметических и логических операций, производимых АЛУ. При выполнении какой-либо операции с двумя операндами в этом регистре содержится один из используемых операндов, а после выполнения операции — ее результат. Разрядность регистра равна разрядности информационного слова (в рассматриваемом примере микропроцессора аккумулятор — восьмиразрядный регистр). Часто ввод и вывод всех данных в микропроцессоре производятся через аккумулятор. Встречаются микропроцессоры с двумя и более аккумуляторами, что позволяет повысить гибкость работы и эффективность решения задач.
Буферный регистр адреса — специальный регистр, служащий для приема и хранения адресной части исполняемой команды. Иначе говоря, в нем содержится до выдачи на адресную шину адрес слова, хранимого в ячейке внешней памяти или другом регистре. Возможное количество адресов, т. е. непосредственно адресуемых слов памяти, определяется разрядностью этого регистра. Так, в 16-разрядном регистре можно, изменяя нули и единицы отдельных разрядов двухбайтового слова, поместить (разумеется, не одновременно) 216 = 65536 адресов ячеек (слов) памяти.
Буферный регистр данных служит для временного хранения выбранного из памяти слова перед выдачей его на внешнюю шину данных. Разрядность этого регистра определяется количеством байтов информационного слова (для хранения однобайтового слова необходим 8-разрядный регистр, двухбайтового слова — 16-разрядный).
Счетчик команд — счетчик, содержащий адрес ячейки памяти, в которой помещены байты выполняемой команды. Обычно команды определенной программы находятся в последовательно расположенных ячейках памяти: для однобайтовой команды число, указывающее адрес каждой последующей ячейки, на единицу больше числа, отмечающего адрес данной ячейки. Поэтому переход к следующей команде достигается увеличением числа, содержащегося в счетчике команд, на единицу (для возврата к предыдущей команде содержимое счетчика должно быть уменьшено на единицу). В ходе выполнения текущей команды, т. е. при передаче команды из памяти в микропроцессор, содержимое счетчика команд увеличивается на единицу и образуется адрес очередной команды. Возможна ситуация, когда требуется после данной команды использовать команду, хранимую не в соседней, а в другой, скажем удаленной, ячейке памяти. Тогда по сигналу УУ в счетчик команд заносится адрес удаленной ячейки.
Регистр команд принимает и хранит код очередной команды, адрес которой находится в счетчике команд. По сигналу УУ в него передается из регистра хранимая там информация.
Регистры стека делятся на стек и указатель стека. Название «стек» происходит от английского слова steck, что в дословном переводе означает «штабель» (дров), кипа (бумаг) и др. В микропроцессорах стек представляет собой набор регистров, хранящих адреса (команды возврата — при обращении к подпрограммам) или запоминающих состояния внутренних регистров (при обработке прерываний). Этот набор организован таким образом, что слово адреса или данных выбирается по принципу: «вошедший последним — выходит первым» — подобно тому, как из штабеля дров первым берут полено, положенное последним (в английском языке этот принцип определяется выражением Last-in-First Out, и аббревиатура LIFO иногда встречается как название стековой памяти). Стек может быть выполнен не только на внутренних регистрах микропроцессора, составляя его часть, но и находиться во внешнем оперативном запоминающем устройстве, занимать там выделенную для него зону. В последнем случае стек получается более глубоким, емким, однако для обращения к нему необходим указатель стека — специальный регистр.
Указатель стека — регистр, служащий для хранения адреса последней занятой ячейки стека, которую называют вершиной. Содержащееся в регистре число указывает, где находится вершина стека. Когда в стек записывается очередное слово, то число в указателе стека соответственно увеличивается. Извлечение слова из стека сопровождается, наоборот, уменьшением заполняющего указатель стека числа. Кроме такой процедуры предусматривается и возможность считывания без разрушения содержимого любой ячейки стека при неизменном числе, хранимом в указателе стека.
Регистр признаков представляет набор триггеров, называемых флажками. В зависимости от результатов операций, выполняемых АЛУ, каждый триггер устанавливается в состояние 0 или 1. Флажковые биты, определяющие содержимое регистра, индицируют условные признаки: нулевого результата, знака результата, переполнения и т. п. Эта информация, характеризующая состояние процессора, важна для выбора дальнейшего пути вычислений /9/.
Для структуры микропроцессора характерно наличие внутренней шины данных, соединяющей между собой его основные части. Шиной называют группу линий передачи информации, объединенных общим функциональным признаком. В микропроцессорной системе используются три вида шин: данных, адресов и управления.
Разрядность внутренней шины данных, т. е. количество передаваемых по ней одновременно (параллельно) битов числа, соответствует разрядности слов, которыми оперирует микропроцессор. Очевидно, что разрядность внутренней и внешней шин данных должна быть одной и той же. У 8-разрядного микропроцессора внутренняя шина состоит из восьми линий, по которым можно передавать последовательно 8-разрядные слова — байты. Следует иметь в виду, что по шине данных передаются не только обрабатываемые АЛУ слова, но и командная информация. Следовательно, недостаточно высокая разрядность шины данных может ограничить состав (сложность) команд и их число. Поэтому разрядность шины данных относят к важным характеристикам микро-процессора — она в большой мере определяет его структуру.
Шина данных работает в режиме двунаправленной передачи. Это означает, что по ней можно передавать слова в обоих направлениях, но, разумеется, не одновременно: требуется применение специальных буферных схем и мультиплексного режима обмена данными между микропроцессором и внешней памятью. Мультиплексный режим (от англ. multiр1е – многократный, множественный), иногда называемый многоточечным режимом, — режим одновременного использования канала передачи большим числом абонентов с разделением во времени средств управления обменом.
Мультиплексором называют устройство, которое выбирает данные от одного, двух или более входных информационных каналов и подает эти данные на свой выход. Мультиплексоры могут входить в состав микропроцессора. Они также выпускаются в виде отдельных БИС, как, например, мультиплексор восьмивходовый одноразрядный; двухвходовый четырехразрядный; трехвходовый четырехразрядный и др.
Противоположную мультиплексору функцию выполняет демультиплексор – устройство, которое подает данные, подводимые к его входу, на один или более выходных информационных каналов.
Микропроцессорная система – это устройство обработки данных, состоящее из одного или нескольких микропроцессов, устройства памяти и ввода – вывода информации. Связаны эти устройства между собой посредством системы шин (совокупности проводников). Обрабатываемая микропроцессорами информация вводится и выводится с помощью специальных устройств ввода – вывода, называемых периферийными устройствами. Информация, необходимая в ходе функционирования микропроцессорной системы (программа и данные), хранится в устройстве памяти.
Перед началом работы микропроцессорной системы по выполнению некоторой программы и данные, относящиеся к ней, должны быть введены в устройство памяти. Процесс выполнения программы начинается с операции по выполнению первой команды программы, извлекаемой из памяти. В ходе выполнения команды происходит один или несколько циклов обращения микропроцессора к устройствам памяти или ввода – вывода. Первым из них является цикл чтения кода команды из ячейки памяти, адрес которой определяется содержимым счетчика команд. При этом микропроцессор выдает на шину адреса содержимое счетчика команд. По шине управления в устройство памяти поступают сигналы, обеспечивающие чтение содержимого, указываемой шиной адреса, ячейки памяти. Код запрашиваемой команды выдается на шину данных, откуда он принимается в микропроцессор и заносится в регистр команд. Далее команда расшифровывается (дешифруется). По результатам дешифрации команды процессор начинает операции по выборке операндов, инициируя, если это необходимо, один или несколько циклов чтения, в зависимости от кода команды и метода адресации. Выбранные операнды заносятся в регистры общего назначения (РОН) микропроцессора и далее поступают в арифметико-логическое устройство (АЛУ), где непосредственно происходит выполнение закодированной в команде операции. Если необходимо записать результат операции в память, то процессор инициирует цикл записи. При этом на шину адреса микропроцессор выдает адрес ячейки памяти, куда необходимо занести данные, а на шину данных результат операции; по шине управления в память поступают сигналы, обеспечивающие запись содержимого шины данных в указанную ячейку памяти. После завершения текущей команды на шину адреса выдается адрес следующей команды и описанный выше процесс повторяется.
Микропроцессор обращается к регистрам внешних устройств так же, как и к ячейкам памяти. Это позволяет для обработки данных, находящихся в памяти, и данных, передаваемых в устройство ввода из устройства вывода, использовать одни и те же команды.
Выполнение текущей программы может быть прервано сигналами некоторого внешнего события. При этом процессор прекращает выполнение основной программы и начинает выполнять программу, связанную с событием, выдавшим сигнал. После выполнения этой программы микропроцессор возвращается к основной программе. Такой механизм обслуживания внешних событий называется прерыванием, а сигналы, вызывающие прерывание, называются запросом на прерывание. Прерывания делятся на три группы: внешние, вызываемые запросами внешних устройств; внутренние, вызываемые средствами диагностирования процессора; и программные, вызываемые специальными машинными командами. Процесс прерывания программ аналогичен переходу к подпрограмме, с тем лишь отличием, что прерывание происходит по специальному сигналу, подаваемому по управляющей линии, переход же к подпрограмме осуществляется с помощью команд.
Требование прерывания могут выставить несколько источников одновременно, поэтому обработка прерываний производится в соответствии с приоритетами (важностью) источников.
Если в системе имеется несколько источников прерывания, то каждому источнику прерываний в памяти микропроцессорной системы отводится вектор прерываний, состоящий из двух слов. Первое слово содержит начальный адрес запуска программы обработки прерываний, вторым является слово состояния процессора для этой программы. После получения запроса на прерывание микропроцессор анализирует его и определяет точный адрес вектора прерываний. Наиболее распространены два механизма определения адреса вектора прерываний – векторный и обзорный.
При векторных прерываниях источник вслед за сигналом запроса на прерывание передает и адрес вектора прерывания. Обратившись по этому адресу, микропроцессор считывает адрес первой команды обслуживания прерывания.
Обзорные прерывания заключаются в выполнении общей подпрограммы прерываний с целью определения вектора прерывания конкретного устройства. Подпрограмма содержит главным образом команды считывания и анализа кода состояния внешних устройств. Последовательный анализ по заранее заданной схеме позволяет выделить устройство, подготовленное к обмену. После этого совершается условный переход и считывается вектор прерываний этого устройства.
Векторные прерывания требуют значительных аппаратных затрат, но имеют высокую скорость реакции. Обзорные прерывания требуют для реализации небольших аппаратных затрат и могут быть применены при подключении небольшого числа медленных устройств, поскольку требуют значительных затрат времени на осуществление процесса прерывания.
В процессе функционирования микропроцессорной системы возможен также режим обмена данными между устройствами памяти и устройствами ввода-вывода непосредственно без вмешательства микропроцессора. Этот режим называется режимом прямого доступа к памяти. При переходе в режим прямого доступа к памяти (ПДП) микропроцессор отключается от шин адреса и данных, переводя их в высокоомное состояние. Обмен информацией при этом организуется специальным контроллером ПДП.
В режиме ПДП внешние устройства обмениваются памятью микропроцессорной системы неодиночными данными, а большими блоками данных. В контроллер ПДП предварительно помещается информация, необходимая для управления обменом. После завершения передачи заданного количества слов контроллер ПДП прекращает обмен, информируя об этом микропроцессор.
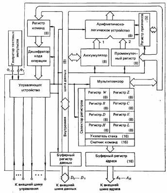
Рассмотрим процедуру обработки данных, хранимых во внутренней памяти микропроцессора. Для этого необходима более подробная структурная схема. Хотя эта схема и не лишена упрощений, она достаточно хорошо отражает организацию 8-разрядного однокристального микропроцессора (примерно такую структуру имеет микропроцессор КР580ВМ80А).

На первый вход АЛУ подается байт из 8-разрядного аккумулятора, а на второй вход поступает байт из 8-разрядного промежуточного регистра. В некоторых книгах этот регистр назван ТЕМ регистром — от английского слов (temporary storage — временная память). Результат сложения указанных двух байтов передается с выхода АЛУ через внутреннюю шину данных в аккумулятор. Это одноадресная организация микропроцессора микро-ЭВМ. Для нее характерно то, что один из операндов, участвующих в обработке, всегда находится в аккумуляторе, адрес которого известен. Поэтому при выполнении операции сложения двух операндов требуется указывать только один адрес — второго операнда, содержащегося, например, в одном из регистров общего назначения (РОН). К АЛУ подключены регистр признаков, предназначенный для хранения и анализа признаков результата операции, и схема десятичной коррекции, позволяющая проводить обработку данных в двоично-десятичном коде.
В правой нижней части рисунка изображены восемь РОН, а также указатель стека, счетчик команд и буферный регистр адреса (стековый регистр на рисунке отсутствует, так как стек представляет собой определенную зону внешней памяти—ОЗУ). Первые два РОН—регистры W и Z—предназначены для кратковременного хранения данных во время выполнения команды (эти регистры недоступны программисту), остальные шесть РОН — регистры В, С, D, Е, Н и L — служат ячейками внутренней памяти, называемой часто сверхоперативным запоминающим устройством (СОЗУ). В них хранятся операнды, подлежащие обработке в АЛУ, результаты обработки данных, выполненной АЛУ, и управляющие слова. В каждом регистре помещается один байт. Обращение к РОН — адресное. Парное расположение регистров В и С, D и Е, Н и L дает возможность проводить обработку двухбайтовых слов, называемую обработкой «удвоенной точности». Обмен данными с РОН (считывание и запись информации) осуществляется через мультиплексор, причем требуемый регистр выбирается с помощью селектора регистров по сигналу УУ. В левой части рисунка расположены регистр команд, дешифратор кода операции и УУ.
Обмен информацией между регистрами и другими блоками микропроцессора производится через внутреннюю шину данных, причем передача команд и передача данных разделены во времени. Связь с внешней шиной данных осуществляется через буферный регистр данных.
Процедура выполняемой микропроцессором обработки данных определяется программой, т. е. совокупностью команд, каждая из которых представляет собой определенную комбинацию электрических сигналов, соответствующих 0 и 1. Команда делится на две части: код операции и адрес. В коде операции заключена информация о том, какая операция должна быть выполнена над данными, подлежащими обработке. Адрес указывает место, где расположены эти данные (в регистрах общего назначения микропроцессора, т. е. во внутренней памяти, или во внешней памяти). Слово данных, подвергаемое обработке, представляет один байт. Команда может состоять из одного, двух или трех байтов, последовательно расположенных в памяти. Первый байт команды содержит код операции. Считанный в начале интервала выполнения команды, называемого циклом команды, ее первый байт поступает из памяти по внутренней шине данных в регистр команд, где хранится в течение всего цикла. Дешифратор кода операции дешифрует содержимое регистра команд — определяет характер операции и адреса операндов. Эта информация передается в УУ, которое вырабатывает управляющие сигналы, направляемые в блоки микропроцессора, участвующие в выполнении данной команды.
Возможен случай, когда код операции непосредственно указывает адрес данных — объекта обработки. Тогда она начинается сразу после считывания первого байта команды. Если же в команде содержится более одного байта, то остальные байты, несущие информацию об адресе ячейки памяти, где хранятся данные, передаются либо в буферный регистр адреса, либо в один из РОН. Только после завершения всей процедуры считывания команды или, иначе говоря, получения полной информации о местонахождении операндов и о том, какая операция должна выполняться над ними, начинается обработка.
В рассматриваемом примере выполняемая операция — сложение двух операндов. Первый операнд хранится в аккумуляторе, второй — в одном из РОИ (его адрес указан в команде), откуда он передается в промежуточный регистр. Согласно коду операции АЛУ исполняет команду: суммирует поступающие на его входы байты. Полученная сумма фиксируется в аккумуляторе. Этот результат, может быть использован на дальнейших этапах обработки (более сложной, чем суммирование двух байтов), записан во внешнюю память или передан в устройство вывода.
Арифметические и логические основы представления информации.
Микропроцессорная система производит обработку информации, представленной цифровыми сигналами. Универсальным способом отображения информации при ее сборе, передаче, хранении и преобразовании является кодирование в виде чисел. Традиционные десятичные числа оказались неудобными для применения в вычислительных системах. С точки зрения технической реализации наиболее удобна двоичная система счисления, для записи чисел в которой нужны только две цифры 0 и 1. Для аппаратной реализации цифр двоичной системы требуется только два устойчивых физических состояния: наличие или отсутствие электрического напряжения, импульсов, отверстий, свечений и т.д.
Один двоичный разряд несет информацию в один бит. Бит определяет содержательность информации, единичный элемент которой может принимать лишь два различных равновероятных значений 0 или 1. Для хранения 1 бита информации требуется один элемент памяти.
Законченная последовательность двоичных символов (нулей и единиц) называется двоичным словом. В общем слово имеет переменную длину. Двоичное слово длиной в восемь разрядов называется байтом.
Двоичная система счисления является позиционной, т.е. значение цифры зависит от ее положения в ряду цифр, изображающих число. Любое число в позиционной системе представляется как разложение по степеням системы.
Двоичное изображение числа требует большего числа разрядов, чем его десятичное представление. Тем не менее, применение двоичной системы создает большие удобства для проектирования цифровых устройств, так как для представления разряда двоичного числа может быть использован любой элемент, имеющий два устойчивых состояния (например триггер). Другим важным достоинством двоичной системы является простота двоичной арифметики. Над двоичными числами арифметические операции выполняются по тем же правилам, что и над десятичными. Отличие заключается в том, что операция умножения может быть представлена как сочетание двух операций: операция сдвига множимого влево и сложение, а операция вычитания может быть заменена сложением со специальным кодом числа. Одним из таких кодов является обратный код числа, получаемый инверсией (заменой 0 на 1 и 1 на 0) разрядов данного числа. Другим специальным кодом является дополнительный код, который может быть получен из обратного путем прибавления 1 к младшему разряду обратного кода.
Недостатком двоичной системы является громоздкость записи чисел и трудность их восприятия человеком. Поэтому в текстах для более короткой и удобной записи чисел используется восьмиричная и шестнадцатиричная системы счисления. Правила перевода чисел из двоичной системы в восьмиричную, шестнадцатиричную и обратно достаточно просты, поскольку основания этих систем выражаются целой степенью двух. Для перевода чисел из восьмиричной (шестнадцатиричной) в двоичную систему достаточно каждую цифру восьмиричного (шестнадцатиричного) числа представить трехразрядным (четырехразрядным) двоичным числом. При обратном переводе чисел из двоичной системы в восьми-, шестнадцатиричную системы необходимо разряды двоичного числа, отсчитывая от запятой влево и вправо, разбить на группы по три разряда в восьмиричную систему или в группы по четыре разряда при переводе в шестнадцатиричную систему. Неполные крайние группы дополняются нулями. Затем каждая двоичная группа представляется цифрой той системы счисления, в которую переводится число.
В общем случае перевод чисел из одной системы счисления в другую производится по известным алгоритмам «умножения» и «деления».
Логической основой построения микропроцессорных систем является алгебра логики. Основные положения алгебры логика разработал в 19 веке английский математик Джордж Буль. Алгебру логики называют также булевой алгеброй. В булевой алгебре различают двоичные переменные и логические функции. Переменные принимают два значения: да или нет, истина или ложь, которые обозначаются цифрами 1 и 0. Чтобы не смешивать с двоичными цифрами, эти константы называют логическим 0 и логической 1. Подобно операциям сложения, умножения и другим в обычной алгебре, в булевой алгебре принимают логические функции. Наиболее часто используемые функции: логическое отрицание (функция НЕ или инверсия); логическое умножение (функции И или конъюнкция); логическое сложение (функция ИЛИ или дизъюнкция).
4.2. Типовая структура микропроцессорной системы.
Типовая структура микропроцессорной системы изображена на рисунке. Кратко охарактеризуем узлы-модули, входящие в ее состав, за исключением уже описанного микропроцессора.
Генератор тактовых импульсов — источник последовательности прямоугольных импульсов, с помощью которых осуществляется управление событиями во времени. Он задает цикл команды — интервал времени, необходимый для считывания выборки команды из памяти и ее исполнения. Цикл команды состоит из определенной последовательности элементарных действий, называемых состояниями (тактами). Для некоторых микропроцессоров не требуется внешний генератор тактовых импульсов: он содержится непосредственно в схеме однокристального микропроцессора.

Основная память системы (внешняя по отношению к микропроцессору) состоит из ПЗУ и ОЗУ.
Постоянное запоминающее устройство (ПЗУ) — это устройство, в котором хранится программа (и при необходимости совокупность констант). Содержимое ПЗУ не может быть стерто. Оно используется как память программы, составленной заранее изготовителем в соответствии с требованиями ее пользователей.
Оперативное запоминающее устройство (ОЗУ), которое иначе называют запоминающим устройством с произвольной выборкой (ЗУПД) или произвольным доступом (ЗУПД), служит памятью данных, подлежащих обработке, и результатов вычислений, а в некоторых микропроцессорных системах — также программ, которые часто меняются. Его характерное свойство заключается в том, что время, требуемое для доступа к любой из ячеек памяти, не зависит от адреса этой ячейки. ОЗУ допускает как запись, так и считывание слов.
Интерфейсом называют устройство сопряжения. Это упрощенное определение. В более строгом толковании под интерфейсом понимают совокупность электрических, механических и программных средств, позволяющих соединять модули системы между собой и с периферийными устройствами. Его составными частями служат аппаратные средства для обмена данными между узлами и программные средства — протокол, описывающий процедуру взаимодействия модулей при обмене данными. Интерфейс микропроцессорной системы относится к машинным интерфейсам.
В микропроцессорной системе применяют специальные интерфейсные БИС для сопряжения периферийных устройств с системой (на рисунке они показаны в виде модулей интерфейса ввода и интерфейса вывода). Для этих БИС характерна универсальность, осуществляемая путем программного изменения выполняемых ими функций.
Более простые задачи решают порты ввода-вывода – схемы, спроектированные (запрограммированные) для обмена данными с конкретными периферийными устройствами: приема данных с клавиатуры или устройства считывания, передачи их дисплею, телетайпу и т. п. Порт – это схема средней степени интеграции, содержащая адресуемый многорежимный буферный регистр ввода-вывода (МБР) с выходными тристабильными схемами, логикой управления и разъемом для подключения устройств ввода-вывода. Возможности перепрограммирования порта ограничены.
Когда периферийные устройства, входящие в состав микропроцессорной системы, сложны, выполняют многочисленные разнообразные операции, то для сопряжения применяют усложненный интерфейс, называемый периферийным программируемым адаптером. Он содержит набор встроенных портов и других регистров, облегчающих программирование и осуществление временного согласования. К одному периферийному программируемому адаптеру может быть подключено несколько простых устройств ввода-вывода. Подобный интерфейс считают универсальным интерфейсом широкого применения; поскольку его можно сочетать почти со всеми имеющимися периферийными устройствами.
Устройство ввода осуществляет введение в систему данных, подлежащих обработке, и команд. Устройство вывода преобразует выходные данные (результат обработки информации) в форму, удобную для восприятия пользователем или хранения.
4.3. Этапы проектирования микропроцессорных систем управления (МПСУ).
Программно-аппаратная реализация функций управления в микропроцессорных системах обуславливает особый подход к процессу проектирования таких систем. Прежде всего это связано с необходимостью совместной разработки аппаратных средств и программного обеспечения системы, причём объём затрат на разработку аппаратуры постоянно уменьшается по отношению к суммарным затратам на программирование.
При проектировании МПСУ рекомендуется использовать концепцию нисходящего проектирования, сущность которой заключается в том, что проектируемую систему разбивают на несколько уровней представления. На высшем уровне используется наименее детализированное описание системы, отражающее только самые общие черты и особенности системы, на следующих уровнях степень подробности рассмотрения возрастает, при этом система рассматривается не в целом, а отдельными блоками. Такой подход позволяет разбить процесс проектирования на несколько этапов, на каждом из которых решаются задачи реализации определённого уровня представления системы. При этом сложные задачи большой размерности разбиваются на группы последовательно решаемых простых задач.
При нисходящем проектировании МПСУ исходят из желаемых свойств системы, описанных на высшем уровне. Постепенно уточняя и разбивая задачи управления на более мелкие, приходят к низшему уровню, на котором система представлена в виде совокупности электронных схем и программ реализации простейших функций управления.
Весь процесс проектирования МПСУ может быть представлен в виде алгоритма:
На первом этапе проектирования формируются требования к системе, уточняются цели и задачи управления, определяются особенности и технические характеристики объекта управления.
На втором этапе осуществляется функциональное проектирование системы, в ходе которого определяется последовательность решения задач, устанавливаются потоки информации между задачами, определяются необходимые средства сопряжения устройства управления с объектом, формируются основные требования к архитектуре микропроцессора. Результатом данного этапа должна явиться разработка функциональной схемы системы управления, которая представляется в виде совокупности функциональных блоков, связанных между собой потоками информации.
Каждый функциональный блок решает определённую задачу управления и может быть реализован как аппаратными, так и программными средствами. Выбор способа реализации в каждом конкретном случае обосновывается техническими или экономическими соображениями.
Один из наиболее ответственных этапов проектирования микропроцессорных систем автоматического управления – выбор микропроцессорных средств, который производится с учётом требований к проектируемой системе и возможностей конкретного микропроцессора. Правильный выбор микропроцессорного комплекта во многом предопределяет успешную реализацию проекта.
Следующие два этапа, в ходе которых осуществляется проектирование аппаратных средств и программного обеспечения, выполняются параллельно. При проектировании аппаратных средств сначала разрабатывается конфигурация системы, определяются способы взаимодействия элементов, производится выбор устройств ввода-вывода и памяти, разрабатывается принципиальная схема и изготавливается прототип. На этапе программирования определяется состав программного обеспечения, строятся алгоритмы решения функциональных задач, выбирается язык программирования, производится трансляция управляющей программы, написанной на языке программирования, в коды команд микропроцессора.
На заключительном этапе производится объединение аппаратных средств и программного обеспечения в единый комплекс, отладка системы и оценка её эксплутационных характеристик.
4.4. Разработка и выбор аппаратной части микропроцессорного устройства (МПУ). Выбор микропроцессорного комплекта. Организация модуля памяти. Средства сопряжения.
Выбор оптимального микропроцессорного комплекта (МПК) для конкретного применения является достаточно сложной процедурой. Это определяется постоянным ростом количества МПК, расширением области их применения, а также отсутствием чёткой методики, позволяющей сделать однозначный выбор.
Микропроцессор является функционально сложным устройством и характеризуется большим количеством параметров, важность которых в конкретном применении неодинакова, иногда низкое значение одного из параметров может быть компенсировано высоким значением другого. Более того, в ряде случаев важнейшими являются характеристики, которые не имеют особого значения в большинстве применений. Поэтому выбор МПК – это результат компромисса между его параметрами и требованиями конкретного использования.
При выборе МПК для реализации МПСУ технологическим объектом следует учитывать основные требования, предъявляемые к разрабатываемой системе: время решения задач управления, точность проведения расчётов, условия эксплуатации, надёжность.
Выбор МПК обычно производится с учётом следующих критериев:
- быстродействие микропроцессоров, которое определяется в основном технологией изготовления;
- производительность микропроцессорной системы на базе данного МПК, которая оценивается временем выполнения типовых задач управления и, кроме быстродействия, определяется такими элементами архитектуры, как система команд, система прерываний, реализация прямого доступа в память и т. д.;
- длина разрядной сетки МП, т.е. количество разрядов обрабатываемых микропроцессором слов;
- наличие программных и аппаратных средств программирования, трансляции и отладки программного обеспечения;
- электрическая совместимость с другими интегральными схемами, используемыми в системе;
- потребляемая мощность и число источников питания;
- условия эксплуатации (диапазон рабочих температур, наличие агрессивных сред).
Немаловажное значение для успешной реализации проекта играет и наличие у разработчика опыта работы с выбранным микропроцессорным комплектом.
Аппаратные средства, входящие в состав микропроцессорных систем управления, можно разделить на следующие основные части:
- вычислительная часть;
- устройство связи с объектом (УСО);
- пульт оператора;
- таймер;
- устройство связи с ЭВМ высшего ранга.
Центральным элементом системы является вычислитель, состоящий из трех модулей: процессорного модуля, памяти и модуля устройств ввода-вывода, объединенных единой магистралью.
Вычислитель осуществляет обработку информации в соответствии с алгоритмом управления, выполняя все функции микропроцессорного устройства управления, реализованные программно. Структура вычислителя повторяет структуры обычной микроЭВМ, назначение и взаимодействие основных элементов вычислителя, а также принципы обработки информации такие же, как и в любой другой микроЭВМ.
Процессорный модуль реализован на базе выбранного МПК, его схемотехническое проектирование является относительно простой задачей, решаемой по известным правилам, это связано с тем, что элементы МПК имеют очень немного вариантов подключения, которые уже определены изготовителями этих средств.
![]() |
Модуль памяти подразделяется на оперативное запоминающее устройство (ОЗУ), предназначенное для хранения исходных данных, промежуточных и конечных результатов расчетов, и постоянное запоминающее устройство (ПЗУ), содержащее управляющую программу и доступное только для чтения. Объем памяти может изменяться в широких пределах в зависимости от сложности алгоритмов управления и количества обрабатываемой в процессе управления информации. Для реализации модуля памяти используются микросхемы памяти, выпускаемые промышленностью в достаточной номенклатуре типов и отличающиеся технологическим исполнением, значением параметров, режимами работы и областью применения.
Разработка модуля памяти заключается в выполнении работ по определению необходимого объема ОЗУ и ПЗУ, выборе микросхем памяти, определении организации модуля и его сопряжения с магистралью вычислителя.
Модуль ввода-вывода обеспечивает передачу информации между вычислителем и другими элементами МПСУ. Модуль ввода-вывода состоит из отдельных каналов (портов), выполняющих управление процессом обмена между вычислителем и определенным источником или приемником информации. Обмен осуществляется при обращении к каналу с помощью специальных команд ввода-вывода, обычно входящих в систему команд микропроцессора, или в режиме прямого доступа в память. Во втором случае требуется введение дополнительных аппаратных затрат, поэтому использование прямого доступа в память эффективно при передаче больших массивов информации, когда на программный обмен затрачивается много времени.
Проектирование модуля ввода-вывода состоит из выбора способа передачи информации, определения методов реализации отдельных функций канала (дешифрации адреса, синхронизации обмена, согласование сигналов), выбора элементов и схемной реализации каналов ввода- вывода.
УСО обеспечивает непосредственную физическую связь с объектом. Их наличие в любой МПСУ обусловлено различием представления информации при ее обработке в вычислителе и на вводах-выводах объекта управления, многообразием используемых датчиков контроля состояния объекта и исполнительных механизмов . В общем случае УСО содержит в своем составе модули ввода и вывода аналоговых и цифровых сигналов, которые обеспечивают сбор информации с датчиков, преобразование непрерывных сигналов в дискретные и наоборот , формирование и выдачу управляющих сигналов на исполнительные механизмы.
Выбор структуры УСО для конкретной МПСУ управления производят с учетом типа используемых датчиков и исполнительных механизмов, характера информационных связей внутри объекта, операций, выполняемых при обмене информацией между устройством управления и объектом, алгоритмов управления и функцией, реализуемых в МПСУ. При этом необходимо, чтобы УСО обеспечивали необходимую скорость и достоверность передачи информации, обладали требуемой помехоустойчивостью, были просты в обслуживании и экономически обоснованы.
Пульт оператора применяется для оперативного управления объектом, задания режимов работы, запуска и контроля. Пульты могут быть автономными и встроенными, иметь специальную или универсальную клавиатуру, различные устройства индикации и регистрации параметров объекта.
Блок связи с ЭВМ высшего ранга используется при организации многоуровневых иерархических систем управления.
Память микропроцессорных систем делится на оперативную и постоянную.
Для реализации оперативной памяти широко используются микросхемы статических и динамических ОЗУ. В микропроцессорных устройствах управления при организации памяти сравнительно небольшой ёмкости применяются микросхемы статических ОЗУ.
Микросхемы ПЗУ по способу программирования подразделяются на три группы:
- однократно программируемые изготовителем (масочные ПЗУ);
- однократно программируемые пользователем (ППЗУ);
- перепрограммируемые пользователем (многократно программируемые РППЗУ).
Во вновь создаваемых устройствах, выпускаемых в небольшом количестве, используются ППЗУ или РППЗУ. Масочные ПЗУ используются в устройствах, которые тиражируются в больших количествах.
Микросхемы памяти для построения модуля памяти выбирают исходя из следующих данных: требуемая информационная ёмкость и организация памяти, быстродействие (время цикла обращения для записи или считывания), тип магистрали (внутри машинного интерфейса), требования к энергопотреблению, необходимость обеспечения энергонезависимости, условия эксплуатации, конструктивные требования.
Перечень выпускаемых промышленностью микросхем памяти, их технические характеристики и рекомендации по применению приведены в справочниках.
Модуль памяти в общем случае включает накопитель, составленный из микросхем памяти, устройство управления обменом и дешифрации адреса, буферные регистры или магистральные приёмопередатчики, шинные формирователи, обеспечивающие сопряжение по нагрузке модуля памяти и шинами адреса и данных.
Значительное влияние на схему и характеристики устройства управления и средств сопряжения оказывает тип интерфейса, принятый в данной микропроцессорной схеме. При реализации системы на базе конкретного МПК рекомендуется использовать определённый набор микросхем памяти.
При разработке модуля памяти одной из типичных является задача объединения микросхем памяти в модуль. Сложности возникают, если требуемая ширина выборки или объём не совпадают с шириной выборки или объёмом памяти выбранной микросхемы. Выход из создавшейся ситуации заключается в том, что в первом случае накопитель строят так, чтобы информационное слово хранилось по частям в нескольких микросхемах памяти, соединенных параллельно, а во втором случае, каждая микросхема реализует лишь часть требуемого объёма памяти.
По функциональному назначению различают следующие типы запоминающих устройств: оперативные запоминающие устройства (ОЗУ); постоянные запоминающие устройства (ПЗУ); перепрограммируемые постоянные запоминающие устройства (ППЗУ).
Оперативные запоминающие устройства предназначены для применения в условиях, когда требуется многократная запись и считывание хранимой информации в высоком темпе работы микропроцессорного устройства. ОЗУ используется в микропроцессорных устройствах для хранения некоторых программ и данных. При отключении питания информация, записанная в ОЗУ, теряется.
Постоянные запоминающие устройства предназначены для хранения информации, однажды записанной. Эта информация сохраняется и при отключении источников питания. Используются ПЗУ для хранения программ, по которым микропроцессорное устройство функционирует длительное время, многократно выполняя действия по этой программе при различных исходных данных.
Перепрограммируемые запоминающие устройства в процессе функционирования микропроцессорного устройства используются как ПЗУ. Отличаются они от ПЗУ тем, что допускают обновление занесенной в них информации, т.е. в них предусматривается режим записи, которого нет в ПЗУ. В отличие от ОЗУ для записи информации в ППЗУ требуется отключение его от микропроцессорного устройства. Запись информации производится с использованием специальных предназначенных для записи устройств (программаторов). Программируемые ПЗУ дороже ПЗУ, и их применяют в процессе отладки программ, после чего заменяют более дешевыми ПЗУ. Важнейшими характеристиками запоминающих устройств являются емкость памяти и быстродействие.
Емкость памяти определяется максимальным количеством данных, которые могут храниться в запоминающем устройстве. Емкость измеряется в двоичных единицах (битах) и байтах. Часто емкость памяти выражается через число К = 1024; 1 Кбайт (килобайт) = 1024 байт, 1024 Кбайт = 1 Мбайт (мегабайт).
Быстродействие памяти определяется продолжительностью операций обращения, т.е. временем, затрачиваемым на поиск нужной единицы информации в памяти и на ее считывание, или временем на поиск места в памяти, предназначенной для хранения данной единицы информации и на ее запись в память.
Средства сопряжения в микропроцессорных системах обеспечивают:
- ввод в заданные моменты времени информации о регулируемых координатах;
- выдачу управляющих сигналов в преобразователь;
- синхронизацию процессов управления с питающим преобразователь напряжением.
В качестве средств измерения переменных состояний объекта в микропроцессорных электроприводах с регулированием скорости применяют два вида датчиков обратной связи: скорости и тока. Каждый из датчиков характеризуется диапазоном измерения входной величины, разрешающей способностью, параметрами выходного сигнала, быстродействием, надёжностью в работе.
В качестве датчика скорости в регулируемом электроприводе чаще всего используется тахогенератор постоянного тока или фотоэлектрический импульсный датчик. В первом случае для ввода информации в микропроцессорное устройство напряжение тахогенератора, пропорциональное скорости, необходимо преобразовать в цифровой код, во втором случае измерение скорости осуществляется подсчётом количества импульсов датчика за заданный интервал времени или измерением длительности природы между импульсами.
Для реализации обратной связи по току необходимы датчики тока, обеспечивающие гальваническую развязку силовых цепей и цепей управления. Датчик постоянного тока наиболее просто реализуется на основе шунта, включенного последовательно в цепь измеряемого тока. Падение напряжения на шунте при номинальном токе обычно составляет 75 мВ, поэтому для ввода информации в устройство сигнал шунта необходимо усилить, потенциально развязать от силовых цепей, преобразовать в цифровой код. Измерение величины переменного тока производится трансформатором тока. Выходной токовый сигнал трансформатора тока, снимаемый со вторичной обмотки трансформатора, работающей в режиме короткого замыкания, необходимо преобразовать в сигнал напряжения, выпрямить и преобразовать в цифровой код.
Для преобразования аналоговых измерительных сигналов в цифровой код используются аналогово-цифровые преобразователи (АЦП), выпускаемые промышленностью в виде интегральных схем. Выбор АЦП производится с учётом числа разрядов выходного кода, времени преобразования, диапазона изменения входного напряжения, типа логики, с которой АЦП может работать без устройств сопряжения.
Во всех случаях при вводе измерительных сигналов необходимо предусмотреть фильтрацию полезного сигнала от случайных помех.
В качестве элементов, осуществляющих коммутацию силовых цепей преобразователя, обычно используются ключи, построенные на базе полупроводниковых транзисторов или тиристоров. Для управления силовым транзистором в устройстве вывода управляющего сигнала должна быть предусмотрена гальваническая развязка, схема усиления сигнала по мощности до уровня, который требуется для включения (отключения) транзистора.
В связи с тем, что тиристор является полууправляемым элементом, его включение можно осуществлять импульсным сигналом, подаваемым на управляющий электрод. При этом схема гальванической развязки может быть выполнена на базе импульсного трансформатора.
Синхронизация работы микропроцессорного устройства с сетью требуется в управляемых выпрямителях или тиристорных регуляторах напряжения и может быть реализована тремя способами:
- программным - сигнал, фиксирующий прохождение питающего напряжения через ноль, подаётся на один из входов модуля ввода-вывода, который периодически опрашивается в управляющей программе;
- программно-аппаратным – этот сигнал поступает на вход запроса прерывания микропроцессора и вызывает выполнение программы обслуживания прерывания;
- аппаратным - устройство вычисляет параметры управляющего сигнала, а его выдача синхронизируется чисто аппаратными средствами.
4.5. Разработка программного обеспечения и отладка микропроцессорного устройства (МПУ). Система команд. Способы адресации.
Разработка программного обеспечения МПСУ имеет особенности, которые обусловлены следующими причинами:
- необходимость реализации программ управления в реальном масштабе времени, т.е. со строго ограниченным временем выполнения;
- необходимость синхронизации выполнения программ с внешними событиями;
- большая связанность программ, т. е. наличие большого числа переменных общих для различных функциональных задач.
Кроме этого к программам управления в МПСУ предъявляются повышенные требования в отношении устойчивости к различного рода сбоям и ошибкам.
Процесс разработки прикладного программного обеспечения обычно выполняется в следующей последовательности: на первом этапе производится разработка алгоритмов решения задач управления, затем осуществляется кодирование программы на языке программирования, ее трансляция в машинные коды микропроцессора и отладка.
Разработка алгоритмов управления является наиболее ответственным этапом, от которого существенно зависит качество процесса управления и технические параметры разрабатываемой МПСУ. Даже для относительно простой системы трудно разработать алгоритм, охватывающий все детали и особенности управления объектом, поэтому рекомендуется использовать последовательные уровни детализации алгоритма:
- концептуальная блок-схема программного обеспечения;
- функциональная блок-схема решения отдельных задач;
- машинно-ориентированные блок-схемы.
Концептуальная блок-схема содержит небольшое количество блоков, отделяющих состав программного обеспечения и основные задачи, решаемые программными средствами, которые можно разделить на два класса:
- прикладные, связанные с формированием управления по заданным алгоритмам регулирования;
- системные, связанные с организацией вычислений, управления техническими средствами МПСУ и обслуживанием пульта.
Две первые схемы могут быть сделаны безотносительно к какому-либо микропроцессорному комплекту, третья же схема должна учитывать особенности архитектуры конкретного микропроцессора, на базе которого реализована МПСУ.
Трудоемкость программирования и качество разрабатываемой программы в значительной степени определяется используемым языком программирования. При использовании машинного языка все элементы программы: коды операций, адреса ячеек памяти и регистров, - представляются в двоичной форме, иногда для более компактной записи в восьмеричной или шестнадцатеричной. При этом программист имеет возможность непосредственно управлять всеми программно-доступными элементами МПСУ, полностью контролировать каждый шаг, выполняемый системой. Это позволяет оптимизировать программу с точки зрения времени её выполнения и требуемого для её размещения объёма памяти.
Однако программирование на машинном языке – утомительный и трудоёмкий процесс, требующий от программиста запоминания кодов многочисленных команд, входящих в систему команд микропроцессора, использование абсолютных адресов ячеек памяти, что не удобно в особенности при протяженных программах, содержащих большое число переходов. Программа, составленная в машинных кодах, трудна для понимания и модификации. Поэтому машинный язык применяется редко и, как правило, при составлении коротких программ.
При программировании на языке ассемблера вместо двоичных кодов операций используются их символические буквенные обозначения - мнемокоды. Кроме этого ассемблер позволяет записать в символическом виде данные и адреса, используемые в программе, что существенно облегчает процесс программирования и чтения программ. Язык ассемблера, как и машинный язык, требует от программиста свободного владения архитектурой соответствующего МПК. В этом смысле оба языка являются машинно-ориентированными.
Программа на языке ассемблера состоит из ряда строк, каждая из которых имеет четыре поля: поле метки, поле кода операции, поле операндов и поле комментариев. Назначение полей следующее:
- поле метки содержит символическое имя, состоящее из букв и цифр, однозначно определяющее абсолютный адрес, по которому хранится оператор. Метка позволяет обращаться к данному оператору из любой точки программы в ходе её выполнения и может отсутствовать, если в программе нет ссылок на оператор. Поле метки отделяется от поля кода операции двоеточием;
- поле кода операции содержит мнемоническое обозначение кода операции, приводимое в системе команд микропроцессора, или символическое обозначение директивы ассемблера (псевдокоманды), которая используется при трансляции программы;
- поле операнда содержит один или два операнда, разделенных запятой, и отражает информационное содержание команд микропроцессора и директив ассемблера, указанных в поле кода операции. В качестве операндов могут использоваться численные или символьные константы, имена, выражения;
- поле комментария служит для записи информации, поясняющей выполняемые действия. Комментарии нужны программисту, они не воспринимаются МПСУ, а лишь повышают удобство чтения. Поле комментариев обычно отделено от предыдущего поля точкой с запятой.
Программирование на языке высокого уровня существенно повышает производительность работы программиста, обеспечивает естественную форму записи вычислительного процесса, но не всегда позволяет использовать технические возможности МПСУ, а полученные после трансляции результирующие машинные программы значительно медленнее и длиннее аналогичной программы на машинном языке.
Для проведения этапа трансляции и отладки разработанных программ используются различные инструментальные средства (редакторы, трансляторы, компоновщики, отладчики), которые делятся на резидентные и кросс-средства. Кросс-средства – это программы, которые выполняются не на микроЭВМ, для которой разрабатываются программы, а на какой-либо другой машине. Резидентные средства – это те инструментальные программы, которые выполняются на тех же микропроцессорных системах, для которых и разрабатываются программы.
Отладка микропроцессорных систем – это процесс обнаружения ошибок, допущенных на предыдущих этапах проектирования, их исправления и обеспечения правильности функционирования системы в реальных условиях. Отладка может быть разделена на несколько этапов, в ходе выполнения которых осуществляется автономная отладка аппаратной части и программного обеспечения, и также комплексная отладка всей системы в целом.
Отладка аппаратуры предполагает статическую и динамическую проверку. В статике проверяются целостность электрических соединений, работоспособность элементов и величина напряжений в контрольных точках. Динамическая проверка позволяет выявить основной процент неисправностей в аппаратуре. Она проводится при выполнении процессором тестовой программы. При этом проверяется происхождение данных в системе, временные диаграммы сигналов в контрольных точках и взаимодействие отдельных устройств МПСУ. Для локализации неисправностей широко используются различные приборы: осциллографы, вольтметры, амперметры, частотомеры, генераторы тестовых сигналов, логические и сигнатурные анализаторы.
Этап отладки программ МПСУ производится с использованием специальных средств: программных и аппаратно-программных. Программные средства отладки – комплекс программ, позволяющих выводить на дисплей содержимое ячеек памяти и регистров микропроцессора, изменить содержимое регистров и любой ячейки оперативной памяти; начинать выполнение программы с любой ячейки памяти; останавливать выполнение программы по достижению команды, находящейся в определенной ячейке памяти или при выполнении какого-либо условия. Все это дает возможность выполнять прикладную программу в пошаговом режиме, в режиме трассировки, в режиме остановки программы в контрольных точках. При работе прикладных программ в этих режимах эффективно обнаруживаются ошибки и анализируются их причины.
В пошаговом режиме выполнение отлаживаемой программы прекращается после каждой команды микропроцессора и возобновляется вновь по команде оператора, при этом на дисплее отображается информация о состоянии регистров микропроцессора, ячеек памяти, используемых в последней команде, и несколько следующих команд.
В режиме трассировки автоматически выполняется вся или часть программы до останова извне, при этом на дисплее отображается содержимое регистров после выполнения каждой команды. Программист, анализируя эти данные, может обнаружить ошибку.
В режиме остановки на контрольной точке место останова выполнения программы задается в виде адреса, кода команды, слова состояния микропроцессора, содержимого регистров и комбинации кодовых слов. Это дает возможность контролировать порядок выполнения произвольных ветвей прикладной программы.
Отладка программного обеспечения только программными средствами происходит без связи с соответствующими аппаратными средствами МПСУ, что снижает эффективность этих средств и не позволяет выявить все ошибки программирования.
Аппаратно-программные средства обеспечивают комплексную отладку прикладных программ и аппаратуры, соответствующей МПСУ, путем моделирования работы аппаратных средств микропроцессорной системы. При этом пошаговый метод, трассировка и остановка по контрольным точкам позволяют постепенно вовлекать в работу все большую часть программных средств, а средства имитации аппаратуры МПСУ помогают последовательно охватывать отладкой все большую часть соответствующих аппаратных средств. Этим достигается высокая эффективность комплексной отладки всей МПСУ.
Рассмотрим кратко возможности микропроцессора в отношении выполнения различных арифметических, логических и прочих команд.
Методы адресации. Код команды состоит из кода операции (КО) и сведений об операндах. Операнды в команде могут быть обозначены по-разному, в зависимости от чего и говорят о разных методах адресации:
-первый метод предусматривает довольно много однобайтных команд, в которой сам код операции несет информацию о внутренних регистрах МП, куда записаны операнды (регистровая адресация); в этом случае регистрам А, В, С, D, E, H, L соответствуют шестнадцатиричные одноразрядные коды 7, 0, 1, 2, 3, 4, 5;
-второй метод заключается в том, что в двухбайтных командах второй байт может представлять собой непосредственно код операнда (непосредственная адресация);
-третий метод заключается в том, что в этом случае второй и третий байты трехбайтной команды представляют собой адрес ячейки памяти, в которой находится операнд (прямая адресация);
-четвертый метод заключается в том, что код команды содержит информацию о 16-разрядном регистре, содержащем адрес ячейки памяти, в которой находится операнд (косвенная адресация);
-пятый метод используется в МП 8080 (стековая адресация); в этом случае однобайтная команда работы со стеком не несет информации об адресе, просто используется очередная ячейка стековой памяти.
Состав команд разделяют по следующим группам: передачи данных; арифметические, логические, ветвления, стека, ввода/вывода и машинного управления.
Группа передачи предназначена для передачи данных между регистрами или ячейками памяти и регистрами. Она содержит команды передачи (MOV, MVI), загрузки (LXI), размещения данных (LD, ST).
Арифметическая группа выполняет команды сложения (ADD, ADC), вычитания (SUB, SBB), инкремента (увеличения на единицу)(DCR, DCX) над данными в регистрах или в памяти.
Логическая группа выполняет операции И (ANA), ИЛИ (ORA), ИЛИ ИСКЛЮЧАЮЩЕЕ (XRA), сравнения (CMP, CPI), перемещение (сдвиг)(RLC, RRC), инвертирование (CMA, CMC) данных.
Группа ветвления вызывает условные переходы (JZ, JNZ, и др.) или безусловные (JMP), вызов программ (CALL, CZ и др.), возвраты (RET, RZ и др.) и повторные запуски (RST).
Группа стека, ВВ и машинного управления выполняет команды операций со стеком (PUSH, POP), ввода-вывода (IN, OUT), обработки прерываний (EI, DI), останова МП (HLT).
Программирование микропроцессорных системы заключается в составлении программы и последующем помещении кодов команд в ячейки памяти системы. Программа может составляться в виде последовательности двоичных машинных кодов команд. Однако она будет ненаглядна. Более удобно пользоваться при написании программ мнемоническими обозначениями команд. Существует специальная программа – ассемблер, с помощью которой можно на ЭВМ перевести написанную таким образом программу в машинные коды.
Выбор метода программирования микропроцессорной системы зависит от наличия и стоимости запоминающих устройств и от резерва времени для выполнения в системе более длинной программы.
Программа записывается на микро-ЭВМ в последовательных ячейках в виде кодов операций. Рассмотрим простейшую программу, извлекающую число из адреса 8400, инвертирующую его и записывающую результат в адрес памяти 8401.
| Адрес | Содержимое | Метка | Код операции | Операнд | Комментарий |
| 8200 8201 8202 | 3А 00 84 | LDA | A,M | Передать в аккумулятор число из памяти с адресом 8400 | |
| 8203 | 2F | CMA | A | Инвертировать аккумулятор | |
| 8204 8205 8206 | 32 01 84 | STA | M,A | Передать в ячейку 8401 данные из аккумулятор | |
| 8207 | E7 | RST | Остановка программы,вызов монитора |
Здесь используется прямой способ адресации.
4.6. Микропроцессорное устройство управления на основе МПК К580
Универсальный микропроцессорный комплект К580 является наиболее развитым. Микросхемы этого комплекта используются для построения 8-разрядных микроЭВМ и микроконтроллеров различного назначения. Кроме 8-разрядного микропроцессора КР580ВМ80А в состав комплекта входят целый ряд микросхем, из которых чаще всего используют следующие:
- программируемый параллельный интерфейс КР580ВВ55;
- программируемый таймер КР580ВИ53;
- программируемый последовательный интерфейс КР580ВВ51;
- системные контроллеры КР580ВК28 и КР580ВК38;
- буферные регистры КР580ИР82 и КР580ИР83;
- генератор тактовых импульсов КР580ГФ24;
- шинные формирователи КР580ВА86;
- программируемый контроллер клавиатуры и индикации КП580ВВ79.
Схемы комплекта выполнены по униполярной технологии. Уровни входных и выходных сигналов обеспечивают совместимость со схемами транзисторно-транзисторной логики. Большинство микросхем комплекта МПК580 можно использовать при разработке устройств на основе других МПК.
Кратко опишем систему выводов, выбрав в качестве примера универсальный 8-разрядный микропроцессор КР580ВМ80А. У него 40 выводов.

Они, как это видно из рисунка, распределены следующим образом: три вывода соединяются с зажимами источников питания, один вывод—корпус микросхемы (выводы 11, 20, 28 и 2 на рисунке не показаны), два вывода (Ф1 и Ф2) служат для подключения к выходным зажимам генератора тактовых импульсов, восемь выводов (D0…D7)—линии внутренней шины данных, 16 выводов (Aо-A15) соединяются с линиями адресной шины и десять выводов, связанных с устройством управления микропроцессора, служат для подключения к линиям внешней шины управления. Расшифруем обозначения этих выводов: П – разрешение приема информации с внешней шины, В – признак выдачи информации на внешнюю шину, R (Уст.) — перевод БИС в исходное состояние (установка), Г – признак готовности внешнего устройства к обмену информацией, ЖД – признак ожидания микропроцессором готовности внешнего устройства к обмену информацией, Зх – запрос внешними устройствами допуска к шинам данных и адреса (требование захвата шин), ПЗх – признак допуска внешнего устройства к шинам данных и адреса (подтверждение захвата), ЗПр – запрос внешних устройств об обслуживании их микропроцессором (запрос о возможности прерывания), РПр – разрешение на обслуживание микропроцессором внешнего устройства (разрешение на
прерывание), С—синхронизация.
Общее обозначение микропроцессора – СРU (от англ. слов Сеntгаl Ргосеssог until – центральный процессор).
На рисунке показан один из возможных вариантов структуры устройства управления на основе К580.
![]() |
Г – генератор, МП – микропроцессор, БА – буфер адреса, СК – системный контроллер, ОЗУ – оперативное запоминающее устройство, ПЗУ – постоянное запоминающее устройство, ККИ – контроллер клавиатуры и дисплея, Т – таймер, КВВ – контроллер ввода-вывода, ДШУ – дешифратор устройств ввода-вывода
Основу устройства составляет микропроцессор КР580ВМ80А, генератор тактовых импульсов, реализуемый на микросхеме КР580ГФ24, и системный контроллер КР580ВК28, который служит для формирования управляющих сигналов и буферизации шины данных. Для буферизации шины адреса используются две микросхемы шинных формирователей КР580ВА86.
"Общие рекомендации по коррекции способностей в практике психологического консультирования" - тут тоже много полезного для Вас.
Программы, реализующие алгоритмы управления, хранятся в ПЗУ, для построения которого рекомендуется использовать микросхемы КР573РФ2 или КР573РФ5. Информационная емкость этих микросхем – 2 Кбайт, а внутренняя организация - 2Кх8. В ОЗУ, предназначенном для хранения переменных параметров и промежуточных результатов, удобно применять микросхемы КР537РУ8 или КР537РУ10, представляющие собой ОЗУ статического типа и имеющие информационную емкость 2 Кбайт с организацией 2Кх8. При наличии нескольких микросхемах памяти в устройстве необходимо использовать дешифратор адреса, который при обращении к памяти переводит в активное состояние лишь одну микросхему.
Для связи устройства с датчиками и выдачи управляющих сигналов используются микросхемы программируемого параллельного интерфейса КР580ВВ55. Данная микросхема позволяет выполнять обмен восьмиразрядными данными одновременно по трем каналам, задание режимов работы которых осуществляется записью управляющего слова в специальный внутренний регистр.
Организацию клавиатуры и дисплея удобно выполнять с помощью контроллера КР580ВВ79, который обеспечивает работу клавиатуры размером 8х8 клавиш и дисплея на семисегментных индикаторах.
Программируемый таймер КР580ВИ53 служит для реализации временных функций и имеет шесть режимов работы, задаваемых программно.
Обращение к микросхемам ввода-вывода данных осуществляется с помощью специальных команд ввода-вывода, входящих в систему команд микропроцессора КР580ВМ80А. Для выбора конкретной микросхемы в схему включен дешифратор адреса устройств ввода-вывода, реализованный на микросхеме К555ИД7.
Иногда адреса устройств ввода- вывода удобно включать в адресное пространство памяти, при этом с каналами ввода-вывода можно работать как с ячейками памяти, что позволяет использовать большое число команд с различными способами адресации.





















