Объекты испытания
Объекты испытания.
Разрядное напряжение по поверхности диэлектрика в однородном поле.
Для изучения разрядных напряжений в однородном поле используется промежуток между двумя дисками, причем края верхнего диска закруглены для исключения высоких напряженности по краям диска (рис. 4). Нижний диск заземлен.
Рис. 4. Диэлектрик в однородном поле.
В промежуток помещаются диэлектрические цилиндры разной высоты L, сделанные из гигроскопического и малогигроскопического материалов.
Разрядное напряжение по поверхности диэлектрика в неоднородном поле.
Рекомендуемые материалы
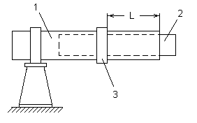
Разрядное напряжение по поверхности диэлектрика в неоднородном поле с преобладающей тангенциальной составляющей напряженности изучается на конструкции, показанной на рис. 5. Электроды представляют собой металлические кольца 1. В качестве твердого диэлектрика используется стеклянная трубка 2. Одно из колец служит одновременно для крепления стеклянной трубки к изолятору, другое может переме-
Рис. 5. Макет опорного изолятора
щаться по поверхности трубки, при этом изменяется расстояние L между электродами. Влияние внутреннего экрана на разрядное напряжение изучается на опорных изоляторах, один из которого имеет внутренний экран (рис. 6).

Рис. 6. Опорные изоляторы с внутренним экраном Э (А) и без него (Б).
Поверхностный разряд в неоднородном поле с большой нормальной составляющей напряженности.
Для изучения поверхностного разряда в неоднородном поле с большой нормальной составляющей напряженности внутрь стеклянной трубки 1 помещается металлическая трубка 2 таким образом, чтобы внутренний конец ее находился примерно посередине стеклянной трубки (рис. 7).

Рис. 7. Макет проходного изолятора.
Если Вам понравилась эта лекция, то понравится и эта - 3 Методы правового регулирования аграрных отношений.
Напряжение подается между кольцом 3 и металлической трубкой. Перемещая кольцо по поверхности стекла, можно изменять расстояние L между электродами. Удельная поверхностная емкость в этом устройстве не изменяется.
Влияние удельной поверхностной емкости на развитие разряда.
Влияние удельной поверхностной емкости на развитие разряда изучается с помощью устройства, показанного на рис. 8. Электродами разрядного промежутка в этом устройстве служит полусфера ПС, на которую подается высокое напряжение, и заземленная металлическая пластина с круглым вырезом П1. Электроды прижаты к тонкому листу диэлектрика Д (стекло или гитенакс). Разрядное расстояние между электродами L = 20 см. Вторая заземленная металлическая пластина П2 может устанавливаться на разных расстояниях от поверхности диэлектрика, и служит для изменения удельной поверхностной емкости.

Рис. 8. Устройство для изучения влияния удельной поверхностной емкости на развитие разряда





















