Физико-химические основы образования и разрушения водонефтяных эмульсий; методы их разрушения
- Физико-химические основы образования и разрушения водонефтяных эмульсий; методы их разрушения. Механизм действия применяемых деэмульгаторов.
Нефть и конденсат, добываемые из скважин, выносят углеводородный газ, пластовую воду в количестве от 1 до 30% на нефть и механические примеси (до 1% масс. на нефть).
В воде содержится до 10 г/л минеральных солей, состав которых различается в зависимости от месторождений и составляет, % отн.: NaCl - 56 ¸ 86; MgCl2 – 6 ¸ 10; CaCl2 – 8 ¸ 35.
Наличие воды и солей в нефти имеет следующие недостатки: соли, содержащиеся в воде при нагреве гидролизуются, вызывая коррозию аппаратуры и оборудования; вода имеет большую скрытую теплоту испарения и для ее отгонки от нефти требуется большой расход топлива; при испарении вода образует большой объем паров и нарушают процесс ректификации.
Растворенные в воде и находящиеся в виде кристаллов в нефти соли ведут себя различно, Хлористый натрий почти не гидролизуется. Хлористый кальций в соответствующих условиях может гидролизоваться в количестве до 10 % с образованием HCl. Хлористый магний гидролизуется на 90 %, причем гидролиз протекает и при низких температурах. Поэтому соли могут быть причиной коррозии нефтяной аппаратуры. Гидролиз хлористого магния может проходить под действием воды, содержащейся в нефти, а также за счет кристаллизационной воды хлористого магния. Разъедание аппаратуры продуктами гидролиза происходит как в зонах высокой температуры (трубы печей, испарители, ректификационные колонны), так и в аппаратах с низкой температурой (конденсаторы и холодильники).
MgCl2 + H2O ↔ MgOHCl + HCl
При перегонке нефти и конденсата в результате разложения сернистых соединений образуется сероводород, который (в сочетании с хлористым водородом) является причиной наиболее сильной коррозии аппаратуры. Сероводород в присутствии воды и при повышенных температурах реагирует с металлом аппаратов, образуя сернистое железо:
Fe + H2S → FeS + H2
Покрывающая поверхность металла защитная пленка из FeS частично предохраняет металл от дальнейшей коррозии, но при наличии хлористого водорода защитная пленка разрушается, так как сернистое железо вступает в реакцию:
FeS + 2HCl → FeCl2 + H2S
Рекомендуемые материалы
Хлористое железо переходит в водный раствор, а освобождающийся сероводород вновь реагирует с железом.
Механические примеси состоят из песчинок пластовой породы, выносимых нефтью из пласта, кристалликов минеральных солей, продуктов коррозии и др. Растворенный газ при транспортировании и хранении нефти вызывает усиленные потери легких продуктов – нефть является "нестабильной".
Нефть подготавливается к переработке в два этапа - на нефтепромысле и на НПЗ. В задачу подготовки к переработке входит отделение механических примесей, воды и минеральных солей, а также попутного газа.
Механические примеси из нефти удаляют обычно отстоем в соответствующих сепараторах и резервуарах на промыслах и НПЗ, от которых их периодически очищают. Пластовая вода удаляется в резервуарах и отстойниках промысла, а диспергированная ее часть (эмульсия "вода в нефти") разделяется в специальных аппаратах – дегидраторах (на промыслах часто в термодегидраторах). При обезвоживании и обессоливании нефти удаляются и минеральные соли, растворенные в воде. Попутный газ отделяют в сепараторах высокого и низкого давления гравитационным разделением. Полного разделения при этом достичь не удается, и в нефти остается в растворенном состоянии 0,5 - 1,5% углеводородов до бутана включительно. Эту растворенную часть газа извлекают на промысле при стабилизации нефти.
В зависимости от содержания в нефти воды и хлоридов установлены 3 группы сырой нефти, поступающей на НПЗ: I группа - содержание воды 0,5%, солей не более 100 мг/л; II - воды 1% и солей не более 300 мг/л; III - воды 1% и солей не более 1800 мг/л. Для всех групп содержание мехпримесей не должно превышать 0,05% и давление насыщенных паров при температуре нефти в пункте сдачи не более 66,7 кПа.
Нефть, углеводородные конденсаты и вода взаимно нерастворимы (лиофобны) и при интенсивном перемешивании образуют водонефтяную дисперсную смесь (эмульсию чаще всего "вода в нефти"), разделение которой в обычных отстойниках не происходит из-за малого размера частиц диспергированной воды и наличия в смеси стабилизаторов эмульсии.
Образуется эмульсия за счет турбулизации водонефтяной смеси при движении ее по стволу скважины, через задвижки и штуцеры и по трубопроводам от скважины до узла подготовки нефти. Основное количество воды отделяется отстоем и представляет собой также дисперсную систему "нефть и воде", т. е. воду, в которой диспергированы мелкие капли нефти. Отделение этой диспергированной нефти в пластовой воде производят на установке подготовки воды, и отделенную нефть возвращают в основной поток нефти.
Структура водонефтяной эмульсии схематично показана на рис. 19.
Капли глобулы диспергированной воды имеют диаметр от 0,1 до 1000 мкм, и каждая из них окружена адсорованной на поверхности глобул сольватной оболочкой - концентратом высокомолекулярных полярных веществ нефти, называемых эмульгаторами. Наличие этого сольватного слоя создает защитную "скорлупу" вокруг каждой глобулы воды, препятствующую слиянию (коалесценции) глобул при самопроизвольном столкновении. Этот сольватный слой часто называют АСПО – асфальто-парафиновое отложение.
Процесс образования сольватных оболочек начинается сразу же в момент дробления воды на мелкие глобулы и продолжается в течение всего времени, пока существует эмульсия. Поэтому чем больше время существования эмульсии, тем толще становится сольватный слой и тем прочнее его защитное действие.
Интенсивность адсорбции эмульгаторов на поверхности глобул воды определяется тем, что дисперсная фаза (вода) при указанных выше размерах капель имеет огромную межфазную поверхность (десятки квадратных метров в литре нефти). Поэтому на такой поверхности может адсорбироваться большое количество веществ, стабилизирующих эмульсию, т.е. придающих ей характер кинетически устойчивой среды.

Рис. 19. Структура эмульсии «вода в нефти»:
1 – нефть (дисперсионная среда); 2 – глобулы воды; 3 – оболочки: δ – толщина бронирующего слоя; dк – диаметр глобулы воды
Одной из важнейших характеристик эмульсии является дисперсность частиц воды. Нефти после подготовки на нефтепромысле являются мелкодисперсными системами, имеющим, следующий спектр диаметр» частиц воды мкм:
Размер частиц, мкм Содержание, %
0,1-2 3
2-4 56
4-6 18
6-10 15
> 10 8
Очень важно для характеристики эмульсии и выбора методов ее разрушения знание свойств эмульгаторов, образующих защитные сольватные оболочки и определяющих устойчивость эмульсии.
Установлено, что основными эмульгаторами и стабилизаторами эмульсии – вода – нефть, являются асфальтены и высокоплавкие парафины, а также высокодисперсные твердые частицы ( минеральные и карбоиды). При этом устойчивость эмульсий зависит не столько от концентрации перечисленных эмульгаторов, сколько от степени их коллоидности, которая, в свою очередь, определяется наличием в нефти парафиновых и ароматических углеводородов.
Прочность сольватной оболочки, где сконцентрированы эмульгирующие вещества, зависит также от рН водной фазы Химический состав глобул воды и наличие в ней ионов некоторых соединений оказывает влияние на состав и свойства адсорбированных эмульгаторов. Прочность сольватной оболочки максимальна в кислой среде, и минимальна – в щелочной.
К факторам, определяющим устойчивость эмульсий, относятся следующие.
1. Средний диаметр глобул воды. Чем меньше диаметр глобулы, тем медленнее будет глобула оседать в массе нефти и тем более устойчивой будет эмульсия.
Для того чтобы снизить устойчивость эмульсии и облегчить (ускорить) отделение от нее воды, необходимо укрупнить капли воды, т.е. создать условия для их коалесценции (слияния).
2. Время жизни эмульсии. Чем больше прошло времени с момента образования эмульсии, тем толще сольватный слой эмульгирующих веществ вокруг капель воды и тем прочнее эта защитная оболочка, препятствующая коалесценции капель при их соударении. Кроме того, имеет значение и характер гидродинамических воздействий на поток нефти в процессе ее движения от места добычи к месту переработки (число и тип перекачивающих насосов, длина и профиль трассы нефтепроводов, число задвижек и других местных сопротивлений по трассе и т.д.). Чем больше нефть подвергается таким местным воздействиям, тем мельче становится средний диаметр капель и тем устойчивее эмульсия.
3. Физико-химические свойства нефти и химический состав эмульгированной воды. Имеются в виду главным образом плотность нефти, ее вязкость и состав эмульгаторов.
4. рН водной фазы.
Причиной образования устойчивых нефтяных эмульсий является перемешивание пластовой воды с нефтью и конденсатом при добыче и перекачке, а также содержащихся в ней парафинов, асфальто-смолистых веществ, ПАВ и др. Наличие воды в нефти вызывает повышенный расход топлива на ее испарение, повышение скорости паров в аппаратуре. Наличие солей, особенно хлоридов кальция и магния, при нагреве нефти при температурах выше 100°С вызывает в присутствии воды их гидролиз с образованием HCl, коррозирующей оборудование и аппаратуру. Коррозия резко увеличивается при наличии в нефти или образовании сероводорода.
Сущность процесса обессоливания и обезвоживания нефти и конденсата заключается в их водной промывке при смешении нагретой нефти и конденсата с пресной водой, последующем разрушении образуемой при этом водонефтяной смеси и отделении соленой воды от нефти.
В технике применяют термический, механический, химический и электрический, а также их комбинации методы разрушения эмульсий. Общим для всех этих методов является стремление достичь максимальной скорости и полноты осаждения воды.
Термическое разрушение эмульсии заключается в нагреве нефти до температуры 65-160оС, так как подогрев снижает вязкость нефти, ее поверхностное натяжение и увеличивает разность плотностей воды и нефти. Для того чтобы избежать испарения нефти и воды, разрушение эмульсий ведут при избыточном давлении до 0,6¸1,6 МПа.
К механическим методам относятся отстаивание и фильтрация. Их применяют к нестойким легко разрушающимся или разрушенным эмульсиям. Простейшим из них является гравитационное отстаивание в аппаратах большой емкости, где нефть пребывает в течение 1 - 2 ч при температуре 120 - 140 °С и давлении до 1,5 МПа. Отстой происходит вследствие разности плотностей разделяемых фаз в зависимости от диаметра частиц и вязкости дисперсионной среды. На промыслах устанавливают вертикальные или горизонтальные дегидраторы. Для удаления солей нефть обрабатывают 1-5% деминерализованной воды. Длительность отстоя составляет 2-4 ч. Фильтрацию через различные фильтрующие материалы осуществляют достаточно редко.
Эффективность механического разделения эмульсии можно существенно повысить, если вместо сил гравитации использовать центробежную силу, т. е. подвергать эмульсию центрифугированию. Однако из-за сложности аппаратурного оформления такой метод для промышленного разделения эмульсии применения не нашел.
К механическим методам разрушения эмульсий можно отнести также фильтрование через фильтры избирательной смачиваемости. Если фильтрующий элемент (песок, древесная стружка) смачивается только водой и не смачивается нефтью, то пропуская через такой фильтр нефтяную эмульсию, можно отделить значительное количество воды от нефти (особенно если эмульсия грубодисперсная). Такой метод иногда применяется на миниНПЗ, хотя фильтрующий элемент быстро выходит из строя и требует частой замены.
Механические методы, в частности отстой, малопроизводительны и в чистом виде практически не применяется, но отстой входит как обязательный элемент во все термохимические и электротермохимические методы.
Teрмохимический метод сочетает ввод в систему деэмульгатора - химического вешества деэмульгатора, разрушающего защитную сольватную оболочку вокруг глобул воды, с осаждением коалесцированных капель воды в нагретой нефти. Метод позволяет существенно увеличить скорость осаждения капель за счет снижения плотности и вязкости нефти (нагрев нефти до 60 - 130 °С) и ускорения укрупнения капель за счет ослабления защитных оболочек и облегчения их коалесценции в процессе движения нефти.
Деэмульгатор вводят в поток нефти в смесителе в количестве 5-100 г/т нефти. Обладая хорошими поверхностно-активными свойствами, деэмульгатор воздействует на адсорбированные вокруг капель воды сольватные оболочки эмульгаторов за счет:
- адсорбционного вытеснения (замещения) эмульгатора сольватной оболочки;
- химического взаимодействия компонентов деэмульгатора и разрушения сольватного слоя;
- образования эмульсии противоположного типа, т. е. инверсии фаз.
В результате пленка из эмульгирующих веществ вокруг капли воды разрушается, резко снижаются ее прочность и защитные свойства, что способствует коалесценции капель воды.
Термохимический метод в чистом виде используют обычно на промыслах как метод обезвоживания нефти с небольшой глубиной обессоливания.
Следует кратко рассмотреть основные требования к деэмульгатору и его характеристики. Деэмульгаторы - это химические вещества, которые, должны:
- не взаимодействовать с основным веществом нефти и не изменять ее свойства;
- не вызывать коррозию аппаратуры;
- обеспечивать высокую деэмульгирующую активность при малых расходах;
- легко извлекаться из сточной воды, отделенной от нефти;
- быть неядовитыми для людей и не загрязнять окружающую среду;
- быть относительно дешевыми и недефицитными.
Состав эмульгаторов связан как с химическим составом нефти, так и с составом пластовой воды. Подбор деэмульгатора и его расход определяются только экспериментально и индивидуально для каждой нефти.
Существует два типа деэмульгаторов – неэлектролитные и коллоидного типа.
К неэлетролитным деэмульгаторам относятся органические вещества (бензол, спирты, бензиновые фракции, керосин), растворяющие эмульгаторы нефти и снижающие при этом ее вязкость. Это способствует быстрой коалесценции капель воды и их осаждению. Их используют главным образом в лабораторной и исследовательской практике. В промышленной технологии обезвоживания нефти их не применяют из-за большого расхода и высокой стоимости, а также из-за сложности отделения от нефти после осаждения воды.
Наибольшее применение в промышленности получили поверхностно-активные вещества (ПАВ) коллоидного типа. Они бывают трех видов: анионоактивные, катионоактивные и неионогенные.
Анионоактивные (сульфанол, сульфоэфиры, карбоновые кислоты) в присутствии воды диссоциируют на отрицательно заряженные ионы углеводородной части и положительные ионы металла или водорода.
Катионноактивные в присутствии воды распадаются на положительно заряженный радикал и отрицательно заряженный остаток кислоты. В качестве деэмульгаторов используются очень редко.
Неионогенные деэмульгаторы ионов в водных средах не образуют. Они нашли самое широкое применение в технологии обезвоживания нефтей. По растворимости в воде их можно разделить на водорастворимые, водонефтерастворимые и нефтерастворимые.
К водорастворимым относятся оксиэтилированные жидкие органические кислоты (ОЖК), алкилфенолы (ОП-10 и ОП-30), а также органические спирты (неонол, синтанол, оксанол). В процессе деэмульсации нефти эти деэмульгаторы на 75 - 85% переходят в дренажную воду. К водонефтерастворимым неионогенным деэмульгаторам относят блок-сополимеры этилен- и пропиленоксидов (диссольван 4411, проксанолы 186 и 305, проксамин 385, сепарол WF-25 и др.). В процессе разрушения эмульсии они на 30 - 60% переходят в дренажную воду, а остальная часть остается в нефти.
Нефтерастворимые деэмульгаторы образуют в нефти истинные или коллоидные растворы и почти совсем не растворяются в воде. В дренажную воду они переходят на 10 - 15%. К этим деэмулгаторам относятся дипроксамин 157, оксафоры 1107 и 43, прохинор 2258, геркулес - 17 и др.
Электрические методы обезвоживания и обессоливания заключаются в том, что эмульсию подают между электродами, находящимися под переменным электрическим напряжением. Под действием электрического поля капли воды сталкиваются друг с другом, сливаются, укрупняются и осаждаются. Осушенная и обессоленная нефть выводится сверху электродегидратора.
Электротермохимический метод сочетает описанный выше термохимический метод с интенсивным осаждением частиц воды в сильном электрическом поле и с интенсивной водной промывкой нефти или конденсата. Это позволяет достичь глубокой очистки нефти от воды (до 0,1% масс.) и минеральных солей (до 3 - 5 г/т).
В промышленности на промыслах и НПЗ обессоливание и обезвоживание ведут на установках ЭЛОУ комбинированным методом: нагрев, подача деэмульгатора, промывной воды, отстой, электрическое напряжение и т.д. Процесс проводят при температуре от 80-85 до 100-150оС, давлении – 0,6-1,5 МПа и электрическом напряжении 22-44 кВ, длительность отстоя 0,5-5 час. Расход промывной воды составляет 2-6% масс. на нефть, применяют различные отечественные и импортные деэмульгаторы, главным образом неионогенного характера. Расход его изменяется от 5 до 120 г/т перерабатываемой нефти. С повышением содержания воды в нефти растет потребность в деэмульгаторе.
Скорость осаждения капель при прочих равных условиях зависит от плотности нефти: чем выше плотность нефти, тем меньше скорость оседания. При этом следует учесть, что разность плотностей воды и нефти возрастает с увеличением температуры, так как плотность нефти при этом снижается существенно быстрее, чем воды. На скорость осаждения капель воды обратно пропорционально влияет вязкость: снижение ее (например, за счет повышения температуры) увеличивает скорость осаждения, т. е. понижает устойчивость эмульсии.
Об эмульгаторах нефти и их влиянии на устойчивость эмульсии было сказано выше.
1. Температура эмульсии определяет плотность и вязкость нефти, которые влияют на скорость осаждения капель. Кроме того, с повышением температуры меняются (хотя и незначительно) состав и толщина сольватного слоя вокруг капель воды, и за счет этого устойчивость эмульсии также несколько снижается.
Действие электрического поля на эмульсию иллюстрирует рис. 20. В обычном состоянии (а) взвешенные в нефти капли воды имеют сферическую форму. Если на этот объем эмульсии наложено электрическое поле переменного тока (б), то капли воды приобретают грушевидную форму, вытягиваясь по направлению к электроду, где э. д. с. положительна (соленая вода как электролит приобретает в поле отрицательный заряд). По истечении одного периода времени полярность электродов меняется (в) и картина воздействия поля на капли становится иной - они вытягиваются в обратном направлении.

Рис. 20. Схема воздействия электрического поля на эмульсию:
а – без наложения поля; б и в – эмульсия в электрическом поле при смене полярности электродов.

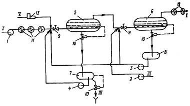
Рис. 21. Схема современной двухступенчатой ЭЛОУ:
1 – 4 – насосы; 5, 6 – электродегидраторы; 7, 8 - промежуточные емкости-отстойники; 9 – смесительные устройства; 10 – регулирующие клапаны; 11, 12 – теплообменники; 13 – дозатор; I, II – сырая и обезвоженная нефть; III – свежая пресная вода; IV – дренажная соленая вода; V – раствор деэмульгатора.
Поскольку частота переменного тока равна 50 с-1, то с такой же частотой меняется картина деформации капель в электрическом поле. Внешне это проявляется в виде дрожания капель, которое увеличивает вероятность их соударения и способствует их интенсивной коалесценции.
Обратите внимание на лекцию "13 Анаэробная инфекция мягких тканей".
Для достижения глубокого обезвоживания и обессоливания нефти электротермохимический процесс осуществляют в две или в три ступени (рис. 21). Число ступеней обессоливания нефти определяется содержанием солей в исходной нефти, прочностью водонефтяной эмульсии и требуемой глубины обессоливания и обезвоживания нефти.
Напряженность электрического поля, оцениваемая как отношение напряжения на электродах к межэлектродному расстоянию, составляет обычно от 1 до 5 кВ/см (11 – 44 кВ). Такая напряженность электрического поля способствует коалесценции и увеличивает эффективность разрушения эмульсии. При дальнейшем повышении напряженности достигается критическое ее значение, при котором вибрация капель настолько усиливается, что они вместо слияния начинают дробиться на более мелкие, и обезвоживание прекращается.
Все упомянутые выше факторы способствуют интенсификации выделения воды из эмульсии, но не влияют на засоленность остающихся после обезвоживания капель воды в нефти. С целью достижения не только глубокого обезвоживания, но и обессоливания нефти используют промывку нефти свежей пресной водой. Роль этой промывной воды двояка. С одной стороны, смешиваясь с солеными каплями воды эмульсии, она разбавляет их и уменьшает концентрацию солей в них, а с другой стороны, турбулизирует поток нефтяной эмульсии, способствуя также коалесценции капель, т. е. оказывает гидромеханическое воздействие на эмульсию.
Поскольку при подаче промывной воды (5 - 6% масс. на нефть только около 1% этого количества (15 - 20% отн.) участвует в разбавлении капель соленой воды, находящейся в эмульсии, а остальное количество промывной воды является только турбулизатором в процесс можно подавать до 1% пресной воды, а остальные 4-5% (для турбулизации) – рециркулирующая, уже использованная вода. Это позволяет в 5 - 6 раз снизить количество сбрасываемой сточной соленой и загрязненной воды и уменьшить мощности по ее обезвреживанию.
Процесс промывки нефти водой ведут противоточно: свежая вода и деэмульгатор поступают на вход последней ступени, а дренажная вода выводится из первой. На первую ступень дегидраторов подают водный раствор NaOH или NaCO3.Кроме противоточной межступенчатой циркуляции промывной воды на каждой ступени вода циркулирует как турбулизатор. Для улучшения обессоливания и обезвоживания вместе с деэмульгатором часто подают слабый раствор щелочи или соды для нейтрализации продуктов гидролиза солей и создания щелочной среды для разрушения эмульсии.
Современные установки обезвоживания и обессоливания могут быть как автономными, так и блоком, входящим в состав установок для подготовки нефти и газа на промысле, НПЗ или ГПЗ.























