Основные понятия гидростатики
2. ГИДРОСТАТИКА
2.1. Основные понятия гидростатики
2.1.1. Силы, действующие в жидкостях
Гидростатика – раздел гидравлики, в котором изучаются законы равновесия жидкостей.
Все силы, действующие на изолированный объем жидкости по характеру их действия делятся на объемные (или массовые) силы и силы поверхностные.
Под объемной силой понимают силу, которая приложена ко всякой частице рассматриваемого объема и пропорциональна массе этой частицы. К объемным силам относятся сила тяжести, силы инерции, центростремительные силы. Они характеризуются проекциями на оси координат X, Y, Z сил, действующих на единицу массы жидкости.
Поверхностные силы характеризуются касательным напряжением τ, которые описываются законом вязкостного трения Ньютона.
Рекомендуемые материалы
2.1.2. Гидростатическое давление и его свойства
В жидкости, находящейся в покое (u = 0), свойство вязкости не проявляется, и касательные силы отсутствуют (t = 0). В связи с этим в покоящейся жидкости могут существовать только нормальные сжимающие силы. Эти силы называются силами гидростатического давления.
Различают гидростатическое давление в точке и суммарное гидростатическое давление.
Возьмем на поверхности F в окрестности произвольной точки A бесконечно малую площадку DF (рис. 2.1).

Рис. 2.1.
Пусть на эту площадку со стороны жидкости действует сила DP. Будем уменьшать величину площадки DF до нуля. Тогда отношение силы DP к площади DF будет стремиться к определенному пределу, который называется гидростатическим давлением p в точке (или сокращенно гидростатическим давлением):
(2.1)
Гидростатическое давление в жидкости имеет размерность напряжения и аналогично нормальному напряжению в твердых телах:

Гидростатическое давление в точке покоящейся жидкости обладает двумя основными свойствами.
Первое свойство: гидростатическое давление всегда нормально к поверхности (площадке), на которую оно действует, и направлено по внутренней нормали к ней (рис. 2.2).

Рис. 2.2 Рис. 2.3
Второе свойство: гидростатическое давление в данной точке жидкости одинаково по всем направлениям (рис. 2.3):
px = py = pz = pn = p . (2.2)
2.1.3. Основное уравнение гидростатики
Уравнение для определения величины гидростатического давления в любой точке жидкости записывается в следующем виде
. (2.3)
Выражение (2.3) называется основным уравнением гидростатического давления. Оно позволяет найти величину полного (абсолютного) гидростатического давления в любой точке жидкости при действии на нее силы тяжести. Как видно из (2.3), полное гидростатическое давление складывается из двух частей:
- давления po на свободной поверхности жидкости и
- давления gh, обусловленного весом вышележащего столба жидкости (весовая часть гидростатического давления), которое зависит от удельного веса жидкости.
Из основного уравнения гидростатического давления вытекают два следствия – так называемое третье свойство гидростатического давления и закон Паскаля.
Возьмем две произвольные точки в жидкости, расположенные на разной глубине под уровнем свободной поверхности (рис. 2.4).
Согласно (2.3) гидростатические давления в них будут:
(2.4)
(2.5)
Сравнивая (2.4) и (2.5), видим, что при одинаковом давлении на свободной поверхности жидкости величина гидростатического давления зависит только от глубины погружения данной точки под уровень свободной поверхности. Это и есть третье свойство гидростатического давления.

Рис. 2.4
Из сравнения выражений (2.4) и (2.5) гидростатического давления для любых точек жидкости следует, что внешнее давление po одинаково действует во всех точках внутри жидкости. Указанное свойство жидкости представляет собой закон Паскаля: единичное внешнее давление, приложенное к жидкости, находящейся в равновесии, передается всем точкам жидкости одинаково.
2.1.4. Принцип действия гидростатических машин
Действие гидростатических машин (гидравлических домкратов, прессов и др.) основано на законе Паскаля о передаче внешнего давления в жидкости во все точки объема одинаково.
На рис. 2.5 изображена принципиальная схема гидростатической машины, например, домкрата.

Рис. 2.5
С помощью малого поршня площадью F1, давящего с силой P1, в жидкости создается гидростатическое давление
.
Это давление передается с одинаковой силой всем точкам жидкости, в том числе и расположенным под большим поршнем площадью F2. Сила, действующая со стороны жидкости на большой поршень, будет равна (без учета потерь на трение поршней о стенки цилиндров):
. (2.6)
Из полученного выражения видно, что, прилагая к жидкости сравнительно небольшую силу P1, можно получить на большом поршне весьма значительное усилие P2.
Задачу можем решить, использовав также величину перемещения поршней. При перемещении поршни совершают одинаковую работу.


2.1.5. Избыточное давление
При решении практических задач по определению нагрузок от давления покоящейся жидкости на различные поверхности и тела часто требуется знать не полное, а избыточное давление жидкости.
Избыточным (или манометрическим) давлением называется разность между полным (абсолютным) и атмосферным (барометрическим) давлением
(2.7)
где: p – полное давление в данной точке жидкости;
pат – атмосферное давление.
Если полное давление p меньше атмосферного pат, то избыточное давление будет отрицательным. Отрицательное избыточное давление, т.е. недостаток давления до атмосферного, называется вакуумом (вакуумметрическим давлением, разрежением)
. (2.8)
Абсолютная величина вакуума может изменяться в пределах от 0 до pат. Действительно, при p=0 по (2.8) имеем pвак=pат, а при p=pат имеем pвак=0.
Рассмотрим определение избыточного давления в некоторых частных случаях.
Если жидкость находится в закрытом резервуаре и давление на ее свободной поверхности po больше атмосферного pат (рис. 2.6), то избыточное давление жидкости на стенку резервуара в любой точке будет равно:
= 
где: (po – pат) – есть избыточное давление на свбодной поверхности жидкости.
Если в закрытом резервуаре давление на свободной поверхности po меньше атмосферного pат, то избыточное давление будет равно
,
где: (pат – po) – есть вакуум на свободной поверхности жидкости.
Когда давление на свободной поверхности жидкости равно атмосферному po=pат (открытый резервуар, водоем), избыточное давление будет равно (рис. 2.6):
. (2.9)

Рис. 2.6
2.1.6. Способы выражения гидростатического давления
Величина гидростатического давления (полного или избыточного) может быть выражена тремя способами:
- в единицах силы, действующей на единицу площади, например,
;
- в атмосферах; в гидравлике используется техническая атмосфера, равная
;
давление, выраженное в атмосферах, обознаают ата (абсолютное давление), ати (избыточное давление) и атв (вакуумметрическое давление);
- высотой столба жидкости.
Для уяснения последнего, практически важного, способа выражения давления преобразуем основное уравнение гидростатического давления (2 – 3), поделив его на g. Получим:
.
В этом уравнении все члены имеют размерность длины и выражают высоту столба жидкости, соответствующую тому или иному давлению. Действительно
.
Величина
называется пьезометрической высотой, соответствующей
давлению p.
2.1.7. Способы измерения давления
Давление измеряют следующими приборами: атмосферное – барометрами, избыточное – манометрами, а вакуумметрическое – вакуумметрами.
Приборы, служащие для измерения давления с помощью столба жидкости называются пьезометрами. Пьезометр представляет собой простейший жидкостной манометр в виде трубки (обычно стеклянной) с открытым верхним концом, сообщающимся с атмосферой (рис. 2.7).

Рис. 2.7
Определим давление p у нижнего конца пьезометра в точке A, применив основное уравнение гидростатического давления (2.3) к жидкости, находящейся в пьезометре
.
Отсюда давление, которое показывает пьезометр высотой hр столба жидкости в нем будет равно
. (2.10)
Таким образом, пьезометр измеряет в жидкости избыточное давление (разность давлений в данной точке жидкости и в той среде, куда выходит открытый конец трубки). При po=pат (открытый резервуар, водоем) пьезометрическая глубина для любой точки жидкости равна глубине ее погружения. Действительно, применяя уравнение (2.3) к жидкости, находящейся в пьезометре и резервуаре, получим (рис. 2.7):
или
.
В жидкостных манометрах (пьезометрах) в качестве рабочей жидкости часто применяют ртуть, имеющую значительный удельный вес, благодаря чему становится возможным измерять более высокие давления. Определим высоту столба жидкости, соответствующую давлению
для воды и для ртути:
.
.
Таким образом, имеем следующие практически важные соотношения между единицами измерения давления:
вод.ст. = 735 мм рт. ст.
=1,02.10-4мвод.ст. = 0,75.10-2 мм рт.ст.
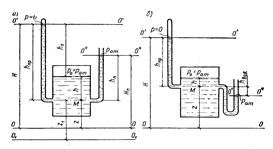
Взаимосвязь между единицами измерения давления можно рассмотреть на приборе, изображенном на рис. 2.7.1.
"30. Экономические основы труда журналиста" - тут тоже много полезного для Вас.
Неподвижная однородная жидкость в сообщающихся сосудах поднимается на одну и ту же высоту (рис. 2.7.1,а)


Рис. 2.7.1.
Две различные жидкости - поднимаются на разные высоты (более тяжелая жидкость вытесняет легкую). Высота поднятия жидкости в коленах сообщающихся сосудов обратно пропорциональных их плотностям.



















