Расчет силы притяжения электромагнита
6.5. Расчет силы притяжения электромагнита.
Электромагниты в технических устройствах применяются для подъема
грузов, переключения контактов реле магнитных пускателей, вентилей гидравлических систем, растормаживания механических тормозов и т. д.
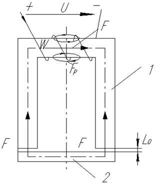
На рис. 1.18 представлена схема магнитной цепи электромагнита.
![]() |
Подвижная часть (якорь – 2, рис. 1.18) магнитопровода электромагнита отделена от его неподвижной части 1 рис. 1.18 воздушным зазором. При подключении намагничивающей обмотки к источнику электрической энергии возбуждается магнитное поле, возникает электромагнитная сила, действующая на якорь, и он, преодолевая силу тяжести, действие пружин и т. п., притягивается к неподвижной части магнитопровода.
Расчет силы притяжения электромагнита часто проводится приближенно, исходя из следующих соображений:
1. Ток I в обмотке имеет установившееся значение.
2. Сердечник 1 и якорь 2 не насыщены.
3. Потоком рассеяния Фр и выпучиванием магнитного поля в зазорах пренебрегают.
Вам также может быть полезна лекция "Процесс коммуникаций и их эффективность в управлении".
4. При изменении воздушного зазора на dl0 магнитная индукция В0 остается постоянной.
В таком случае можно считать, что механическая работа по перемещению якоря в направлении действия сил F на расстояние dl0 равна изменению энергии магнитного поля в воздушных зазорах, вследствие уменьшения их объемов.
С учетом двух воздушных зазоров имеем:
механическая работа
энергия магнитного поля в двух зазорах длиной dl0, где
– плотность электромагнитной энергии (энергия в единице объема зазора), S0 – площадь одного воздушного зазора. Приравняв dWмех и dWэм, получим расчетную формулу силы притягивания электромагнита

























