Направляющие системы
Раздел 16. Направляющие системы.
16.1. Прямоугольный волновод
Электрические волны (
и
) тип волны Е
(12.3. 14) имеет в декартовой системе координат вид :
1
Решение (1) :
2
где Х(Х) - функция только Х , Y(y) - функция только Y .
(2)® (1) Þ
3
Рекомендуемые материалы
Выполнение (3) при произвольных значениях Х и Y возможно, если
4
где
5
6
Решение (6) имеет вид:
7
(7)® (2) Þ
(*) .
Т.к. стенки волновода предполагаются идеально проводящими , то, применяя граничное условие
:
при х=0 ,х=a и при y=0, y=в


это возможно , если :
,
для этого необходимо :
8
где
и имеет смысл амплитуды продольной составляющей
.
(1)и (2) в декартовой системе координат имеют вид :

Подставляя (8) получим :
9
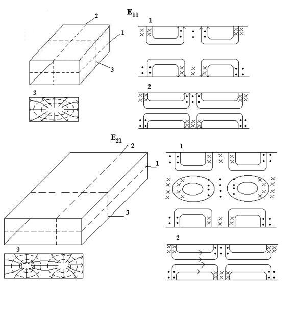
Как следует из (8) , (9) структура поля волн типа Е в плоскости поперечного сечения соответствуют структуре стоячих волн, причем m равно числу полуволн , укладывающихся вдоль стенки длиной а , и n - число полуволн , укладывающихся вдоль стенки длиной в . Каждой паре чисел m и n соответствует определенная структура ЭМП , обозначаемая Еmnа .
Отметим, что структуру волны Еz1 можно получить повторением структуры волны Е11 вдоль соответствующей координаты .
,
,

,
.
Низшим типом среди волн Еmn , обладающей наибольшей lкр , является волна Е11 .Волны Еmn с различной структурой поля , которым соответствуют одинаковые значения g , имеют равные коэффициенты распространения , фазовые скорости и скорости распространения энергии , называются вырожденными .
16.2. Магнитные волны(
и
)
(12.3.15) имеет в декартовой системе координат вид :
10
11
На поверхности идеально проводящих стенок волновода должно выполнятся граничное условие :
.
12
13
Подставляя (12) , (13) в (11) , приходим к соотношениям
14
Как следует из (14) , у волн Н ,как и у волн Е ,
,
т.е. волны Н и Е с равными индексами являются вырожденными .
Подставляя в (11) (14) и значения
, получим :
15
где Н0Z - =АС - амплитуда продольной составляющей магнитного поля.
Соотношения (8.7.1) , (8.7.2) в декартовой системе координат имеет вид:

16
Как следует из (15), (16) , у волн Н , как и у волн Е , структура поля в плоскости поперечного сечения соответствует структуре стоячих волн .

Как следует из равенств (15), (16), у волн Н, в отличие от волн Е, обращение в нуль одного из индексов ( m или n) не влечет за собой обращения в нуль всех составляющих поля . Поэтому, если полагать а>в, то низшим типом волн Н является волна Н10 .
,

Поскольку
, то волна Н10 является низшим типом волны не только среди волн Н , но и среди всех возможных типов волн в прямоугольном волноводе . Это означает , что при l>2а передача энергии по прямоугольному волноводу невозможна .
,
,
.
16.3. Волна Н10
Волна Н10 имеет наибольшую критическую длину волны . Поэтому на заданной частоте размеры поперечного сечения волновода . при котором возможна передача энергии по волноводу , наименьшие для этой волны .
Полагая в (15), (16) m=1 и n=0 , получим :
17,
18
19
20
Остановимся на картине распространения поля волны Н в плоскостях параллельных широкой стенке волновода .
В ЭМП волны Н10 , магнитные силовые линии охватывают токи смещения , текущие между широкими стенками параллельно оси у .
Максимальная плотность тока смешения находится в центре замкнутых магнитных силовых линий , где напряженность электрического поля равна
нулю
.
,
,
,


16.4. Диаграмма типов волн прямоугольного волновода

16.5. Круглый волновод.
В круглом волноводе возможно раздельное существование волн E и H и невозможно распространение волн T.
16.6. Электрические волны
При анализе воспользуемся цилиндрической системой координат, совместив ось с продольной осью волновода.
Ур-ние
в полярной системе координат примет вид:
1
Решение (1):
2
Подставив (2) в (1), умножив обе части на r2, выпполнив дифференцирование и разделив полученное уравнение на
, получим
3
Левая часть (3) зависит только от r, правая - только от j. Переменные r и j - независимые. Следовательно (3) - равенство двух независимых функций. Это возможно, если каждая из функций равна постоянной. Обозначая постоянную m2, приходим к двум дифференциальным уравнениям:
4
5
6
7
Решение уравнения (4) имеет вид
,
где A и B - произвольные постоянные. Условие (7) выполняется, если m=0,1,2...
Уравнение (5) является уравнением Бесселя. Его решение можно представить в виде
9
где
и
- функции Бесселя m-го порядка первого и второго рода, а
- произвольные постоянные.
10

В отношении (9) функция Бесселя второго рода при
стремится к ¥. Т.к. напряженность поля в любой точке волновода должна быть ограничена, то необходимо потребовать
. Тогда
11
где
- амплитуда продольной составляющей электрического поля.
Подставим (11) в (12.6. 1) и (12.6. 2), учитывая, что
:

12
где штрих означает дифференцирование по всему аргументу функции Бесселя.
Согласно граничному условию
13
Подставляя (11) в (13), получаем
14
Имеется бесконечно большое число значений аргумента, при которых функция Бесселя равна нулю. Эти значения называются корнями функции Бесселя. Обозначая n-й корень функции Бесселя m-го порядка через
, из (14) находим
, откуда
15
Нумерация Е волн, отличающихся друг от друга по структуре поля в плоскости поперечного сечения волновода, осуществляется в соответствии с порядковым номером корня уравнения (14). При этом индекс m соответствует числу целых стоячих волн поля, укладывающихся по окружности волновода, а индекс n характеризует распределение стоячих волн вдоль радиуса волновода.
Несколько первых корней ф-ии Бесселя
в порядке их возрастания и соответствующие им критические длины волн
представлены в таблице.
| Тип волны | E01 | E11 | E21 | E | E | E | E | E |
|
| 2.405 | 3.832 | 5.135 | 5.520 | 6.379 | 7.016 | 7.586 | 8.407 |
|
| 2.613 | 1.640 | 1.223 | 1.138 | 0.985 | 0.895 | 0.828 | 0.746 |
Низшим типом среди волн E в круглом волноводе является волна E01.
,
,
,
,

![]() |
16.7. Магнитные волны (
)
Будем рассуждать аналогично случаю с электрическими волнами








17
Отметим, что при выполнении Jm(ga)=0 согласно 
18
Несколько первых корней функции Бесселя
в порядке их возрастания и соответствующие длины волн
представлены в таблице.
| Тип волны | H11 | H21 | H01 | H31 | H41 | H12 | H51 | H21 | H02 |
|
| 1.84 | 3.05 | 3.83 | 4.20 | 5.32 | 5.33 | 6.42 | 6.71 | 7.02 |
|
| 3.41 | 2.06 | 1.64 | 1.50 | 1.182 | 1.178 | 0.979 | 0.934 | 0.838 |
Низшим типом среди не только волн H, но и всех волн в круглом волноводе, как следует из сравнения двух таблиц, является волна H11.
19
Поэтому уравнение
эквивалентно уравнению
20
При m=0 уравнение (20) примет вид
21
Из сравнения (21) и (14) вытекает, что
22
т.е.
, и в круглом волноводе волны E1n и H0n являются
вырожденными.
![]() | |||||
![]() | |||||
![]() | |||||

16.8. Токи на стенках прямоугольного и круглого волноводов.
Токи в прямоугольном волноводе при распространении волны H10
Предположим, что стенки волновода являются идеально проводящими. В этом случае токи проводимости текут по поверхности стенок. Плотность поверхностного тока численно равна напряженности тангенсальной составляющей магнитного поля у поверхности проводника. Вектор плотности поверхностного тока направлен нормально к вектору напряженности магнитного поля.
1
Структура поля волны H10 изображена на рис. стр. 52. Согласно (1) и (19) плотность продольного тока на широкой стенке равна
2
Распределение
показано на рис. Продольные токи на нижней и верхней стенках противофазны.
Согласно (1) и ( 17) плотность поперечного поверхностного тока на широких стенках
3
Распределение
показано на рис. На узких стенках, параллельно оси y, поверхностный ток определяется только составляющей
магнитного поля и, соответственно, имеет только составляющую
.
![]() |
Как следует из (17), Hz у узких стенок имеет постоянную амплитуду H0z.
Плотность поверхностного тока на узких стенках равна
4
Модуль комплексной плотности тока в любой точке поверхности широких стенок волновода
5
Распределение суммарной плотности тока показано на рис.
16.9. Токи в круглом волноводе при распространении волны H11
Рекомендация для Вас - 7.3 Структурно-функциональная теория культур А.Рэдклифф-Брауна.
Структура ЭМП волны H11 изображена на рис. стр. 56.
У поверхности волновода имеются две отличные от нуля составляющие вектора напряженности магнитного поля Hj и Hz, которым, согласно (1) (где следует положить
) соответствуют составляющие тока проводимости
.
16.10. Токи в круглом волноводе при распространении волны H01
Структура волны H01 изображена на рис. стр. 56. У поверхности волновода отлична от нуля лишь продольная составляющая магнитного поля, которая согласно ( .2. 16) по всему периметру волновода равна
6
В соответствии с (9.3.1) на стенках волновода существуют только поперечные
поверхностные токи (кольцевые токи). Плотность этих токов одинакова по всему периметру волновода и описывается выражением (6)





























