Система подготовки бурового раствора
Лекция 10
Тема: .
План: 1. Система подготовки бурового раствора.
2. Регулирование содержания и состава твердой фазы в буровом растворе.
3. Средства контроля и управления процессом промывки скважин.
1. Система подготовки бурового раствора.
В практике бурения скважин используются разнообразные технологические приемы для приготовления буровых растворов.
Наиболее простая технологическая схема (рис. 6.5) включает емкость для перемешивания компонентов бурового раствора 1, оснащенную механическими и гидравлическими перемешивателями 9, гидроэжекторный смеситель 4, оснащенный загрузочной воронкой 5 и шиберным затвором 8, центробежный или поршневой насос 2 (обычно один из подпорных насосов) и манифольды.

Рекомендуемые материалы
Рис. 6.5. Простейшая схема приготовления бурового раствора
Рис.6.6. Схема блока приготовления раствора
С использованием этой схемы приготовление раствора осуществляется следующим образом. В емкость 1 заливают расчетное количество дисперсионной среды (обычно 20—30 м3) и с помощью насоса 2 по нагнетательной линии с задвижкой 3 подают ее через гидроэжекторный смеситель 4 по замкнутому циклу. Мешок 6 с порошкообразным материалом транспортируется передвижным подъемников или транспортером на площадку емкости, откуда при помощи двух рабочих его подают на площадку 7 и вручную перемещают к воронке 5. Ножи вспарывают мешок, и порошок высыпается в воронку, откуда с помощью гидровакуума подается в камеру гидро-эжекторного смесителя, где и происходит его смешивание с дисперсионной средой. Суспензия сливается в емкость, где она тщательно перемешивается механическим или гидравлическим перемешивателем 9. Скорость подачи материала в камеру эжекторного смесителя регулируются шиберной заслонкой 8, а значение вакуума в камере - сменными твердосплавными насадками.
Круговая циркуляция прекращается лишь тогда, когда смешано расчетное количество компонентов и основные технологические показатели свойств раствора близки к расчетным. Если раствор приготовляют впрок, то его готовят порционно, а порции откачивают в другие емкости циркуляционной системы (ЦС) либо в специальные запасные емкости.
Утяжеление бурового раствора порошкообразным баритом и обработку порошкообразными химическими реагентами осуществляют аналогично после приготовления порции исходной коллоидной системы (например, во-доглинистой).
Основные недостатки описанной технологии - слабая механизация работ, неравномерная подача компонентов в зону смещения, слабый контроль за процессом. По описанной схеме максимальная скорость приготовления раствора не превышает 40 м3/ч
В настоящее время в отечественной практике широко используют прогрессивную технологию приготовления и утяжеления буровых растворов из порошкообразных материалов. Технология основывается на применении серийно выпускаемого оборудования: блока приготовления раствора (БПР), выносного гидроэжекторного смесителя, гидравлического диспергатора, емкости ЦС, механических и гидравлических перемешивателей, поршневого насоса. Выпускается несколько типов БПР, отличающихся вместимостью бункеров для хранения материалов.
Первый этап приготовления бурового раствора - это расчет компонентного состава. Для водоглинистого раствора обычно используют два-три компонента: глинопорошок и воду; глинопорошок, воду и порошкообразный барит. Количество глинопорошка для получения неутяжеленной водо-глинистой суспензии выбирают, количество глинопорошка и порошкообразного барита (в кг) для получения 1 м3 утяжеленной суспензии.
Второй этап - приготовление водоглинистой суспензии. В емкость ЦС заливают воду в количестве, примерно равном половине объема приготовляемой порции раствора.
На гидроэжекторном смесителе устанавливают штуцер в соответствии с подачей насосов:
Подача насосов, л/с....................................................................................... 35 15−35 15
Диаметр штуцера в эжекторном смесителе, мм...................................... 40 25 20
Воздух для аэрации порошка в бункере БПР подают в течение 5—7 мин при давлении воздуха 0,02—0,03 МПа.
Буровой насос включают по схеме емкость - гидравлический диспер-гатор - гидроэжекторный смеситель - емкость. При этом значение давления на выкиде насоса должно составлять 13-15 МПа, а вакуума в камере эжекторного гидросмесителя - не менее 0,02 МПа.
После предварительной аэрации открывают воздушный вентиль и подают воздух в гофрированный рукав БПР. Таким способом регулируют значение вакуума в камере гидроэжекторного смесителя в пределах 0,008-0,012 ÌÏà.
Затем открывают запорную заслонку разгрузочного отверстия бункера, и вводят в циркулирующую воду через эжекторный гидросмеситель расчетное количество глинопорошка, после чего запорную заслонку закрывают, прекращают доступ воздуха в камеру гидроэжектора и диспергируют водоглинистую суспензию в течение пяти — восьми циклов круговой циркуляции через диспергатор. Приготовленную водоглинистую суспензию разбавляют водой до расчетного объема и тщательно перемешивают.
При необходимости приготовления утяжеленного раствора выполняют третий этап — утяжеление приготовленной водоглинистой суспензии. Все элементы операций с порошкообразным баритом аналогичны описанным выше. Процесс утяжеления заканчивается перемешиванием раствора после введения в него расчетного количества барита. Интенсивность утяжеления водоглинистой суспензии регулируют значением вакуума в камере эжек-торного гидросмесителя с помощью воздушного вентиля.
2. Регулирование содержания и состава твердой фазы в буровом растворе.
Твердые частицы в буровом растворе, как правило, необходимы, но они существенно затрудняют процесс бурения скважины. Они приводят к повышению его вязкости, увеличению гидравлических сопротивлений, усиленному износу деталей гидравлического оборудования, в первую очередь буровых насосов, элементов подземного оборудования, бурильных труб и циркуляционной системы, а также к возрастанию расхода топлива и (или) электроэнергии.
Когда в неутяжеленном растворе в результате его зашламления накапливается большое количество твердой фазы и удалить ее очистными устройствами трудно, буровой раствор просто заменяют свежеприготовленным.
Основная доля стоимости утяжеленных растворов приходится на барит, поэтому даже в тех случаях, когда содержание твердых частиц настолько велико, что раствор становится практически не прокачиваемым, его стараются не заменять, а отрегулировать в нем содержание и состав твердой фазы.
Если не противодействовать загрязнению бурового раствора твердыми частицами, то затраты на его обслуживание резко возрастут.
Наиболее заметный прогресс в регулировании содержания и состава твердой фазы в буровых растворах был достигнут, начиная с 50-х годов прошлого века, в результате применения центрифуг-отстойников. Это оборудование, претерпев значительную модернизацию, используется до настоящего времени. Основным современным аппаратом для выполнения этой технологической операции является центробежный сепаратор, представляющий собой разновидность центрифуг.
Центробежный сепаратор для буровых растворов (рис. 6.21) представляет собой перфорированный ротор 2, вращающийся внутри корпуса 1. Буровой раствор, поступая в корпус 1, попадает в центробежное поле ротора. Поток раствора приобретает поступательно-вращательное движение, в результате чего происходит разделение твердой фазы по массе. Наиболее массивные частицы раствора (барит, крупный шлам) оттесняются к стенкам корпуса сепаратора и перемещаются периферийной частью потока к сливному отверстию 4 корпуса. Жидкая фаза бурового раствора с тонкодисперсными частицами движется внутри ротора и выходит из аппарата через полый вал 3 ротора.
Разделив буровой раствор на облегченный и утяжеленную пульпу, оператор получает возможность регулировать их возврат в циркуляционную систему и подачу в запасные емкости, таким образом осуществляя первичное регулирование содержания и состава твердой фазы в буровом растворе. Окончательное доведение раствора до кондиции производят путем добавления в него (при необходимости) свежих порций компонентов.
Поступающий через ввод 5 на обработку в центробежный сепаратор буровой раствор обычно разбавляют водой
для того, чтобы уменьшить вязкость и таким образом улучшить условия разделения твердой фазы по массе.
С помощью агрегата можно выполнять следующие функции:
1) тонкую очистку раствора от шлама - для этого сепаратор устанавливают в качестве четвертой ступени очистки после илоотделителя; часть бурового раствора, очищенного на блоке гидроциклонов илоотделителя, подают в сепаратор и таким образом удаляют из раствора частицы шлама размером более 4 мкм;
2) регенерацию утяжелителя — в процессе циркуляции или спуско-подъемных операций сепаратор включают в работу и из избыточной части раствора извлекают пульпу утяжелителя; эту пульпу затем собирают в запасную емкость и при необходимости добавляют в рабочий объем бурового раствора;
3) регулирование содержания и состава твердой фазы — это основная технологическая задача, для решения которой строго контролируются подача раствора и режим работы агрегата; утяжеленная пульпа, твердая фаза которой состоит в основном из барита, возвращается частично или полностью в циркуляционную систему, а облегченная часть раствора в случае его обогащения тонкодисперсными частицами шлама сбрасывается в отстойный амбар; эта часть потока частично используется для разбавления рабочего объема бурового раствора;
4) сгущение пульпы из песков и илов. Иногда сепаратор используют для дополнительного сгущения пульпы из песков и илов, собираемых из нижних насадок гидроциклонных шламоотделителей; это позволяет сократить потери бурового раствора при использовании многоступенчатой гидроциклонной очистки; дополнительно извлеченный из песков и илов буровой раствор вместе с дорогостоящими реагентами возвращается в циркуляционную систему, а шлам сбрасывается в отвал.
Раствор Вод

Рис. 6.21. Схема центробежного сепаратора буровых растворов
class=Section4>Современная центрифуга при нормальном режиме работы способна обрабатывать до 1,5 л/с бурового раствора. На форсированном режиме допускается подача до 2 л/с; рабочий диапазон пропускной способности 45 — 75 л/мин.
Центрифуга — высокоэффективный аппарат для разделения суспензий, но и она имеет недостатки: конструкция ее сложна и требуется высокая квалификация обслуживающего персонала. Поэтому наиболее целесообразно аппараты использовать кратковременно. Наличие многочисленных вращающихся деталей, абразивная рабочая среда, высокие частоты вращения (1800 — 2300 об/мин), сальниковые уплотнения, винтовые насосы — все это требует тщательного ухода и высокой культуры эксплуатации.
Центрифуга в 10-11 раз дороже песко и илоотделителей.
При обработке утяжеленного бурового раствора перед подачей в центрифугу его необходимо разбавлять водой. В противном случае потери утяжелителя будут существенными. Современные условия эксплуатации центрифуг таковы, что каждые один-два объема бурового раствора надо разбавлять одним объемом воды. Поэтому, во-первых, облегченную часть раствора вместе с реагентами приходится выбрасывать, а во-вторых, возникает необходимость в специальной системе оборотного водоснабжения и захоронении (или нейтрализации) сбрасываемого осветленного продукта. Все это свидетельствует о необходимости строгого анализа границ применимости центрифуги в определенных геолого-технических условиях бурения скважин.
3. Средства контроля и управления процессом промывки скважин.
Насосы
В системе промывки скважин буровые насосы предназначены для следующего: нагнетания в скважину промывочной жидкости с целью очистки забои и ствола от выбуренной породы (шлама) и выноса ее на дневную поверхность; охлаждения и смазки долота; создания гидромониторного эффекта при бурении долотами с насадками; приведения в действие забойных гидравлических двигателей.
К буровым насосам предъявляют следующие основные требования: подача бурового промывочного раствора должна быть регулируемой в пределах, обеспечивающих эффективную промывку скважины;
мощность насоса должна быть достаточной дли промывки скважины и привода забойных гидравлических двигателей;
скорость промывочной жидкости на выходе из насоса должна быть равномерной при устранении инерционных нагрузок и пульсаций давлении, вызывающих осложнении в бурении, дополнительные энергетические затраты и усталостные разрушении;
насосы должны быть приспособлены дли работы с абразиво- и масло-содержащими коррозионно-активными промывочными растворами различной плотности;
узлы и детали, контактирующие с промывочным раствором, должны обладать достаточной долговечностью и быть приспособленными к удобной и быстрой замене при выходе из строи;
крупногабаритные узлы и детали должны быть снабжены устройствами дли надежного захвата и перемещении при ремонте и техническом обслуживании;
узлы и детали приводной части должны быть защищены от промывочного раствора и доступны для осмотра и технического обслуживании;
насосы должны быть приспособлены к транспортировке в собранном виде на далекие и близкие расстоинии и к перемещению волоком в пределах буровой;
конструкции насосов должна допускать правое и левое расположение двигателей насосного агрегата;
надежность и долговечность насосов должны сочетаться с их экономичностью и безопасностью эксплуатации.

Манифольд
Манифольдом или линией нагнетания называется участок трубопровода между буровым насосом и вертлюгом, по которому буровой раствор подается в бурильную колонну. Буровые насосы, входящие в комплект циркуляционной системы, имеют индивидуальные всасывающие линии и общий манифольд. Реже, при небольшом удалении от оси скважины, буровые насосы снабжаются индивидуальными манифольдами.
Манифольд (рис. 16.20) состоит из трубной обвязки 6 буровых насосов, трубной обвязки 8 вышечного блока, трубопровода 7, соединяющего обвязки в насосном и вышечном блоках, вспомогательною трубопровода / и пультов управления 4. Трубная обвязка насосов предназначена для подачи буровою раствора по отводам 2 насосов к распределителю с дроссель-но-запорными устройствами 5. Отводы включают набор трубных секций и переходных колен, необходимых для соединения нагнетательного' патрубка насоса с распределителем. На отводах устанавливают задвижки для слива бурового раствора, а также манометры с предохранительным устройством. Задвижки 3 распределителя служат для подачи бурового раствора в скважину либо в перемешивающие и очистные устройства циркуляционной системы.
Трубная обвязка 8 вышечного блока состоит из стояка и распределительно-запорного устройства, позволяющего подавать буровой раствор в вертлюг либо в иревентор, а также откачивать его от цементировочного агрегата. Стояк представляет собой набор трубных секций с линзовыми соединениями (рис. 16.21). К стояку крепится изогнутое колено для присоединения буровою рукава, по которому раствор подается в вертлюг.
Для плавного перевода бурового насоса с холостого режима работы на рабочий применяют дроссельно-запорное устройство [рис. 16.22), которое приводится в действие сжатым воздухом, поступающим от компрессорной станции буровой установки. Управление этим устройством осуществляется четырехклапанным краном, установленным на пульте управления.

Рис. 16.20. Схема манпфольда
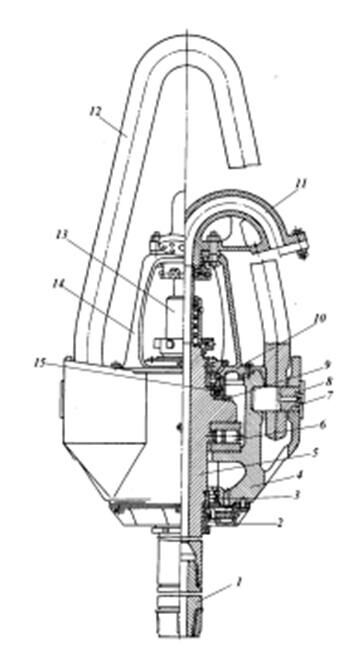
Вертлюг
Вертлюг, являясь верхней опорой для бурового инструмента, предназначен для подвода бурового раствора во вращающуюся бурильную колонну. В процессе бурения вертлюг подвешивается к автоматическому элеватору либо к крюку талевого механизма и посредством гибкого бурового шланга соединяется со стояком напорного трубопровода буровых насосов. При этом ведущая труба бурильной колонны соединяется с помощью резьбы с вращающимся стволом вертлюга, снабженным проходным отверстием для бурового раствора. Во время спускоподъемных операций вертлюг с ведущей трубой и гибким шлангом отводится в шурф и отсоединяется от талевого блока. При бурении забойными двигателями вертлюг используется для периодических проворачиваний бурильной колонны с целью предотвращения прихватов.
В процессе эксплуатации вертлюг испытывает статические осевые нагрузки от действия веса бурильной колонны и динамические нагрузки, создаваемые продольными колебаниями долота и пульсацией промывочной жидкости. Детали вертлюга, контактирующие с раствором, подвергаются абразивному износу. Износостойкость трущихся деталей вертлюга снижается в результате нагрева при трении.
К вертлюгам предъявляются следующие основные требования: поперечные габариты не должны препятствовать его свободному перемещению внутри вышки при наращивании бурильной колонны и спускоподъемных операциях;
быстроизнашиваемые узлы и детали должны быть удобными для быстрой замены в промысловых условиях;
подвод и распределение масла должны обеспечить эффективную смазку и охлаждение трущихся деталей вертлюга;
устройство для соединения с талевым блоком должно быть надежным и удобным дли быстрого отвода и выноса вертлюга из шурфа.
ОСНОВНЫЕ ЭЛЕМЕНТЫ КОНСТРУКЦИИ ВЕРТЛЮГА
Вертлюги, применяемые в буровых установках для бурения эксплуатационных и глубоких разведочных скважин, имеют общую конструктивную схему и различаются в основном по допускаемой осевой нагрузке. Конструктивные отличия некоторых узлов и деталей отечественных и зарубежных вертлюгов обусловлены требованиями изготовления и сборки, разрабатываемых с учетом производственных возможностей заводов-изготовителей, а также периодической модернизацией вертлюгов с целью повышения их надежности и долго вечности.
На рис. 16.25 показано устройство современных вертлюгов. Корпус 4 вертлюга изготовляется из углеродистой или низколегированной стали и представляет собой полую отливку с наружными боковыми карманами для штропа 12, посредством которого вертлюг подвешивается к крюку талевого механизма. Штроп имеет дугообразную форму и круглое поперечное сечение. Он изготовляется методом свободной ковки из легированных сталей марок 40ХН, ЗВХГН, ЗОХГСА.

Рис. 16.23. Вертлюг УВ-250
На высаженных концах штропа растачиваются отверстия дли пальцев 7, соединяющих штроп с корпусом вертлюга. Пальцы устанавливаются в горизонтальных расточках карманов и корпуса и предохраняются от выпадения и проворотов стопорной планкой 8, которая входит в торцовый паз кольцо и приваривается к корпусу вертлюга. При отводе ведущей трубы в шурф штроп вертлюга отклоняется от вертикали и занимает положение, удобное для разьединения и соединения его с крюком талевого механизма.
Угол поворота штрона ограничивается стенками карманов корпуса вертлюга и не превышает 45°. На пальцах штропа выполнены смазочные канавки и отверстия с резьбой для пружинных масленок. Резьба смазочных отверстий используется для завинчивания рым-болтов, с помощью которых проводится распрессовка пальцев вертлюга.
В корпусе вертлюга на упорных и радиальных подшипниках вращается ствол 5 с переводником 1 для соединения вертлюга с ведущей трубой бурильной колонны. Ствол представляет собой стальной цилиндр с центральным проходным отверстием для промывочной жидкости и с наружным фланцем для упорных подшипников. Ствол вращается с частотой бурового ротора и испытывает нагрузки, создаваемые буровым инструментом и промывочной жидкостью, нагнетаемой в скважину. По сравнению с другими несущими узлами и деталями ствол вертлюга наиболее нагружен. Это предъявляет повышенные требования к его прочности. Стволы вертлюгов изготовляют из фасонных поковок, получаемых методом свободной ковки. Благодари применению таких заготовок снижаются расход материала и затраты на механическую обработку. Для стволов используют стали марок 40Х, 40ХН, 38ХГН, приобретающие в результате ковки более совершенную кристаллическую структуру и повышенные механические свойства.
Осевое положение ствола вертлюга фиксируется упорными подшипниками 6 и 9. Основная опора ствола — подшипник б, нагружаемый весом ствола и бурового инструмента, когда вертлюг посредством штропа удерживается в подвешенном состоянии. Вспомогательной опорой ствола является подшипник 9, нагружаемый собственным весом корпуса и других нев-ращающихся деталей, когда вертлюг опирается на ствол, а штроп вертлюга находится в свободном состоянии. Это происходит при установке вертлюга с ведущей трубой в шурф и в процессе бурения скважины, когда из-за недостаточного веса бурильной колонны нагрузку на долото до полня юг весом вертлюга.
В рассматриваемой конструкции вертлюга в основной опоре ствола установлен упорный подшипник с короткими цилиндрическими роликами. Благодаря укороченной длине снижается скольжение роликов относительно колец при вращении ствола. Это благоприятно влияет на износ и нагрев подшипников. Подшипники с коническими и сферическими роликами обладаю! большей нагрузочной способностью по сравнению с подшипниками, имеющими короткие цилиндрические ролики. Поэтому в тяжело нагруженных вертлюгах преимущественно применяются упорные подшипники с коническими либо сферическими роликами. Для повышения долговечности в модернизированных вертлюгах ОАО «Уралмашзавод» (УВ-250 МЛ1 используются конические упорные подшипники.
Для центрирования роликов относительно ствола подшипник 6 снабжен внутренним сепаратором. Наружный сепаратор предохраняет ролики от смещения под действием центробежных сил. В менее нагруженной вспомогательной опоре используется шариковый упорный подшипник. Ствол центрируется в корпусе радиальными роликовыми подшипниками 3 и 10. Упорные подшипники центрируются по кольцу, установленному на стволе. Второе кольцо является свободным и благодаря этому самоцентрируется относительно тел качения подшипника.
Осевое положение ствола и натяг подшипников 9 и 10 регулируют прокладками между корпусом 4 и крышкой 14 вертлюга. Осевой натяг нижнего радиального подшипника регулируют установочной втулкой, навинченной на ствол вертлюга и предохраняемой от отвинчивания стопорными винтами. Наружное кольцо подшипника удерживается пружинным стопором, установленным в кольцевом пазу корпуса. Для соединения вертлюга с ведущей трубой бурильной колонны используется сменный ниппельный переводник 1, предохраняющий резьбу ствола от износа и механических повреждений.
На стволе вертлюга и верхнем переводнике ведущей трубы выполнена внутренняя резьба, поэтому для их соединения используется переводник ниппельного типа. С целью предотвращения самоотвинчивания при вращении долота на стволе вертлюга, переводниках и верхнем конце ведущей трубы выполнена левая резьба. Нижний переводник ведущей трубы и все другие соединения бурильной колонны имеют правую резьбу, совпадающую с направлением вращения долота.
Корпус вертлюга закрывается верхней 14 и нижней 2 крышками с центральными отверстиями дли выводных концов ствола. Крышки крепятся к корпусу болтами. Верхняя крышка снабжена стойками и вторым фланцем, на котором укреплен отвод 11 для соединения вертлюга с буровым шлангом. Из отвода промывочная жидкость поступает в проходное отверстие ствола через промежуточное устройство 13.
Полость между корпусом 4 с крышками 14, 2 и стволом вертлюга 5 заполняется жидким маслом для смазки основного и нижнего радиального подшипников. Стакан 15 ствола образует отдельную масляную ванну для смазки вспомогательного и верхнего радиального подшипников. Масло заливается через отверстие в верхней крышке корпуса. Для слива отработанного масла предусмотрено отверстие в нижней крышке корпуса. Уровень масла проверяется контрольной пробкой, ввинченной в корпус вертлюга. Масляные отверстия закиываютсн оезьбовыми пообками.
Контрольные вопросы:
1.Для чего нужен серпаратор?
2.Для чего нужны буровые насосы?
3.Конструкция манифольда
4.Расскажите устройство вертлюса
5. Схема блока приготовления раствора
Литература
1. Басарыгин Ю.М., Булатов А.И., Проселков Ю.М. Заканчивание скважин: Учеб. пособие для
вузов. — М: ООО «Недра-Бизнесцентр», 2000. — 670 с.
2. Баграмов Р.А. Буровые машины и комплексы: Учеб. для вузов. — М.: Недра,1988. — 501 с.
Ещё посмотрите лекцию "Оценка конкурентоспособности продукции" по этой теме.
3. Болденко Д.Ф., Болденко Ф.Д., Гноевых А.Н. Винтовые забойные двигатели. — М.:Недра,
1999. — 375 с
и газовых скважин: Учеб. для вузов. — М.: ООО «Недра-Бизнесцентр», 2000. — 679 с.
4. Басарыгин Ю.М., Булатов А.И., Проселков Ю.М. Технология бурения нефтяных и газовых
скважин: Учеб. для вузов. — М.: ООО «Недра-Бизнесцентр», 2001.— 679 с.
5. .Басарыгин Ю.М., Булатов А.И., Проселков Ю.М. Осложнения и аварии при бурении нефтяных





















