Оборудование для промывки скважин
8.6. Оборудование для промывки скважин
В скважинах, через которые эксплуатируются нефтяные горизонты, сложенные рыхлыми песками, мощность песчаных пробок достигает 200 ¸ 400 м. Приток нефти снижается и может прекратиться.
Ликвидацию песчаных пробок проводят промывкой скважин водой, различными жидкостями, газожидкостными смесями, пенами, продувкой воздухом, очисткой скважины с помощью струйного насоса, желонки или гидробура.
8.6.1. Установки насосные
При проведении различных технологических операций в нефтяных и газовых скважинах, включая цементирование, гидравлический разрыв пластов, кислотную обработку, промывку песчаных пробок и другие промывочно‑продавочные работы, применяются насосные установки, которые обеспечивают выполнение вышеперечисленных работ.
Агрегат насосный цементировочный АНД 320 (рисунок 70) (АНД 320У) предназначен для нагнетания рабочих жидкостей при цементировании скважин в процессе бурения и капитального ремонта, а также при проведении других промывочно-продавочных работ на нефтяных и газовых скважинах.

Рисунок 70 — Агрегат насосный цементировочный АНД 320
Агрегат АНЦ 320 дополнительно оборудован устройством для подогрева гидравлической части насоса НЦ 320, коллектором для обеспечения одновременной работы нескольких агрегатов, комплектом ЗИП, различными приспособлениями.
| Технические характеристики агрегата АНЦ 320: | |
| Монтажная база | Рекомендуемые материалыВариант 1 - Курсовая работа - Определение параметров водохозяйственной системы Контрольная работа -30% Помощь в написании отчетов по практике для Синергии -50% Разработка серверных приложений для WEB КМ-2. Применение информационных технологий для решения управленческих задач. Контрольная работа Помогу выполнить - КМ-2. Однокритериальная модель для оптимального планирования. Контрольная работа шасси автомобиля КрАЗ, УРАЛ, КаМАЗ |
| Насос НЦ320: | |
| предельное давление нагнетания, МПа | 40 |
| наибольшая идеальная подача, дм3/с | 26 |
| Мощность, кВт, не более | 32 |
| Центробежный насос | ЦНС 38-154: |
| подача, дм3/с | 10.5 |
| давление, МПа | 1.54 |
| Манифольд: | |
| Вместимость, м3 | |
| мерного бака | 6 |
| бачка для цементного раствора | 0.25 |
| Условный диаметр, мм: | |
| приемной линии цементировочного и центробежного насосов | 100 |
| напорной линии цементировочного и центробежного насосов | 50 |
| Габаритные размеры агрегата АНЦ 320, мм, не более | 10150´2700´3225 |
| Масса агрегата полная, кг | 16000 |
Агрегат АНЦ 320 является улучшенным агрегатом Грозненского ЦА-320.
Агрегат наносный продавочный АНП 320 (АНП 320У) предназначен для нагнетания различных жидких сред в скважины в процессе бурения и капитального ремонта, а также при проведении других промывочно-продавочных работ в нефтяных и газовых скважинах.
| Технические характеристики агрегата АНП 320: | |
| Монтажная база | шасси автомобиля КрАЗ-250 (УРАЛ-4320) |
| Насос НЦ320: | |
| Полезная мощность, кВт | 108 |
| Предельное давление нагнетания, МПа | 40 |
| Наибольшая идеальная подача, дм3/с | 26 |
| Габаритные размеры агрегата, мм, не более | 10150´2700´3225 |
| Масса агрегата, кг: | |
| полная | 15000 |
| комплекта | 14460 |
Установка, насосная УНК предназначена для нагнетания неагрессивных жидких сред в скважины в процессе их текущего и капитального ремонта.
| Техническая характеристика УНК: | |
| Монтажная база | шасси автомобиля повышенной проходимости КамАЗ- 43101 |
| Наибольшее давление нагнетания, МПа | 23 |
| Наибольшая идеальная подача, дм3/с | 15.35 |
Агрегат промывочный ПА-80 (ПА-80-01) предназначен для закачки промывочной жидкости в скважины при геологоразведочном, структурно-поисковом бурении и перекачки жидкости.
| Техническая характеристика: | |
| Монтажная база | шасси автомобиля УРАЛ-4320 (КрАЗ-260Г) |
| Предельное давление, МПа | 12 |
| Наибольшая объёмная подача, л/с | 10.8 |
Насосные установки УН1-100´200, УНТ1-100´250, УНБ1- 100´250, УНБ1Р‑100´250 предназначены для нагнетания различных жидких сред в скважины в процессе текущего и капитального ремонта, а также при проведении других промывочно- продавочных работ.
Насосная установка УНТ1-100´250 (рисунок 71) смонтирована на базе трактора Т‑130МГ, состоит из насоса, коробки отбора мощности, коробки передач, цепного редуктора, манифольда, вспомогательного трубопровода, системы управления, обогрева и продувки. Привод насоса от тягового двигателя через коробку отбора мощности, карданные валы, четырехскоростную коробку передач и цепной редуктор.

Рисунок 71 — Насосная установка УНТ 1-100´250
1 — гусеничная транспортная база трактора Т-130МГ; 2 — обогрев; 3 — продувка; 4 — насос; 5 — манифольд; 6 — цепной редуктор.
Насосная установка УНБ1Р-100´250 на раме состоит из силового агрегата, трансмиссии, насоса, манифольда, вспомогательного трубопровода, мерного, бака, системы управления, электрооборудования и кабины оператора. Привод насоса - от дизельного двигателя через коробку передач.
Во всех установках насос - трехплунжерный горизонтальный одностороннего действия.
Насосные установки УН1-100´200 и УНБ1-100´250 (рисунок 72) состоят из насоса, коробки отбора мощности, карданного вала, манифольда и вспомогательного трубопровода.

Рисунок 72 — Насосная установка УНБ1-100´250
1 — шасси автомобиля УРАЛ-4320; 2 — мерный бак; 3 — насос Н5-160; 4 — манифольд; 5 — вспомогательный трубопровод; 6 — рама.
Привод насоса от тягового двигателя автомобиля через односкоростную коробку отбора мощности и карданный вал.
Установка насосная передвижная УНБ-160´32 предназначена для нагнетания различных жидких сред при цементировании, освоении и капитальном ремонте скважин, а также при проведении других промывочно-продавочных работ в нефтегазоперерабатыващей промышленности и других отраслях в условиях умеренного и холодного микроклиматических районов.
| Техническая характеристика установки УНБ-160´32: | |
| Автомобильное шасси | КраЗ-250 (или ТАТРА-815-2) |
| Насос высокого давления | 9ТМ |
| Полезная мощность, кВт | 108 |
| Наибольшее давление нагнетания, МПа | 32 |
| Наибольшая идеальная подача, дм3/с | 26 |
| Вместимость мерного бака, м3 | 6 |
| Габаритные размеры, мм | 10150´2700´3225 |
| Масса установки полная, кг | 16000 |
8.6.2. Выбор оборудования для очистки скважин от песчаной пробки
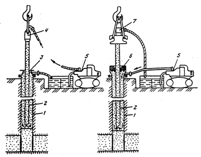
Оборудование для очистки скважин от песчаной пробки зависит от технологической схемы (рисуноки 73 и 74). Промывочный насос определяется исходя из требуемых давления и подачи (производительности).

Рисунок 73 — Схема прямой (а) и обратной (б) промывок скважин
1 — колонна; 2 — НКТ; 3 — устьевой тройник; 4 — промывочный вертлюг; 5 — промывочный насосный агрегат; 6 — устьевой сальник; 7 — переводник со шлангом.

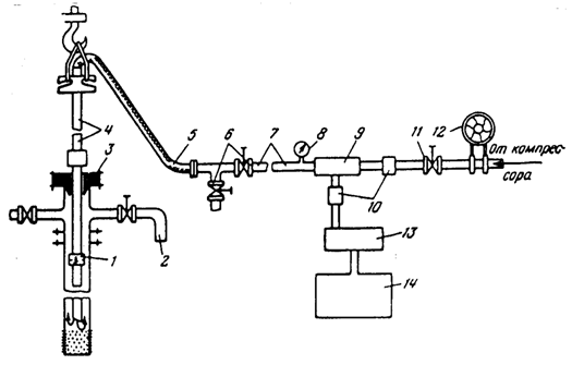
Рисунок 74 — Оборудование скважины при промывке ее аэрированной жидкостью с добавкой ПАВ
1 — обратный малан; 2 — манифольд; 3 — устьевой сальник; 4 — НКТ; 5 — шланг; 6 — вентили; 7 — манифольд; 8 — манометр; 9 — смеситель-аэратор; 10 — обратные клапаны; 11 — вентиль; 12 — расходомер; 13 — насос; 14 — емкость.
Производительность первоначально целесообразно принять: из условий минимальной подачи насоса (1 передача коробки перемены передач двигателя); из условий размыва песка струей жидкости из насадки.
Для определения необходимого давления следует провести гидравлический расчет промывки.
Способ промывки: 1 — прямая; 2 — обратная; 3 — комбинированная; 4 — непрерывная.
При гидравлическом расчете промывки подлежат определению следующие параметры, которые устанавливают технологические характеристики проведения работ с оценкой требуемого давления и расхода жидкости, а также времени на осуществление процесса.
1. Скорость восходящего потока жидкости должна быть больше скорости падения в ней частичек песка:
,
где
— скорость подъёма песчинок;
— скорость восходящего потока жидкости;
— средняя скорость свободного падения песка в жидкости, определяемая в зависимости от диаметра частиц песка.
| Диаметр частиц песка, мм | 0.3 | 0.25 | 0.2 | 0.1 | 0.01 |
|
| 3.12 | 2.53 | 1.95 | 0.65 | 0.007 |
Обычно принимается, что
, тогда
.
2. Общие гидравлическое потери при промывке:
, м.
Здесь
— потери напора в промывочных трубах:
, (1)
где
— длина промывочных труб, м;
— внутренний диаметр промывочных труб, м;
— скорость нисходящего потока жидкости в трубах, м/с;
— плотность жидкости, т/м3,
— коэффициент гидравлических сопротивлении (таблица или расчет).
| Условный диаметр труб, мм | 48 | 60 | 73 | 89 | 114 |
|
| 0.040 | 0.037 | 0.035 | 0.034 | 0.032 |
, (2)
где
— коэффициент, учитывающий увеличение потерь вследствие содержания в жидкости песка (
);
— внутренний диаметр эксплуатационной колонны, м;
— наружный диаметр промывочных труб, м.
При определении гидравлических сопротивлении обратной промывки пользуются теми же формулами, только формула (1) используется для восходящего потока, а формула (2) — для нисходящего.
, (3)
где
— доля пустот между частицами песка, занимаемая жидкостью,
;
— площадь сечения обсадной колонны, м2;
— высота пробки, прошиваемой за один прием (
или 12 м); f - площадь сечения кольцевого пространства, м2;
— плотность песка (для кварцевого песка
т/м3.
и
— потери, напора, соответственно, для вертлюга и шланга определяются по опытным данным и могут быть приняты следующие (см. ниже).
— потери напора в наконечнике: насадки диаметром Æ 10 ¸37 мм, фрезер и др.,
, (4)
где
— плотность жидкости, г/см3;
— подача жидкости, см3/с;
см/с2;
— коэффициент расхода насадки;
— сечение насадки, см2.
3. Время, необходимое для подъема размытой породы на поверхность:
,
где
— скорость подъема размытой породы.
При промывке нефтью изменения в расчет будут внесены только в определение коэффициента
:
· при турбулентном режиме —
;
Бесплатная лекция: "3 Графика и текст в Web" также доступна.
· при ламинарном режиме —
,
где
— число Рейнольдса:
· при течении жидкости в трубе —
;
· при течении жидкости в кольцевом пространстве —
,
где
— скорость течения жидкости, м/с;
— кинематическая вязкость жидкости, м2/с.
При
— режим движения жидкости ламинарный,
— турбулентный.






















