Оборудование для поддержания пластового давления
9. Оборудование для поддержания пластового давления
Система оборудования для поддержания пластового давления (ППД) состоит в общем случае из участков водозабора, магистрали подвода воды (с трубопроводом большого диаметра и насосными станциями первого, второго и, если требуется, третьего водоподъема), очистных сооружений подготовки воды к закачке ее в нефтяной пласт, кустовых насосных станций высокого давления на территории промысла, разводящих трубопроводов с водораспределительными гребёнками, от которых вода идет к нагнетательным скважинам.
Скважины оснащены устьевой арматурой по типу фонтанной, насосно-компрессорной колонной труб и часто пакером, предохраняющим основную часть обсадной колонны скважины от действия высокого давления закачиваемой воды.
Плавучие насосные станции применяются при заборе воды из водоемов (реки, озера, моря). При извлечении воды из водоносных пластов скважинами применяется сифонная система (динамический уровень жидкости в скважине до 4 м).
Сифонная система вакуум - котлы, в которых создается разряжение в (0.04 ¸ 0.047) МПа. Вакуум поддерживается вакуум-насосами с подачей 0.03 м3/с и наибольшим разряжением в 0.086 МПа. Вода из скважины поступает в вакуум‑котлы самотеком и далее отбирается поверхностными насосами. Такая система применяется на Туймазинском и Ромашкинском месторождениях. Это на 20 ¸ 30 % дешевле, чем извлечение воды из скважин насосами.
При более низких динамических уровнях жидкости (4 м и более уровня приема поверхностного насоса) применяются погружные скважинные насосы. По типу привода они подразделяются на: насосы с вертикальным приводным валом и электродвигателем на поверхности (типа АТН); насосы с погружным электродвигателем.
АТН — артезианские турбинные насосные установки применяют для откачки воды из скважины с динамическим уровнем до 100 м. Они обеспечивают подачу 30 ¸ 370 м3/ч и напор от 20 до 115 м. Мощность двигателя насосов АТН от 7 до 55 кВт.
Основными типами скважинных насосов с погружными электродвигателями являются — АП; АПВ (артезианский, погружной, высоконапорный), ЭЦНВ (электрический, центробежный, водоподъемный), ЭПЛ (электрический, погружной, лопастной).
Насосы ЭЦНВ обеспечивают: подачу от 2 до 360 м3/ч, напор 25 ¸ 360 м. Мощность двигателя насосов ЭЦНВ от 0.37 до 500 кВт. В обозначении насоса ЭЦНВ-10-120-60: 10 — диаметр скважины в дюймах, 120 — подача в м3/ч и 60 — напор в метрах водяного столба.
В системе ППД широко применяются центробежные насосы типа ЦНС, агрегаты электронасосные скважинные типа УЭЦПК, в состав которых входят погружные центробежные насосы, перспективно использование плунжерных насосов, имеющих жесткую напорную характеристику.
Рекомендуемые материалы
На нефтепромыслах применяют следующие центробежные насосы секционные: ЦНС630-1700, НЦС-300; агрегаты электронасосные многоступенчатые ЦНС180-1900М, ЦНС180-1422, ЦНС180-1050; ЦНС180-1900М, ЦНС180-1422М, ЦНС180-1050М; ЦНС180-85 ¸ 425; насосный агрегат ЦНСА63-1400УХЛ4 и другие.
Центробежные насосы типа ЦНС180 (высоконапорные) предназначены для нагнетания воды в скважину с целью поддержания пластового давления. Конструкция насосов типа ЦНС180 разработана с учетом создания на одной корпусной базе трех-модификаций с давлением нагнетания 9.5 ¸ 19 МПа.
Центробежные насосы типа ЦНС180 допускают изменение рабочей характеристики посредством уменьшения числа ступеней (не более 2) с установкой проставочных втулок, без изменения привязочных размеров, с обязательной динамической балансировкой ротора.

Рисунок 80 — Центробежный насос ЦНС 180-1900
1 — крышка всасывания; 2 — рабочее колесо 1 ступени; 3 — направляющий аппарат 1 ступени; 4 — рабочее колесо промежуточной ступени; 5 — направляющий аппарат промежуточной ступени; 6 — секция; 7 — направляющий аппарат промежуточной ступени; 8 — крышка напорная; 9 — концевое уплотнение; 10 — подшипник скольжения; 11 — отжимное устройство; 12 — плита.

Рисунок 81 — Характеристика агрегата ЦНС 180-1900
*Зависимости Q-H, Q-h, Q-N указаны для насоса при плотности жидкости 1000 кг/м3
Технические характеристики ЦНС
Таблица 19
| Показатели | Центробежный насосный агрегат | ||
| ЦНС180-1050 | ЦНС180-1422 | ЦНС180-1900 | |
| Подача, м3/с | 0.05 | 0.05 | 0.05 |
| Напор, м | 1050 | 1422 | 1900 |
| Допускаемое давление на входе, МПа | 0.6 ¸ 3.1 | 0.6 ¸ 3.1 | 0.6 ¸ 3.1 |
| КПД, % | 73 | 73 | 73 |
| Частота вращения (синхронная), мин-1 | 3000 | 3000 | 3000 |
| Потребляемая мощность на номинальном режиме, кВт | 710 | 960 | 1280 |
| Насос: Число секций Диаметр рабочих колес, мм | 8 308 | 11 308 | 15 308 |
| Габаритные размеры, мм: Длина Ширина Высота | 2263 1396 1434 | 2640 1510 1510 | 3022 1430 1505 |
| Масса, кг | 3500 | 4000 | 4860 |
| Электродвигатель: Мощность, кВт Напряжение, В Частота вращения, мин-1 | 800 6000 3000 | 1200 6000 3000 | 1600 6000 3000 |
Насосы типа ЦНС180 — центробежные секционные, горизонтальные, однокорпусные с односторонним расположением рабочих колес, с гидравлической пятой, подшипниками скольжения и концевыми уплотнениями комбинированного типа (щелевое и сальниковое уплотнения).
Насосы этого типа состоят из двух основных узлов: корпуса — совокупности неподвижных деталей, и ротора — вращающегося вала с расположенными на нем деталями.
Ротор насоса состоит из рабочих колес, посаженных на вал по скользящей посадке, разгрузочного диска, защитных втулок и других деталей.
Опорами ротора служат подшипники скольжения с принудительной смазкой, а для насоса ЦНС180-1050 — с кольцевой смазкой.
Насос соединяется с электродвигателем посредством зубчатой муфты.
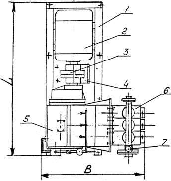
Отечественной промышленностью освоен выпуск трехплунжерного насоа типа НП-3-160 и агрегата, электронасосного трехплунжерного типа АНТ-150.
Насос трехплунжерный НП-3-160 (рисунок 82) предназначен для нагнетания воды и растворов в пласт в системах поддержания пластового давления, а также для подачи рабочей жидкости при добыче нефти гидропоршневыми и струйными насосами.
| Техническая характеристика насоса НП-3-160: | |
| Максимальное давление, развиваемое насосом, МПа | 1 6 |
| Максимальная подача насоса, дм3/с | 2.5 |
| Необходимое давление на приеме насоса, МПа | 0.05 ¸ 0.10 |
| Диаметр плунжера, мм | 56 |
| Ход плунжера, мм | 60 |
| Количество плунжеров, шт | 3 |
| Число оборотов вала насоса, об/мин | 370 |
| Номинальная мощность электродвигателя, кВт/об/мин | 45/750 |
| Передаточное отношение редуктора | 2 |
| Габаритных размеры, мм: | |
| длина L | 2210 |
| ширина B | 1530 |
| высота H | 1130 |

Рисунок 82 — Насос трехплунжерный НП-3-160
1 — рама; 2 — электродвигатель; 3 — муфта; 4 — защитный кожух; 5 — приводная часть; 6 — гидравлическая часть; 7 — клапан предохранительный.
Для обслуживания куста скважин обычно строят блочные кустовые насосные станции (БКНС), техпологическая типовая система которой включает: насосные блоки, блок дренажных насосов, блок напорных гребенок, резервуар сточных вод, трансформаторную комплектную подстанцию и блок управления. Они имеют от 1 до 4 насосных блоков с насосами ЦНС-180, 1 или 2 блока гребенки, обеспечивают подачу от 180 до 720 м3/ч и давление нагнетания 10.5; 14.22 и 19.0 МПа.
Мощность одного двигателя составляет: 800; 1250; 1600 и 4000 кВт.
Блочная кустовая насосная станция — мини-КНС предназначена для обустройства и реконструкции системы ППД с целью экономии энергетических и материальных ресурсов и может быть изготовлена в трех исполнениях. Каждое исполнение станции комплектуется двумя насосными блоками и блоком управления.
Исполнение I — для схемы централизованного водоснабжения. Насосные блоки комплектуются насосными агрегатами, водораспределительной гребенкой, модулем сбора и утилизации утечек сальников и модулем ввода ингибитора коррозии. Блок управления комплектуется щитами НКУ и автоматизации. Экономия энергоресурсов достигается за счет оптимизации системы электроснабжения и регулирования графика нагрузок в течении суток.
Исполнение II — для схем локального водоснабжения (подготовка сеноманской воды для ее закачки в пласт). Насосные блоки комплектуются по исполнению I с добавлением модуля сепарации воды. При данном исполнении мини-КНС экономический эффект достигается за счет экономии на прокладке низконапорных и высоконапорных водоводов. Одновременно реализуется преимущество первого исполнения.
Исполнение III — для схем с предварительным сбросом воды из добываемого на кусте скважин продукта и оборудованием для отделения воды от нефти и подготовки ее для закачки в нефтяной пласт. Насосные блоки комплектуются по исполнению I с добавлением модуля дегазации воды. Эта схема, дает особенно значительный эффект при увеличении обводненности продукции скважин за счет снижения встречной перекачки воды.
| Техническая характеристика мини-КНС: | |
| Производительность, м3/сут | 200 ¸ 1200 |
| Давление нагнетания, МПа | 16 |
| Установленная мощность, кВт | 165 ¸ 560 |
| Температура окружающего воздуха, °C | -55 ¸ +45 |
| Температура в насосных блоках, °C, не ниже | +5 |
| Температура в блоке управления, °C, не ниже | +18 |
Станция блочная кустовая насосная малой производительности МБКНС предназначена для ППД системы заводнения нефтяных пластов месторождений с ограниченной приемистостью скважин и высоким пластовым давлением.
| Техническая характеристика: | |
| Производительность МБКНС, м3/сут: | |
| минимальная | 200 |
| максимальная | 1600 |
| Давление нагнетания, МПа: | |
| минимальное | 12.5 |
| максимальное | 20 |
| Давление на входе, МПа | от 0.4 до 1.6 |
| Напряжение питания электродвигателей МБКНС, В | 380 |
| Потреоляемая мощность, кВт: | |
| минимальная | 300 |
| максимальная | 750 |
Кроме блочных унифицированных наносных станций БКНС с насосами ЦНС‑180 выпускаются специальные блочно-кустовые насосные станции «Север» (СБКНС4-150 и СБКНС2-200) с целью проведения работ по ППД в условиях Крайнего Севера.
Блок напорной гребенки БГ-1 на кустовых насосных станциях предназначен для распределения, измерения расхода и давления технологической воды, подаваемой на скважины системой ППД.
Устьевая арматура (рисунок 83) предназначена для герметизации устья нагнетательных скважин в процессе нагнетания в скважину воды, для выполнения ремонтных работ, проведения мероприятий по улучшению приемистости пласта и исследовательских работ, осуществляемых без прекращения закачки. Основные части арматуры — трубная головка и «ёлка».
Трубная головка предназначена для герметизации затрубного пространства, подвески колонны насосно-компрессорных труб и проведения некоторых технологических операций, исследовательских и ремонтных работ. Она состоит из крестовины, задвижек и быстросборного соединения.
«Елка» служит для закачки жидкости через колонну насосно-компрессорных труб и состоит из стволовых задвижек, тройника, боковых задвижек и обратного клапана.

Рисунок 83 — Арматура устьевая нагнетательная АУН 50-21
1, 2, 6 — задвижка ЗМС 65-21; 3, 7 — контрольное устройство; 4 — головка; 5 — колонный фланец.
Для оборудования устья нагнетательных скважин применяется арматура АНК1-65´21, АНК1-65´35, АУН50-21 и др.
Установки погружных центробежных электронасосов типа УЭЦП и УЭЦПК (таблица 19) предназначены для закачки поверхностных или пластовых вод в нагнетательные скважины с целью поддержания пластового давления и добычи пластовых вод с подачей на кустовые наносные станции при содержании в жидкости механических примесей не более 0.1 г/л, с рН = 5.4 ¸ 9 и температурой не выше 60°C.
Таблица 20
| Установки | Подача, м3/сут | Напор, м | Внутренний диаметр колонны обсадных труб, мм | Размеры электронасоса, мм | Масса, кг | ||
| поперечный | длина | электронасоса | установки для холодного климата | ||||
| У2ЭЦП14-1000-1200 | 1000 | 1200 | 359 | 320 | 8620 | 2726 | 11060 |
| У2ЭЦП16-2000-1400 | 2000 | 1360 | 396 | 375 | 9133 | 4325 | 14900 |
| У2ЭЦПК16-2000-1400 | 2000 | 1360 | 396 | 375 | 9077 | 2503 | 14401 |
| У2ЭЦПК16-3000-1000 | 3000 | 930 | 396 | 375 | 7207 | 3446 | 13318 |
| У2ЭЦПК16-3000-160 | 3000 | 160 | 396 | 360 | 10975 | 1020 | 3012 |
| У2ЭЦПК16-2000-200 | 2000 | 200 | 396 | 360 | 11170 | 1185 | 3332 |
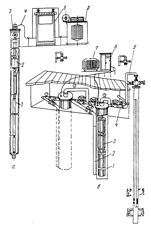
Установка (рисунок 84) состоит из погружного электронасоса (насос и электродвигатель), кабеля, оборудования устья скважины, трансформатора и комплектного устройства для управления и защиты электродвигателя.
Электронасосный агрегат спускают в скважину (или шурф) и подвешивают на ее устье. Жидкость подается насосом по нагнетательным водоводам в группу нагнетательных скважин или на кустовые насосные станции.
В зависимости от поперечного размера погружного агрегата установки подразделяются на две группы — 14 и 16.
Установки группы 14 имеют поперечный размер погружного агрегата 320 мм и применяются в шурфах с внутренним диаметром обсадной колонны (кожуха) не менее 359 мм; установки группы 16 имеют поперечный размер 375 мм и используются в скважинах или шурфах с внутренним диаметром обсадной колонны не менее 396 мм.
В зависимости от развиваемого напора насосы делятся на высоконапорные, состоящие из двух или трех секций, и низконапорные — из одной секции с тремя или пятью ступенями, для добычи пластовых вод.
Высоконапорный насос — погружной многоступенчатый, секционный с вертикальным расположением вала.
Вместе с этой лекцией читают "Управление конфликтами".
Соединение секций высоконапорных насосов типа ЭЦП — фланцевое, типа ЭЦПК — хомутовое.
Из зарубежного оборудования для закачивания пластовой воды можно отметить высокоэффективную горизонтальную насосную установку компании «Рэда», которая позволяет перекачивать свыше 4000 м3 воды в сутки под высоким давлением. В последние годы всё чаще для ППД пытаются применить высоконапорные плунжерные насосы типа PCN и PAH чехословацкого производства, а также трехплунжерные электронасосные агрегаты типа АНТ, выпускаемые совместным предприятием «УИТЛИ-УРАЛ» на Буланашском машзаводе.

Рисунок 84 — Установки погружного центробежного электронасоса а — для добычи пластовых вод:
1 — погружной электродвигатель; 2 — погружной насос; 3 — оборудование устья скважины; 4 — силовой кабель;
5 комплектное устройство; 6 — трансформатор; б — для закачки воды: 1 — шурф; 2 — разводящий водовод; 3 — электронасосный погружной агрегат; 4 — силовой кабель; 5 — нагнетательный водовод; 6 — комплектное устройство; 7 — трансформатор.



















