Подъемники для СПО при текущем, капитальном ремонтах и освоении скважины
Лекция 9
«Оборудование для добычи НиГ»
Подъемники для СПО при текущем, капитальном ремонтах и освоении скважины
1.Основные схемы подъемника и его специализация
Подъемники, применяющиеся при текущем ремонте скважин, выполняют подъем и спуск НКТ, насосных штанг и токонесущего кабеля для ЭЦН.
Подъемники, применяемые при капитальном ремонте и освоении скважины, выполняют подъем и спуск НКТ, бурильных, а иногда, и обсадных труб. Подъемники для всех этих процессов функционально представляют собой систему из одного или нескольких приводных двигателей (ДВС) и трансмиссии. Трансмиссия состоит из сочетания муфт, валов, цепных передач, лебедки, талевой системы. Такая схема подъемника наиболее распространена. Для улучшения характеристики привода и оперативности управления в подъемниках используются гидромуфты или гидротрансформаторы. В зависимости от операций, выполняемых подъемником, сочетание тех или иных узлов может меняться. Так только для спуска и подъема труб и штанг подъемник комплектуется максимальным числом узлов. Для использования подъемника при бурении предусматривается отбор мощности на ротор, промывочный насос, систему приготовления раствора и т. д.
Рекомендуемые материалы
Для спуска ЦЭН подъемник доукомплектовывается барабаном для наматывания кабеля, полатями верхового рабочего, стеллажами для труб и т.д. Т.о. на базе небольшого числа унифицированных узлов возможно строить конструкцию подъемников трех назначений и разных параметров. Подъемники используются в сочетании и с вышками, тип, размеры и грузоподъемность которых зависит от назначения. Вышки могут быть отдельностоящими или агрегатированными с подъемником. Сооружение отдельных стационарных вышек для подземных ремонта не рационально, поэтому получили применение передвижные вышки в пределах куста скважин.
Для выполнения сложных работ по капитальному ремонту глубоких скважин необходим подъемник большой мощности и вышка большой грузоподъемности с разнообразным оборудованием. Поэтому весь комплекс, по существу, превращается в буровую установку.
1. Условия эксплуатации и главные требования, предъявляемые к подъемникам
Условия эксплуатации подъемников определяются глубиной скважины, содержанием операций, окружающей средой, дорожно-климатическими условиями.
Мобильность процесса текущего ремонта скважин и сложность дорожно-климатических условий позволяет считать основным требованием к оборудованию – его высокую транспортабельность. Масса транспортируемого блока не должна превышать 5 тонн. Транспортной базой для юга и средней полосы может быть колесная и гусеничная. Для районов Севера и заболоченных местностей – вертолет и воздушная подушка.
Низкие температуры окружающей среды также сказываются на условиях работы подъемников и требуют определенной приспосабливаемости.
Важнейшим требованием к оборудованию считается обеспечение высокой производительности труда.
2. Основные узлы подъемников
В качестве двигателей в подъемниках используются поршневые ДВС. Как правило, для этих целей используется двигатель транспортной базы. Важными параметрами двигателя являются его мощность, крутящий момент, приемистость. С точки зрения лучшей приспосабливаемости и уменьшения массы, лучшими показателями обладают быстроходные двигатели, масса которых при одинаковых мощностях в 2-3 раза меньше массы тихоходных. Использование ходового двигателя, транспортной базы в качестве приводного резко упрощает конструкцию подъемника, уменьшает его массу и стоимость. Для целей регулирования частоты вращения вала лебедки по отношению к оборотам двигателя, а также регулирования крутящего момента, применяются механические, гидродинамические или комбинированные преобразователи.
В качестве механических преобразователей мощности применяются коробки скоростей, в большинстве случаев шестеренчатые, реже цепные со ступенчатым регулированием частоты вращения. Расчет и конструирование коробок передач подъемников выполняется, принятыми в машиностроении методами.
В качестве гидродинамических преобразователей используются гидротрансформаторы, часто называемые турботрансформаторами. Гидротрансформатор позволяет бесступенчато изменять частоту вращения при одновременном изменении момента. Для улучшения показателей регулирования используются комплексные гидротрансформаторы, сочетающие в себе гидротрансформатор и гидромуфту. Их использование расширяет зону регулирования без уменьшения КПД.
Лебедка подъемников для текущего и капитального ремонтов предназначаются для работы с талевой системой. Конструктивно лебедки нефтепромысловых подъемников имеют много общего с буровыми. Основные узлы лебедки: главный и вспомогательный тормозы, цепные передачи, муфты, рама, кожух и наиболее сложный из них – подъемный вал. На вале смонтированы барабан с тормозными шкивами, колеса цепной передачи, шинно-пневматическая муфта и шкив фрикционной муфты. В качестве вспомогательного тормоза применяется гидроматический тормоз. Лебедки могут выполняться в различных вариантах, выбор которых зависит от назначения и параметра подъемника.

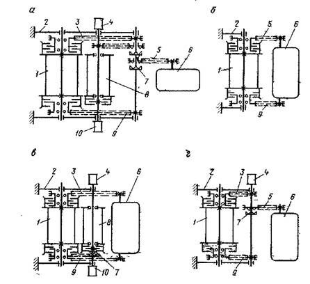
Кинематические схемы лебедок:
а — двухбарабанная трехвальная; б — однобарабанная, одновальная; в — двухбарабанная двухвальная; г — однобарабанная двухвальная;
1 - барабан для талевого каната; 2 – станина; 3, 9 – цепные передачи «тихой» и «быстрой» скоростей; 4,10 – катушка для работ по свинчиванию труб и для вспомогательных работ; 5 – цепная трансмиссия; 6 – коробка передач; 7 – муфта кулачковая; 8 – барабан для тартального каната
Серьезное внимание уделяется надежности тормозной системы лебедки, которая работает в экстремальных условиях, поэтому часть энергии, воспринимаемой главным тормозом, отводится вспомогательному тормозу. Эффект торможения зависит от коэффициента трения между колодкой и шкивом. Колодки выполнены из материала ретинакс, особенность которого в сохранении фрикционных свойств при температуре до 8000С.
Вращающий момент на подъемный вал лебедки передается цепной передачей с помощью многорядных ролико-втулочных цепей. Оперативное включение и отключение соответствующих передач осуществляется с помощью шинно-пневматических или фрикционных муфт.
Талевая система состоит из каната, талевого блока и кронблока. Талевая система применяется для преобразования вращательного движения трансмиссии подъемника в поступательное перемещение крюка подъемника и для увеличения усилия на крюке подъемника по сравнению с усилием в ветви каната, наматываемого на барабан лебедки. Соотношение скоростей перемещения и усилий на канате со стороны лебедки и на крюке зависит от кратности талевой системы, определяемой числом роликов кронблока. Шкивы талевого и кронблока одинаковы и посажены на оси на подшипниках качения. Конструктивно кронблоки выполняются одноосными и многоосными. Конструкция талевого блока всегда одноосная с подшипниками на каждом шкиве. Рама кронблока изготавливается сварной из проката, шкивы – стальное литье, валы – из проката.

Эксплуатационный талевый блок
1 – щека; 2 – защитный кожух; 3 – ось; 4 – подшипник; 5 – шкив; 6 – серьга
Талевые крюки представляют собой сочетание собственно крюка со штропом . Ствол имеет возможность передвигаться по вертикали и вращаться. Крюк изготавливается из кованой или литой заготовки, штроп – из стальной поковки.

Эксплуатационный талевые крюки для текущего, капитального ремонтов и освоения скважин
а – однорогий крюк; б – трехногий крюк; 1 – серьга; 2 – корпус; 3 – пружина; 4 – ствол; 5 – рог крюка; 6 – запор крюка; 7 – дополнительные рога.
Талевые канаты подъемников работают в сложных условиях. При наматывании или сматывании они подвергаются циклическим нагрузкам, растягивающим их, изгибающим и скручивающим. При намотке канат сминается, истирается. В процессе работы происходит загрязнение каната, блоков, барабана лебедки абразивными и агрессивными средами. Поэтому канаты разрушаются как в результате усталостных явлений, так и в результате истирания. Для сокращения расхода каната применяются перепускные устройства.
В зависимости от направления свивки канаты бывают правой или левой, крестовой или прямой свивки. Канат состоит из шести прядей двойной свивки. Каждая прядь состоит из сердечника и нескольких концентрично намотанных на него слоев проволоки. Пряди изготавливаются с различным числом слоев проволоки одинакового или разного диаметра. Для увеличения износостойкости каната наружный слой прядей наматывается из проволоки большего диаметра. Талевые канаты изготавливаются в соответствии с ГОСТом, который регламентирует диаметр каната, площадь сечения, разрывное усилие, толщину проволоки и т.д.
На долговечность каната влияют циклические нагрузки растяжения, изгиба и кручения, термическая хрупкость проволочек, износ и уменьшение сечения проволоки. Допустимое усилие для талевого каната определяется нормами Гогортенадзора как:


где R p – разрывные усилия каната в целом
Категории помещений и зданий - лекция, которая пользуется популярностью у тех, кто читал эту лекцию.
S в – коэффициент, зависящий от конструктивных параметров талевой системы S в = 2 
Особое значение для долговечности каната имеет минимальный радиус его изгиба при наматывании на барабан лебедки и ролики блоков. Экспериментально для каната каждого диаметра определены минимально допустимые значения этой величины.

Конструкция талевых канатов
а – г – стальные канаты с сердечником; д – в одностороннем направлении с одинаковым углом свивки и линейным контактом проволок; е – с одинаковым шагом свивки всех проволок; ж – с разным направлением свивки и точечным контактом проволок.
Вышка подъемника служит для удержания , подъема и спуска колонн, труб, штанг, каната, кабеля, а также для размещения труб и штанг поднятых из скважины. Вышки бывают стационарные эксплуатационные для глубоких скважин – башенного типа. Для неглубоких скважин – мачтового типа. Наиболее сложную конструкцию имеют вышки агрегатированные с подъемником на одной транспортной базе. Для уменьшения габаритов при транспортировке такие вышки складываются, имеют ферменную конструкцию, с постоянно зафиксированными на вышке элементами талевой системы (кронблок, крюкоблок, канат), а также устройством для механизированного перевода вышки из транспортного положения в рабочее и наоборот.























