Сепарация газонефтеной смеси в концевых делителях фаз
Сепарация газонефтеной смеси в концевых делителях фаз (КДФ)
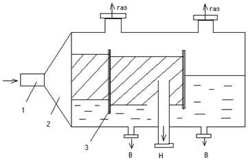
КДФ-конечный участок трубопровода увеличенного диаметра.
КДФ-выбирают с учетом границы существования расслоеной структуры течения, при максимальной скорости смеси 1-2 мс.
Выбор диаметра и длины КДФ производят исходя из условия чисел Фруда < Фруда критичесеого

1-трубопровод
2-расширяющаяся головка в которой смантирован лоток три
В КДФ предусмотрено система запорной и регулирующей арматурой.
КДФ позволяет предварительно сбрасывать воду до 25%.
Рекомендуемые материалы
Применение вертикальных газоотделителей
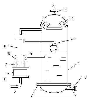
Интенсификация процессов сепарации сокращение потерь легких углеводородов достигается при применение газоотделителей который устанавливается перед резервуарами.
В этом случае весь сепарационный узел вместо первой второй и горячей ступенями заменяется на КДФ вертикальной газоотделитель и резервуар герметизирован.

1-корпус,2-патрубки для ввода газа,3-патрубки для ввода жидкости,4-капле отстойник,5-подвод для ГЖС,6-тангенсальное устройство завехритель,7-вертикальный патрубок,8-первое расширительная камера которая связана с корпусом,9-труба
В камере 8 установлен патрубок малого диаметра 10, так что другой конец входит во вторую расширенную камеру 11.
Верхняя часть камеры 11 соединена трубкой 12 а нижняя часть трубопроводом 13 с газовой зоной газоотделителя, на конце трубопровода 13 установлен распылитель 14.
Пять технологических систем (перед составлением проекта обустройства и разработки составляется генеральная схема обустройство месторождения).
На основание этой схемы определяют очередность строительства и ввода объектов, и составляется генеральный план обустройства на основание этого генерального плана и генеральной схемы.
25 Конечно-разностные методы - лекция, которая пользуется популярностью у тех, кто читал эту лекцию.
При проектирование все объекты разбиваются на пять основных технологических схем.
1-система расположения и кустования скважин
2-система сбора подготовки и транспорта жидкости
3-система ППД
4-система электроснабжения
5-система автомобильных дорог






















