Противопожарный занавес
7. Противопожарный занавес
Согласно стб 11.0.03- 95 "Пассивная противопожарная защита. Термины и определения" под противопожарным зана
весом понимается - дымонепроницаемая конструкция с нормируемым пределом огнестойкости, выполненная из негорючих материалов, отделяющая по портальному проему при пожаре сценический комплекс от зрительного.
Согласно СНБ 2.02.01-98 «Пожарно-техническая классификация зданий, строительных конструкций и материалов» п. 4.9. установлен 1 тип противопожарного занавеса предела огнестойкости (в мин) не ниже EI 60.
Противопожарный занавес представляет собой устройство для защиты портального проема сцен клубов и театров и предусматривается при вместимости зрительного зала 800 мест и более.
Надежная и эффективная работа противопожарного занавеса имеет большое значение для обеспечения безопасной эвакуации зрителей и успешного тушения пожара. Это определяет конструкцию занавеса, которая должна обладать соответствующим пределом огнестойкости, прочностью и газонепроницаемостью.
В зависимости от схемы перекрытия портального проема противопожарные занавесы подразделяют на подъемно-опускные и раздвижные. По количеству полотнищ - однопольные и двухпольные.
Полотнище подъемно-опускного однопольного занавеса подвешивают в двух точках с помощью стальных канатов, перекинутых через блоки и соединенных с контргрузами (рис. 7.17, а). Кроме того полотнище соединено через систему канатов и блоков с лебедкой. Безотказность действия занавеса достигается применением контргрузов, которые обеспечивают его гравитационный безмоторный спуск. Величину превышения веса занавеса над весом контргрузов определяют условиями спуска занавеса под действием собственного веса, вида занавеса и схемы подвески.
Рекомендуемые материалы
Иногда подъемно-опускной занавес сооружают из двух полотнищ (рис. 7.17, б). В этой схеме верхнее полотнище несколько больше и обязательно тяжелее нижнего. При освобождении тормоза лебедки верхнее полотнище стремится вниз и, воздействуя через канаты на нижнее, заставляют его подниматься вверх до соприкосновения обоих полотнищ.
Двухпольный подъемно-опускной занавес применяют при недостаточной высоте стены, когда нельзя предусмотреть однопольный подъемно-опускной занавес. Преимущество двухпольного подъемно-опускного занавеса перед однопольным заключается в более быстром перекрытии портального проема, меньшей массе и отсутствии контргрузов, однако конструкция двухпольного занавеса менее надежна, чем однопольного. Из-за наличия кромки примыкания двух полотнищ он обладает большей дымонепроницаемостью.
Для этой схемы подвески разрабатывают варианты защиты от воздействия высоких температур канатно-блочной системы.
Схему перемещения раздвижного однопольного занавеса выбирают таким образом, чтобы при освобождении тормоза лебедки занавес перекрывал портальный проем под воздействием контргруза (рис 7.17, в).
При двух раздвижных полотнищах занавеса их схема выдвижения повторяет предыдущую, но в канатно-блочной системе (рис. 7.17, г) увеличено число блоков и общая длина канатов. Мощность лебедки и вес контргруза также изменены.

Рис. 7. 17. Схемы механизмов перемещения и подвески противопожарных занавесов.
а - однопольного подъемно-опускного, б - двухпольного подъемно-опускного,
в - однопольного раздвижного, г - двухпольного раздвижного;
1 - контргруз, 2 - полотнище противопожарного занавеса, 3 - лебедка.
Следует отметить, что раздвижные занавесы применяют сравнительно редко из-за необходимости устройства щели в планшете сцены для обеспечения движения полотнищ на катках по направляющим, что ограничивает полное использование площадки во время представлений.
К механизму перемещения противопожарных занавесов предъявляют ряд требований, главнейшими из которых являются безотказность действия и относительная быстрота перекрывания портального проема. Движения противопожарного занавеса при закрывании проема портальной стены происходит от действия сила тяжести (при ослаблении троса лебедки) со скоростью не менее 0,2 м/с. Дистанционное управление движением занавеса осуществляют из помещения пожарного поста, помещения лебедки противопожарного занавеса и с планшета сцены. Занавес должен иметь звуковую сигнализацию, оповещающую о движении занавеса.
Конструктивное исполнение
Занавес представляет собой жесткую пространственную систему в виде металлического каркаса, защищенного от воздействия высоких температур со стороны сцены теплоизоляцией.
Каркас подъемно-опускного занавеса состоит из горизонтальных балок, соединенных между собой вертикальными и диагональными связями, укрепленными в четырехугольной раме (рис. 7.18.). Иногда балки предусматривают вертикальными, а связи горизонтальными. В крупных современных театрах со значительными размерами портальных проемов, где занавес имеет массу свыше 25 т, горизонтальные балки выполняют в виде ферм, расположенных на расстоянии 1,2 - 2 м, раму - из швеллерных балок большого сечения. Горизонтальные балки-фермы для придания каркасу занавеса большей жесткости соединяют вертикальными и диагональными связями, как правило, из уголковой стали.
| | Рис. 7. 18. Схема однопольного подъемно-опускного занавеса. 1 - вертикальные связи, 2 - диагональные связи, 3 - вертикальные балки, 4 - горизонтальные балки. |
Каркас занавеса рассчитывают на нормативное горизонтальной давление со стороны зрительного зала, принимаемое равным из расчета 10 Па на каждый метр высоты сцены от планшета до конька кровли с коэффициентом перегрузки 1,2. При этом прогиб металлических элементов с учетом температурных воздействий (при t = 200 0С) не должен превышать 1/200 их длины.
Теплоизоляцию противопожарного занавеса для защиты от температурных воздействий каркаса и препятствия проникновению продуктов горения через полотно (рис. 7.19.) предусматривают только со стороны сцены. Материал теплоизоляции негорючий, обладает очень хорошими теплоизоляционными свойствами и не выделяет при нагревании токсичных продуктов термического разложения.
Наибольшее распространение для теплоизоляции занавеса получили совелитовые, вермикулитовые и перлитовые плиты. Эти плиты крепят к волнистой стали, а ту, в свою очередь, - к каркасу занавеса. Для обеспечения газонепроницаемости полотна теплоизоляционные плиты покрывают асбестодиатомовой штукатуркой. Толщину теплоизоляции предусматривают с таким расчетом, чтобы температура на поверхности каркаса не превышала 200 0С через один час с момента возникновения пожара при изменении среднеобъемной температуры во времени в соответствии со СТ СЭВ 1000-78.
| | Рис. 7. 19. Теплоизоляция занавеса. 1 - асбестодиатомовая штукатурка, 2 - совелитовые плиты, 3 - волнистая сталь, 4 - горизонтальная балка (двутавр), 5 - вертикальные связи (уголки). |
Полотно противопожарного занавеса перекрывает проем строительного портала с боковых сторон не менее чем на 0,4 м и сверху на 0,2 м. Герметизацию мест примыкания к портальной стене обеспечивают устройством лабиринтных уплотнений, песочных затворов и другими техническими решениями.
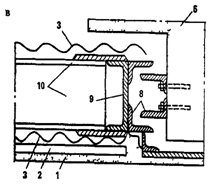
У подъемно-опускных и раздвижных занавесов сопряжение верха занавеса с портальной стеной осуществляют с помощью песочного затвора (рис.7.20, а). Слой песка практически непроницаем для газов, поэтому песочный затвор является достаточно надежной преградой от проникания продуктов горения через верхнюю кромку занавеса. Верхнюю кромку занавеса, как и часть козырька, покрывают теплоизоляцией.
Герметизация нижней кромки однопольного подъемно-опускного занавеса показана на рис. 7.20, б. К нижней балки каркаса занавеса на болтах крепят деревянный брус, защищенный двумя слоями войлока, смоченного в глиняном растворе, асбестовой тканью и двумя слоями брезента. Образованная таким образом легкая и в то же время несгораемая подушка, будучи прижата занавесом к планшету сцены, заполняет все его неровности и создает непроницаемую для газов преграду.
Герметизация боковых направляющих подъемно-опускного занавеса обычно осуществляется за счет лабиринтных уплотнений (рис.7.20, в). Направляющие, как правило, выполняют из двух неравнобоких уголков и с помощью болтов либо других приспособлений прикрепляют к портальной стене. Соответственно к боковой балке каркаса приваривают уголки, заходящие за направляющие и не позволяющие занавесу при движении сместиться в сторону. Между концами направляющих уголков имеется зазор для свободного расширения каркаса занавеса при его нагревании. Следует отметить, что такое сопряжение не обеспечивает должной герметичности.
| | |
|
Рис. 7.20. Герметизация кромок занавеса. а - верхней, б - нижней, в – боковой; Вам также может быть полезна лекция "16 - Механизм возбуждения по миокардо". 1 - штукатурка, 2 - теплоизоляционные маты, 3 - волнистая сталь, 4 - козырек, 5 - портальная стена, 6 - стальное корыто, 7 - вертикальные связи, 8 - направляющие уголки, 9 - рама каркаса занавеса, 10 - горизонтальная балка, 11 - два слой войлока, вымоченного в глиняном растворе, 12 - асбест (листовой или ткань), 13 - два слоя брезента, 14 - консоль портальной стены, 15 - деревянный брус. | |

























