Структурные схемы радиорелейных станций
3 структурные схемы радиорелейных станций
3.1 СОСТАВ ОБОРУДОВАНИЯ
Аппаратуру любой современной радиорелейной системы для магистральной РРЛ подразделяют на следующие группы:
1) антенна и АФТ,
2) приемопередающая СВЧ аппаратура,
3) модемы,
4) вспомогательное оборудование.
Приемопередающую СВЧ аппаратуру часто выполняют конструктивно в виде отдельных СВЧ стоек: стойки приемников и стойки передатчиков. В каждой стойке размещают несколько таких устройств для организации многоствольной РРЛ. Существуют и другие конструктивные решения, например, объединение СВЧ приемника и СВЧ передатчика в одной стойке или установка их на вертикальных стативах.
В состав стойки модема входит несколько модуляторов и демодуляторов, устройства их резервирования, оконечные устройства ТФ и ТВ стволов.
Рекомендуемые материалы
Вспомогательное оборудование в свою очередь содержит аппаратуру резервирования, служебной связи, телеобслуживания, гарантированного электропитания, осушки АФТ.
Важно отметить, что в таких радиорелейных системах модулятор конструктивно отделен от СВЧ передатчика (демодулятор - от СВЧ приемника), а между собой они соединены по ПЧ. Соединение между приемником СВЧ и передатчиком СВЧ на ПРС также выполнено по ПЧ. Такое конструктивное решение позволяет комплектовать все станции одной магистральной РРЛ типовыми СВЧ стойками.
Принятое подразделение аппаратуры РРЛ на группы оказалось также удобным при создании комплекса унифицированных радиорелейных систем. Такой комплекс, как правило, содержит набор аппаратуры, позволяющий построить ряд РРЛ, работающих в нескольких диапазонах частот, причем для всех систем одинакова так называемая унифицированная аппаратура: модемы и вспомогательное оборудование. Для каждого рабочего диапазона разработана своя приемопередающая СВЧ аппаратура, а антенны и АФТ имеют свои особенности. Примером является отечественный комплекс унифицированных радиорелейных систем (КУРС), позволяющий организовать РРЛ в диапазонах 2, 4, 6, 8 ГГц. Переход от разработки и эксплуатации отдельных радиорелейных систем к комплексу унифицированных радиорелейных систем имеет ряд существенных достоинств. К ним относятся снижение издержек производства и стоимости хранения аппаратуры за счет унификации узлов, улучшение обслуживания и др.
Состав оборудования АРРС, предназначенных для работы в зоновой сети, может быть таким же, как и для магистральных РРЛ. Так, например, скомплектованы системы КУРС-2 и КУРС-8.
В связи с ростом темпов телефонизации в стране уделяется все больше внимания созданию специальных АРРС и ЦРРС для внутризоновых и местных телефонных РРЛ. На таких РРЛ, в отличие от магистральных, организуют сравнительно небольшое число каналов. Однако здесь должно быть предусмотрено выделение и введение ТФ каналов на каждой РРС. Кроме того, очень важно, чтобы аппаратура имела малую потребляемую мощность, была дешевой и простой в обслуживании. Поэтому в таких системах обычно приемник и демодулятор, а также передатчик СВЧ и модулятор не разделяют конструктивно, и часто эти устройства объединяют в одном корпусе. Обычно такие РРЛ бывают одно- и двухствольными, без резервных стволов. На зоновых сетях кроме АРРС с ЧМ широко используют ЦРРС. Аппаратура ЦРРС имеет малые габариты, и часто приемопередающее оборудование вместе с модулятором и демодулятором размещают в корпусе, который крепят к антенной опоре рядом с антенной.
3.2 ПРОМЕЖУТОЧНЫЕ РРС АНАЛОГОВЫХ РРЛ
В соответствии со схемой преобразования сигнала различают следующие схемы ПРС: гетеродинного типа, с однократным преобразованием частоты, с демодуляцией сигнала.
На магистральных РРЛ с ЧМ, как правило, применяют схемы гетеродинного типа, поскольку они обладают эксплуатационной гибкостью, что позволяет комплектовать ПРС, ОРС и УРС типовыми приемниками СВЧ и передатчиками СВЧ и организовывать универсальные ВЧ стволы. Как правило, на таких РРЛ применяют ЧМ. Две другие схемы ПРС нашли применение на внутризоновых и местных РРЛ. Промежуточные РРС гетеродинного типа выполняют по схемам с отдельными гетеродинными трактами (ГТ) или с общим ГТ.
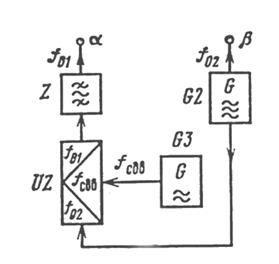
Структурная схема ПРС гетеродинного типа с отдельными гетеродинными трактами. Рассмотрим по рис. 3.1 прохождение сигнала одного ствола со средней частотой f1. Этот сигнал выделяют
РФ Z1 и ПФ Z2. С выхода ПФ сигнал поступает на смеситель приемника UZ1, в котором частота f1 понижается до промежуточной
fПР. Затем модулированные колебания ПЧ усиливаются в УПЧ А1
и поступают на выход Пр в т. а. Между СВЧ приемником и СВЧ
передатчиком устанавливают перемычку ab. Сигнал, поступающий
на вход П в т. b, усиливается в МУПЧ - мощном УПЧ А2 до уровня, необходимого для нормальной работы смесителя передатчика UZ2. В UZ2 колебания ПЧ преобразуются в колебания СВЧ, среди которых есть и колебания со средней частотой f2. На вторые входы смесителей поступают немодулированные СВЧ колебания от независимых гетеродинных трактов приемника G1 и передатчика G2 с частотами f01 и f02 соответственно. Поскольку на выходе смесителя получается богатый спектр колебаний, то там необходимо устанавливать ПФ, выделяющий рабочую полосу частот. Поэтому на выходе UZ2 установлен фильтр боковой полосы (ФБП) Z3. В приемнике СВЧ аналогичную функцию выполняет фильтр сосредоточенной селекции УПЧ.

![]() |
На выходе UZ2 будут колебания, частоты которых отвечают условию
(3.1)
где m и n — целые числа.
Фильтр боковой полосы пропускает колебания со средней частотой
(3.2 а)
или
(3.2 б)
и полосой, определяемой шириной спектра модулированного сигнала ПЧ.
Знак в формуле (3.2) определяется типом станции и расстановкой частот приема, передачи и гетеродинных трактов. Возможны четыре варианта расстановки частот (рис. 3.2), где также указан выбор знака в (3.2).
Усилитель мощности (УМ) A3 усиливает сигнал СВЧ, выделенный ФБП, обеспечивая номинальную выходную мощность. Если ее значение не превышает нескольких сотен милливатт, то УМ обычно не устанавливают.
Найдем нестабильность частоты, вносимую ПРС. Для определенности будем рассматривать ПРС с расстановкой частот, приведенной на рис. 3.2,а, для которой
f2=f02-fПР=f02-(f01-f1)

![]() |
Поскольку G1 и G2 независимы, отклонение частоты на выходе ПРС от номинального значения
где
- абсолютная нестабильность частоты входного сигнала;
и
- абсолютные нестабильности частот на выходах G1 и G2.
Вследствие того, что частоты f02 и f01 одного порядка и ГТ выполняют по аналогичным схемам, можно считать
=
. Тогда при
=0 определяем нестабильность частоты выходного сигнала, вносимую одной ПРС:
(3.3)
Значение
не должно превышать допустимого, определяемого по рекомендациям МККР.
Структурная схема ПРС с общим гетеродинным трактом. В такой схеме вместо G1 и G2 к точкам a и b на рис. 3.1 подключают ГТ приемопередатчика (рис. 3.3). В его составе - G2, генератор сдвига G3, смеситель сдвига UZ и фильтр узкополосный полосовой (ФУП) Z. Генератор G3 дает колебания с частотой сдвига fСДВ. Из спектра колебаний, возникающих на выходе смесителя сдвига, ФУП выделяет колебания частотой f01=f02-fСДВ на станциях типа НВ и частотой f01=f02+fСДВ на станциях типа ВН.


В соответствии с преобразованиями частоты в схеме на выходе ПРС с расстановкой частот, приведенной на рис. 3.2,а, получается частота колебаний
f2=f02-fПР=f02-(f01-f1)=f02-[(f02-fСДВ)-f1]=f1+fСДВ.
Отклонение частоты на выходе ПРС от номинального значения
и нестабильность частоты выходного сигнала, вносимая одной ПРС,
(3.4)
Нестабильность частоты G2 компенсируется в схеме и не влияет на стабильность частоты выходного сигнала ПРС. Однако она будет влиять на стабильность сигнала ПЧ на выходе приемника СВЧ и приводить к искажениям сигнала. С учетом этого фактора допустимая нестабильность частоты G2 в схеме рис. 3.3 ограничена. Ее значение примерно на порядок ниже, чем в схеме рис. 3.1.
Сопоставление схем по требуемой стабильности генераторов. Полагая, что задано допустимое значение отклонения частоты на выходе ПРС
из (3.3) и (3.4) определяем допустимые значения нестабильности частот G2
и генератора сдвига
. Или можно считать
. Генератор сдвига с требуемой допустимой нестабильностью частоты выполнить значительно проще, чем генератор СВЧ колебаний, так как частота первого на порядок ниже. Поэтому схема с генератором сдвига находила широкое применение в радиорелейных системах первого поколения, в которых для получения СВЧ колебаний использовали клистронные генераторы. В такой схеме Пр и П связаны общим гетеродинным трактом и превращаются в один приемопередатчик.
С появлением варакторов СВЧ колебания стали получать путем умножения частоты задающего кварцевого генератора. Хотя ГТ, построенный на этой основе, и представляет собой сложное устройство, однако он обеспечивает требуемую высокую стабильность выходной частоты и выполняется полностью на полупроводниковых приборах. Поэтому схема с отдельными генераторами находит самое широкое применение в аппаратуре второго и третьего поколений. Эта схема удобна в эксплуатации, так как обеспечивает автономность работы приемника и передатчика.
3.3 УЗЛОВЫЕ И ОКОНЕЧНЫЕ РРС АНАЛОГОВЫХ РРЛ
Структурные схемы станций. Как уже отмечалось, на всех РРС магистральных РРЛ устанавливают типовую приемопередающую СВЧ аппаратуру. Выполняют УРС по схеме рис. 3.1, в которой снимают перемычку между СВЧ приемником и передатчиком (ab). Вместо нее в ТФ стволе через аппаратуру резервирования подключают модем. В ТВ стволе обычно имеет место переприем и разветвление сигналов по ПЧ.

![]() |
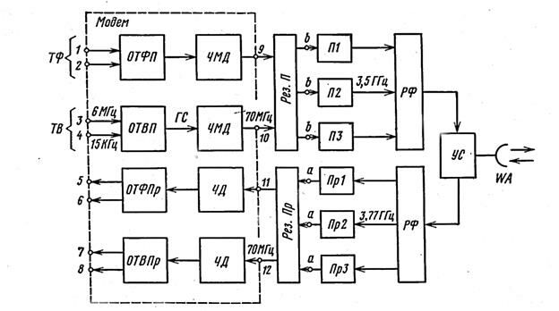
На ОРС (рис. 3.4) для приема и передачи сигналов в разных направлениях связи служит общая антенна WA. Приемники СВЧ (Пр1, ...,ПрЗ) и передатчики СВЧ (П1, ..., ПЗ) построены по тем же структурным схемам, что и на рис. 3.1, К точкам а и b (ср. с рис. 3.1) через аппаратуру резервирования подключен модем. В ТФ стволе работают Пр1 и П1, в ТВ стволе - Пр2 и П2, в резервном - ПрЗ и ПЗ. Модем имеет входы (11,12) и гарантированные выходы (9, 10) - по ПЧ, а также входы для сигналов МТС (1), служебной связи (СС) (2), ПТВС (3) и СЗС (4) и соответствующие выходы 5, 6, 7, 8 для этих сигналов. В составе модема показаны оконечные устройства ТФ ствола: приемное ОТФПр и передающее ОТФП, оконечные устройства ТВ ствола: приемное ОТВПр и передающее ОТВП, ЧМД и ЧД.
Оконечные устройства передающие служат для формирования ГС ствола из сигналов, поступающих на его входы по СЛ, а также для согласования входов 1, 2, 3, 4 модема с СЛ. Оконечные устройства приемные разделяют ГС ствола на составляющие сигналы и согласуют выходы 5, 6, 7, 8 модема с СЛ. На выходе ЧМД получают колебания ПЧ, модулированные по частоте ГС ствола. На рис. 3.4 для ТВ ствола указаны верхние частоты первичных электрических сигналов и средние частоты ЧМ сигнала в разных точках схемы ОРС магистральной РРЛ, работающей в диапазоне 4 ГГц. На приеме ЧД демодулирует сигнал ПЧ, поступающий на его вход.
В ТФ и ТВ стволах используют одинаковые ЧМД, а также ЧД. Таким образом, в схеме ОРС для различных стволов оказываются разными только оконечные устройства. На ОРС и УРС устанавливают одинаковые модемы.
3.4 ОРГАНИЗАЦИЯ ТЕЛЕФОННОГО СТВОЛА
Телефонный ствол образуют оконечные устройства ТФ ствола, модуляторы, демодуляторы, приемопередающая аппаратура универсальных ВЧ стволов и антенны. Напомним, что емкость ВЧ ствола ограничена частотой FВ=9 МГц, что соответствует N=1920. Во многих радиорелейных системах принято передавать в ТФ стволе вместе с МТС сигналы СС на частотах, лежащих ниже FH. Около частоты 9 МГц (FПС=9,023 МГц) обычно передают пилот-сигнал (ПС), который нужен для проверки исправности аппаратуры. Сигналы СС, МТС и ПС объединяются в ОТФП в групповой сигнал ТФ ствола (рис. 3.5). В комплексе КУРС, в котором предусматривают передачу по стволу
, в ГС ствола дополнительно могут быть введены два СЗВ методом ЧМ на поднесущих частотах 7,0 и 7,36 МГц.


![]() | ![]() | ||
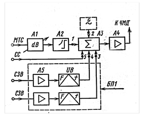
На магистральных РРЛ МТС поступает по кабельной СЛ от сетевого узла связи, а СЗВ - от центральной междугородной аппаратной вещания (ЦМВА). Сигналы СС формируются на РРС и подаются по кабелю на вход ОТФП, ПС получают от специального генератора G,
входящего в состав ОТФП (рис. 3.6). В ОТФП МТС проходит через регулируемый аттенюатор А1 и ПК А2 и попадает на вход 1 сумматора A3. Последний объединяет сигналы, поступающие на его входы. На входы 2 и 5 поступают ПС и сигналы СС. На входы 3 и 4 — сигналы из передающего блока поднесущих частот БП1. В БП1 входной СЗВ усиливается и модулирует поднесущую в частотно-модулируемом генераторе (ЧМГ) UB. На выходе A3 получается ГС ТФ ствола (рис. 3.5,б). После усиления в групповом усилителе (ГУ) А4 он поступает на вход блока ЧМД модема. Регулируемый аттенюатор позволяет установить номинальный уровень МТС на входе A3. Предыскажающий контур дает возможность повысить помехозащищенность верхних каналов ТЧ, где имеют место наибольшие тепловые шумы. При этом его АЧХ должна соответствовать рекомендациям МККР (рис. 3.7).


![]() | |||
![]() | |||
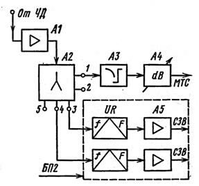
На приемном конце ОРС или УРС устанавливают ОТФПр (рис. 3.8). Сигнал, поступающий от ЧД, усиливается в ГУ А1 и поступает в разделительное устройство (РУ) А2. Последнее разделяет ГС ствола на составляющие с помощью фильтров. При этом МТС, ПС и сигналы СС поступают соответственно на 1, 2 и 5 выходы РУ. С выхода 1 МТС через ВК A3 и регулируемый аттенюатор А4 поступает на выход ОТФПр и далее по СЛ на сетевой узел связи. В ВК происходит восстановление исходных уровней МТС. Подбирают АЧХ ВК (кривая 2 на рис. 3.7) такой, чтобы результирующая АЧХ для ПК и ВК была равномерна в полосе частот FH ...FВ.
Выделенные в РУ ЧМ сигналы на поднесущих поступают на выходы 3 и 4 и далее - в блок поднесущих частот приемный БП2. В БП2 каждый из этих сигналов демодулируется в UR-частотном демодуляторе звуковых сигналов и через усилитель поступает на выход ОТФПр, откуда по СЛ они подаются в ЦМВА.
Структурные схемы РРС (рис. 3.4, 3.1) и оконечных устройств (рис. 3.6, 3.8) являются типовыми при организации ТФ ствола магистральной РРЛ.
3.5 ОРГАНИЗАЦИЯ ТЕЛЕВИЗИОННОГО СТВОЛА
Такой ствол организуют на магистральных и внутризоновых АРРЛ с помощью АРРС с ЧМ. Телевизионный ствол образуют оконечные устройства ТВ ствола, модуляторы, демодуляторы, приемопередающая аппаратура универсального ВЧ ствола и антенны. Оконечные РРС, как правило, совмещают с телецентрами, откуда на ОРС подают ПТВС и СЗС. Длина СЛ не должна превышать нескольких сотен метров из-за искажений, вносимых кабелем в широкополосный ПТВС. Для коррекции АЧХ и ФЧХ СЛ в состав ОТВП (рис. 3.9) включают корректор соединительной линии А2. Включение ПК A3 с АЧХ, рекомендованной МСЭ (рис. 3.10), позволяет облегчить требования к передаточной характеристике ЧМД. Назначение остальных элементов схемы рис. 3.9 такое же, как и в схеме рис. 3.6, только вместо СЗВ на входы ОТВП подают СЗС, а на выходе А4 получают ГС ТВ ствола (рис. 3.5,0). Этот сигнал через видеоусилитель А5 поступает на ЧМД. Поскольку спектр ПТВС начинается с 50 Гц, то передавать сигналы СС в нижней части спектра ТВ ствола нельзя.


Особенности построения структурных схем РРС таковы. Передача ТВ программ носит симплексный характер, поэтому различают передающие и приемные ОРС. На УРС, как правило, имеет место переприем и разветвление сигналов по ПЧ. На многих ПРС также выполняют ответвление сигнала по ПЧ с последующей демодуляцией (рис. 3.10). В этой схеме приемник и передатчик СВЧ построены по схеме рис. 3.1. Частотный демодулятор UR1 выделяет ГС ТВ ствола. Разделительное устройство А1 разделяет ГС ТВ ствола на ПТВС и ЧМ поднесущую. Восстанавливающий контур А2 имеет АЧХ, рекомендованную МККР, так что результирующая АЧХ для ПК и ВК равномерна в полосе частот ПТВС. Сигнал звукового сопровождения выделяют на выходе ЧД UR2. С выхода ОТВПр ПТВС и СЗС подают на ТВ ретранслятор который размещают в одном здании с ПРС.


3.6 РАДИОРЕЛЕЙНЫЕ СТАНЦИИ ВНУТРИЗОНОВЫХ И
МЕСТНЫХ РРЛ
При организации ТФ стволов на внутризоновых и местных РРЛ, проходящих в районах страны, где необходимо выделение каналов почти на каждой РРС, применяют схемы ПРС с демодуляцией сигнала. На этих РРЛ аппаратура всех РРС унифицирована. По таким же схемам строят однопролетные РРЛ, предназначенные для подачи сигналов телевидения от магистральных РРЛ на ТВ ретрансляторы.
На внутризоновых РРЛ в малонаселенных осваиваемых районах страны, т. е. там, где можно вводить и выводить каналы только на ОРС, применяют схемы ПРС с однократным преобразованием частоты. На такой РРЛ аппаратура ПРС и ОРС не унифицирована.
Структурные схемы ПРС с демодуляцией сигнала. Их также называют схемами с переприемом по линейному спектру. На таких РРС (рис. 3.11) к выходу СВЧ приемника подключают ЧД и групповой усилитель приема ГУПр. Радиопередатчик РРС состоит из группового усилителя передачи ГУП, модулятора Мд и СВЧ передатчика П.
На выходе ЧД получают ГС ТФ ствола, состоящий из МТС и сигналов СС, спектр которых лежит ниже FН. Этот ГС разделяется на составляющие в ГУПр. Обычно ГУПр позволяет также выделить первичную (вторичную) группу каналов, которая поступает на выход 1. На выход 2 поступает МТС, передаваемое транзитом, на выход 3 - сигнал СС. Между выходом 2 блока. ГУПР и входом 2' ГУП устанавливают перемычку. На вход 3' ГУП может быть подан сигнал СС, а на вход 1' — вновь вводимый сигнал первичной (вторичной) группы каналов. Эти сигналы на выходе ГУП образуют ГС ствола, который поступает на Мд.

![]() |


Приемник СВЧ выполняют по супергетеродинной схеме, как и на ПРС гетеродинного типа (см. рис. 3.1). Радиопередатчик может быть выполнен по схеме с модуляцией по ПЧ, с прямой частотной модуляцией и с фазовым модулятором. В схеме с модуляцией по ПЧ устанавливают частотный модулятор, на выходе которого значение центральной частоты равно fПР Передатчик СВЧ выполняют по той же схеме, что и на ПРС гетеродинного типа (см. рис. 3.1). Так выполнена аппаратура КУРС-8-0 (Область-1») с емкостью ствола 300 ТФ каналов. Заметим, что в КУРС-8-0, в отличие от схемы рис. 3.12, сигналы СС передают путем ФМ колебаний кварцевого генератора гетеродинного тракта передатчика.
В схеме с прямой частотной модуляцией (рис. 3.12,а) ГС ствола, поступающий с выхода ГУП, модулирует по частоте колебания транзисторного автогенератора G диапазона 900 МГц. Основное усиление ЧМ сигнала происходит на частоте автогенератора. В умножителе частоты U частота сигнала повышается. Выходной сигнал через направленный ответвитель поступает в АФТ. Часть колебаний ответвляется для стабилизации центральной частоты автогенератора посредством автоматической подстройки частоты (АПЧ). Устройства UB и G реализуют в виде одного ЧМГ. Такой ЧМГ выполняет те же функции, что ЧМД и ГТ радиопередатчика с модуляцией по ПЧ, имея более простую схему и потребляя меньшую мощность. Такая схема применена в системе КУРС-8-02.
В радиопередатчике с фазовым модулятором UB (рис. 3.12,6) ГС ствола, образованный на выходе ГУП, проходит через частотный корректор А1 с коэффициентом передачи 1/W. Выходной сигнал ЧК модулирует по фазе колебания кварцевого автогенератора G. В такой схеме частота колебаний на выходе UB меняется пропорционально амплитуде сигнала на входе ЧК. Следовательно, на выходе получаем колебания, модулированные по частоте ГС ствола.
В кварцевых автогенераторах обычно получают колебания с частотами более низкими, чем рабочая частота РРС. Девиация частоты на выходе UB ограничена допустимыми искажениями сигнала. Для повышения несущей частоты и девиации в схему включен умножитель частоты. Усилитель А2 обеспечивает требуемую
выходную мощность.
Структурная схема ПРС с однократным преобразованием частоты. Ее также называют схемой прямого усиления. На такой ПРС (рис. 3.13) сигнал усиливают непосредственно на частотах приема и передачи с помощью МШУ А1 и СВЧ усилителей А2 и A3. Сдвиг частоты выполняет преобразователь сдвига сигнала, в состав которого входят генератор сдвига G, смеситель сдвига UZ и ФБП Z. Схему отличает низкая потребляемая мощность. С появлением транзисторных МШУ и УСВЧ такие схемы находят все более широкое применение. Подобная схема реализована, например, в АРРС «Нить» и ЦРРС «Электроника-изотоп» (диапазон 2 ГГц).
Информация в лекции "2. Выборка данных" поможет Вам.

![]() |
Как уже отмечалось, аппаратуру ОРС таких РРЛ строят по другим схемам. Там устанавливают супергетеродинный радиоприемник, а на передающем конце — радиопередатчик с модуляцией по ПЧ, либо выполненный по схемам рис. 3.12.
































