Технология подготовки к скармливанию корнеплодов
10 Технология подготовки к скармливанию корнеплодов.
В настоящее время к корнеплодам в качестве корма существует критическое отношение, как к культуре энергоемкой и нерентабельной в сравнении с зернофуражом. Тем не менее корнеклубнеплоды применяются в виде сочного молокогонного корма в молочном скотоводстве и как основной компонент кормосмеси при картофельно-концентратном типе кормления свиней. Соответственно для коров корнеклубнеплоды могут применяться в сыром виде, для скармливания свиньям они должны быть запарены. При любом использовании корнеклубнеплоды должны быть очищены от камней, грунта, других растительных и минеральных примесей.
Первоначальная загрязненность клубней после уборки может достичь 12…20 % по массе. Загрязнение при скармливании должно составлять не более 2…3%. Степень загрязненности определяют опытным путем по формуле:
, %
где m1 - общая масса порции продукции до мойки, m2- масса порции чистого продукта, кг.
Корнеплоды скармливают коровам (кроме мелких и картофеля) в целом виде, а свиньям и птице – в измельченном. Толщина резки корнеклубнеплодов для коров должно составлять 10…15 мм, телятам 5…10, свиньям 5…10, птице 3…4 мм. Корнеплоды измельчают непосредственно перед скармливанием, так как они теряют много сока и через 2-3 часа чернеют. При запаривании картофель обрабатывают паром, а не горячей водой, так как горячая вода поглощает значительную часть питательных веществ.
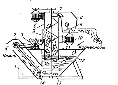
Для измельчения корнеплодов могут быть использованы измельчители ИРМ-15, корнерезка КПИ-4, старые машины «Волгарь-5», а также измельчители-камнеуловители ИКМ-Ф-10 (рис.1).
Рекомендация для Вас - 47 Научная проблема.
Аналог ИКМ-Ф-10 отечественного производства - мойка корнеклубнеплодов МКЛ-10 – без измельчения. Для этой цели в Беларуси выпускают унифицированный измельчитель корнеклубнеплодов ИУК-2 с сухой очисткой их.
Шнековая мойка ИКМ-Ф-10 работает следующим образом. Загрязнения корнеклубнеплоды загружаются в ванну 12, заполненную проточной водой, поступающей из коллектора 4. Крылачом 13 образуется восходящий поток воды, который поднимает корнеклубнеплоды к шнеку 11. При трении их о детали шнека и взаимно, в потоке воды из коллектора, происходит их хорошее омывание. Далее по шнеку корнеклубнеплоды поступают в измельчитель 9. Неплавающие примеси осаждаются на дне ванны и по мере накопления поступают на транспортер 2 и выводятся наружу.


Запаривание картофеля проводится в запарниках периодического действия ЗПК-4 или непрерывного действия АЗК-3 (рис. 2).


Здесь ванна 1, транспортер 2, барабан 3 и шнек 4 – представляют собой приемно-моечное устройство. В запарочном чане 5 картофель запаривается паром из парораспределителя 6. По мере запаривания картофель выгружается шнеками 10 и 12. Мнется мялкой 11. Далее процесс идет непрерывно – из мойки поступает сырой, а из мялки выходит запаренный и смятый картофель.























