Плоттеры
1.8 Плоттеры
Назначение. Устройства, выполняющие функции вывода графической информации на бумажный и некоторые другие носителей, называются графопостроителями или плоттерами (plotter).
Графопостроители систематизируют по двум основным признакам: по способу формирования изображения на носителе и по способу управления (рисунок 1.40).

Рисунок 1.40 - Классификация графопостроителей
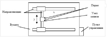
Классификация средств регистрации. По принципу взаимодействия записывающего органа и носителя графического регистрирующего устройства (ГРУ) подразделяются на двух - координатные (планшетные) и однокоординатные (барабанные). В двух - координатных записывающий орган перемещается по координатам Х и У по полю неподвижного носителя, закрепленного на планшете. В одно - координатных носитель перемещается по одной координате, записывающий орган - по другой.
По способу регистрации ГРУ делят механические и немеханические. В ГРУ механического типа изображение формируется путем механического нанесения красителя на бумагу. При этом в качестве записывающего инструмента применяются перья, фломастеры. В ГРУ немеханического типа для регистрации используют электрографический, электрохимический, магнитографический, электротермический способы.
ГРУ характеризуются следующими параметрами:
- точностью, которая определяется отклонением координат графика от их расчетных значений; зависит от минимального шага перемещения регистрирующего органа;
Рекомендуемые материалы
- быстродействием, определяемым скоростью вычерчивания линии;
- размерами рабочего поля носителя;
- количество применяемых пишущих инструментов, обеспечивающих различные цвета линий и их толщину;
- количеством интерфейсов, с которыми может работать ГРУ.

а)

б)
а – планшетный;
б – барабанный.
Рисунок 1.41 - Конструкция электромеханических графопостроителей


Рисунок 1.42– Внешний вид плоттера с неподвижным и подвижным носителем
Работа графопостроителя.
Сообщение о работе, поступающее на вход графопостроителя через интерфейс вводавывода ЭВМ либо считываемое с НМН содержит заголовок, данные и признак окончания чертежа (графика). В заголовке содержится последовательность команд, необходимая для подготовки устройства к работе. Данные содержат информацию о координатных точках графических элементов и коды символов. Приказ “конец графика” свидетельствует об окончании формирования документа и о необходимости смены листа.
Работа графопостроителя по вычерчиванию может осуществляться в абсолютных координатах либо в приращениях, по шагам (инкрементный режим). При работе в абсолютных координатах кодовые посылки команд содержат значения приращений x и y, на которые необходимо переместить пишущий узел. При работе в абсолютных координатах с помощью линейной интерполяции вычерчиваются прямые линии и отрезки, а с помощью круговой интерполяции окружности и дуги.
На рисунок 1.43 приведена структурная схема планшетного графопостроителя. Схема состоит из трех блоков: блока преобразования и подготовки данных, блока управления и построителя.
Блок преобразования и подготовки данных принимает и хранит в БЗУ порцию данных, подлежащих выводу.
Скорость вычерчивания символов определяется быстродействием исполнительных органов плоттера, например, шаговых двигателей. Более высокой скоростью обладают плоттеры с буквопечатающей головкой. Скорость вычерчивания линий достигает 2300 мм/c.
Блок управления на основании данных, полученных от интерполятора и генератора символов, вырабатывает сигналы управления электродвигателями и пишущим узлом в процессе построения элементов чертежа.
Управляет и синхронизирует работу всех устройств блок местного управления, обычно выполненный на 32-разрядном микропроцессоре.

Рисунок 1.43 - Структурная схема планшетного графопостроителя
Растровый графопостроитель. Растровые графопостроители с электростатическим, электрохимическим, электротермическим и другими немеханическими способами регистрации изображений на обычные и специальные носители получили распространение для получения рабочих чертежей непосредственно в производственных помещениях благодаря своему высокому быстродействию и невысокой требовательности к условиям эксплуатации.
На рисунке 1.44 приведена структурная схема растрового графопостроителя.

Рисунок 1.44 - Структурная схема растрового графопостроителя
К недостаткам растровых графопостроителей с металлическими электродами относится выгорание электродов, приводящее к ухудшению качества изображения, и необходимость применения специальных бумаг. Совершенствование растровых графопостроителей ведется в направлении использования волоконно-оптических способов регистрации, лишенных указанных недостатков и позволяющих значительно увеличить скорость и каче-
ство печати.
Перьевые плоттеры. Перьевые плоттеры (ПП) - это электромеханические устройства векторного типа. На ПП выводят графические изображения векторные программные системы типа AutoCAD. ПП создают изображение при помощи пишущих элементов, обобщенно называемых перьями. Пишущие элементы бывают одноразовые и многоразовые. Перо крепится в держателе пишущего узла, который имеет одну или две степени свободы перемещения.
Существует два типа ПП: планшетные и барабанные (или рулонные).
Особенностью ПП являются высокое качество получаемого изображения и хорошая цветопередача при использовании цветных пишущих элементов. Скорость вывода информации в ПП невысокая.
Струйные плоттеры. Технологии направленного распыления чернил на бумагу при помощи сотен форсунок одноразовой печатающей головки. Каждой форсунке соответствует свой микроскопический нагревательный элемент (терморезистор), который мгновенно (за 7-10 мкс) нагревается под воздействием электрического импульса. Чернила закипают, и пары создают пузырек, который выталкивает из форсунки каплю чернил. Когда импульс кончается, терморезистор столь же быстро остывает, а пузырек исчезает.
Струйные плоттеры работают с форматами А1-А0.
Достоинства струйная технологии:
- простоту реализации;
- высокое разрешение;
- низкую потребляемую мощность;
- относительно высокую скорость печати.
Недостатки струйных плоттеров:
- невысокая скорость вывода графической информации;
- выцветание со временем полученного цветного изображения.
Электростатические плоттеры. Электростатические плоттеры (ЭП) используют электростатическую технологию на основе создании скрытого электрического изображения (потенциального рельефа) на поверхности носителя - специальной электростатической бумаги, рабочая поверхность которой покрыта тонким слоем диэлектрика, а основа пропитана гидрофильными солями для обеспечения требуемых влажности и электропроводности. Потенциальный рельеф формируется при осаждении на поверхность диэлектрика свободных зарядов, образующихся при возбуждении электродов записывающей головки высоковольтными импульсами напряжения. Когда бумага проходит через проявляющий узел с жидким намагниченным тонером, частицы тонера оседают на заряженных участках бумаги. Полная цветовая гамма получается за четыре цикла создания скрытого изображения и прохода носителя через четыре проявляющих узла с соответствующими тонерами.
Недостатки электростатических плоттеров:
- необходимость поддержания стабильных температуры и влажности в помещении;
- необходимость тщательного обслуживания;
- высокая стоимость.
Плоттеры прямого вывода изображения. Изображение в плоттере прямого вывода изображения (ППВИ) создается на специальной термобумаге (бумаге, пропитанной теплочувствительным веществом) длинной (на всю ширину плоттера) "гребенкой" миниатюрных нагревателей. Термобумага, которая обычно подается с рулона, движется вдоль "гребенки" и меняет цвет в местах нагрева. Изображение получается высококачественным (разрешение до 800 dpi (точка/дюйм)), но только монохромным.
Плоттеры на основе термопередачи. Отличие плоттеров на основе термопередачи (ТПТ) от ППВИ состоит в том, что в них между термонагревателями и бумагой (или прозрачной пленкой) размещается "донорный цветоноситель" - тонкая, толщиной 5-10 мкм, лента (например, лавсановая), обращенная к бумаге красящим слоем, выполненным на восковой основе с низкой (менее 100° С) температурой плавления.
На донорной ленте последовательно нанесены области каждого из основных цветов размером, соответствующим листу используемого формата. В процессе вывода информации бумажный лист с наложенной на него донорной лентой проходит под печатающей головкой, которая состоит из тысяч мельчайших нагревательных элементов. Воск в местах нагрева расплавляется, и пигмент остается на листе. За один проход наносится один цвет. Все изображение получается за четыре прохода. Таким образом, на каждый лист цветного изображения затрачивается в четыре раза больше красящей ленты, чем на лист монохромного.
Лазерные плоттеры. Лазерные плоттеры (ЛП) основываются на электрографической технологии, в основу которой положены физические процессы внутреннего фотоэффекта в светочувствительных полупроводниковых слоях селеносодержащих материалов и силовое воздействие электростатического поля. Промежуточный носитель изображения (вращающийся селеновый барабан) в темноте может быть заряжен до потенциала в сотни вольт. Луч света снимает этот заряд, создавая скрытое электростатическое изображение, которое притягивает намагниченный мелкодисперсный тонер, переносимый затем механическим путем на бумагу. После этого бумага с нанесенным тонером проходит через нагреватель, в результате чего частицы тонера запекаются, создавая изображение.
Лазерные и LED-плоттеры ввиду высокого быстродействия (лист формата А1 выводится менее чем за полминуты) удобно использовать как сетевые устройства, и они имеют в стандартной комплектации адаптер сетевого интерфейса. Эти плоттеры могут работать на обычной бумаги, что сокращает эксплуатационные затраты.
Параметры и характеристики проттеров. Основные параметры плоттеров:
- формат листа определяет максимальный стандартный формат, который может быть вписан в размер рабочего поля;
- длина носителя для рулонных плоттеров зависит от его толщины (чем тоньше носитель, тем он длиннее), так как допустимый диаметр рулона ограничен;
- параметры точности - не существует универсального показателя точности и эти показатели у разных типов плоттеров характеризуют фактические разные параметры;
- механическая точность только для перьевых плоттеров и характеризует то, с какой точностью их механическая система способна позиционировать пишущий узел;
- программно задаваемое разрешение определяет, с какой точностью (разрядностью) могут кодироваться координаты в графическом файле, пересылаемом плоттеру;
- разрешение печати - Этот параметр используется в растровых плоттреах и измеряется числом точек на дюйм.
- точность - для перьевых плоттеров и соответствует только некоторым условиям работы плоттера (применение бумаги с повышенной шероховатостью, также износ механики плоттера вследствие эксплуатации влияет на эту характеристику);
- повторяемость для перьевых плоттеров и определяет точность, с которой плоттер многократно позиционирует пишущий узел в одной и той же точке в процессе рисования;
- погрешность остановки пера характеризует величину погрешности позиционирования пишущего узла перьевых плоттеров, возникающую при установке пишущего узла в начальную точку вектора после холостого перемещения, происходящего на максимальной скорости.
Параметры производительности:
- скорость печати (или перемещения носителя) для растровых плоттеров, и обычно определяет максимально технически возможную скорость печати уже подготовленной информации;
- максимальная скорость взаимного перемещения пишущего узла и носителя;
- реальная скорость рисования определяется максимальной скоростью нанесения непрерывной линии пишущим узлом и максимальным ускорением перемещения пишущего узла;
- максимальное ускорение, которое может быть придано пишущему узлу, влияет на потери времени при изменении направления пишущего узла и потери времени при поднятии/опускания пера.
Интерфейс. Стандартными для плоттеров является последовательный интерфейс RS-232C и более быстрый параллельный интерфейс Centronics. Для высокопроизводительных растровых плоттеров с большими объемами передаваемой информации желательно наличие нескольких одновременно работающих стандартных интерфейсов.
Память. Для улучшения функциональных показателей (быстродействие, удобство работы, автономность и др.) плоттер имеет встроенную память, в которую загружается графическая информация, обрабатываемая процессором плоттера в процессе создания изображения.
Стандартный буфер - это оперативная память в плоттере стандартной конфигурации. Современные модели плоттеров большого формата имеют стандартный буфер (memory) емкостью от 1 Мбайт и более. У высокопроизводительных плоттеров с несколькими каналами приема информации также должна быть дополнительная дисковая память.
Для перьевых плоттеров размер памяти определяет только способность работать в режиме off-line (т.е. автономно) после загрузки файла чертежа.
Для растровых плоттеров этот параметр определяет разрешение и формат изображения, обеспечиваемые плоттером.
Форматы данных. Существует два принципа создания изображения - векторный и растровый. Первый характерен для перьевых плоттеров, а второй - для всех остальных.
Форматы данных информации в компьютере не соответствуют разрешению и/или форматам данных плоттера. И если векторные графические языки, такие, как HPGL, фактически стандарт для любого плоттера (т.е. всегда обеспечен вывод векторной графической информации), то вывод растровой информации на растровом же плоттере не всегда может быть осуществлен без специальных драйверов.
Чертежные характеристики.
- цветовая палитра - для цветных растровых плоттеров этот параметр характеризует максимально возможное количество цветов, с которым способен работать плоттер;
- число типов линий - параметр используется для характеристики векторной графики и определяет для некоторых плоттеров количество встроенных ("зашитых" в постоянной памяти или задаваемых внутренней программой) типов линий;
Люди также интересуются этой лекцией: 3.1. Уровни процесса управления.
- число штриховок - параметр характеризует количество встроенных (аппаратно реализованных) видов штриховок (как и число типов линий, не относится к числу критичных, т.к. не все программные средства используют возможности встроенного управления штрихованием, а создают штриховку самостоятельно);
- давление на пишущий элемент - для перьевых плоттеров определяет применимость для данного плоттера того или иного носителя и пишущего элемента;
- типы пишущих элементов - для перьевых плоттеров (фломастеры, шариковые стержни и рапидографы с различными характеристиками и т.д.);
- число пишущих элементов в карусели - для перьевых плоттеров данный параметр определяет возможное число одновременно отображаемых цветов или ширину линий на чертеже;
- грифеледержатель - для карандашно-перьевых плоттеров, описывает характеристики карандашного пишущего узла (если грифеледержатель имеет бункер на несколько грифелей, то это повышает автономность работы плоттера, так как замена исписавшегося грифеля при этом производится автоматически, без прерывания работы);
- тип лезвий для режущих плоттеров.





















