Системы с самонастройкой параметров
Системы с самонастройкой параметров (собственно самонастраивающиеся системы)
Основным, в настоящее время, видом самонастраивающихся систем регулирования и управления являются такие системы, в которых автоматически, не заданным заранее образом, изменяются какие-нибудь параметры регулятора (или системы управления), т.е. коэффициенты усиления, коэффициенты интенсивности введения производной и интеграла в закон регулирования, коэффициенты обратных связей и постоянные времени фильтров. Когда говорят о самонастраивающихся системах управления, то имеют в виду чаще всего именно этот тип самонастраивающихся систем. Но поскольку системы экстремального регулирования, рассмотренные выше, тоже, по существу, являются самонастраивающимися, то данный новый вид самонастраивающихся систем более полно называют системами с самонастройкой параметров регулятора или системами с самонастраивающимися корректирующими устройствами (имеется в виду тоже самонастройка их параметров). Рассмотрим основную идею работы этого вида самонастраивающихся систем. Когда хорошо известны свойства объекта и внешние возмущающие воздействия, а система достаточно проста, можно заранее уверенно выбрать наилучшие значения параметров регулятора, чтобы добиться надлежащего качества работы проектируемой автоматической системы. Если же параметры самого объекта известны недостаточно достоверно и если к тому же они могут в процессе работы в некоторых пределах случайным образом меняться, то и параметры регулятора (системы управления) и корректирующих устройств можно подобрать лишь ориентировочно. Поскольку все качества работы автоматической системы (точность или ошибки при разных воздействиях, запас устойчивости, форма переходного процесса и т.п.) зависят от общей совокупности всех параметров объекта и регулятора, то очевидно, что в данной ситуации будет обеспечено надлежащее качество системы лишь в среднем. При этом будут происходить более или менее существенные ухудшения качества работы системы при случайных отклонениях параметров объекта в ту или другую сторону (или просто за счет недостоверности знания этих параметров при проектировании системы).
Есть несколько путей решения задачи.
В том случае, когда имеет место простая недостоверность знания параметров объекта, но точно известно, что в процессе работы эти параметры остаются постоянными, можно просто произвести ручную подстройку некоторых параметров регулятора в начале эксплуатации данного объекта, добившись тем самым желаемого качества работы системы. Для этого нужно предусмотреть в конструкции регулятора соответствующие регулировочные потенциометры, емкости, винты и т.п. для настройки величин коэффициентов усиления, коэффициентов обратных связей и т.п.
В тех случаях, когда параметры объекта изменяются во времени при
его работе (т.е. динамика объекта описывается уравнением с переменными
коэффициентами), причем хорошо известен закон их изменения во времени,
можно заранее рассчитать, по какому закону во времени нужно менять
параметры регулятора, чтобы при данном изменении параметров объекта
качество работы системы в целом оставалось неизменно хорошим.
В данном случае нужно будет включить в систему уже не ручную, а программную настройку параметров регулятора по заданному закону во времени. В общем случае необходимо менять несколько параметров регулятора, корректирующего устройства или фильтра.
Поскольку непрерывное изменение параметров не всегда удобно для конструкции, прибегают к ступенчатому изменению параметров регулятора через определенные промежутки времени, рассчитанные так, чтобы за это время качество системы не сильно ухудшалось. При этом программным устройством в определенные моменты времени будут скачком подключаться или отключаться определенные участки сопротивлений, емкостей и т.п. для соответствующего изменения параметров регулятора.
Указанные пути ручной или программной настройки параметров, конечно, не приводят к самонастраивающимся системам. Они были описаны только для того, чтобы сделать более наглядным последующее изложение основ самонастройки. Вместе с тем изложенные методы программной настройки имеют и самостоятельное практическое значение и часто применяется. Во многих случаях такого рода ручной или программной настройки параметров регулятора или системы управления бывает достаточно, чтобы в среднем (с допустимыми отклонениями) получать желаемые качества работы системы в течение всего времени. Однако на практике существует много случаев, когда указанные пути неприемлемы.
Рекомендуемые материалы
Во-первых, часто характер работы объекта вообще не допускает ручной настройки параметров системы управления во время эксплуатации. Во-вторых, составление программы изменения параметров регулятора часто невозможно либо вследствие незнания истинного закона изменения хотя бы некоторых параметров объекта, либо вследствие случайного характера их изменения.
Это имеет место, например, в различных неустановившихся режимах полета скоростных самолетов, когда встает задача о полной автоматизации управления. Такие же ситуации часто могут иметь место в системах управления многими производственными процессами в металлургии, в машиностроении, в химической промышленности и т.п.
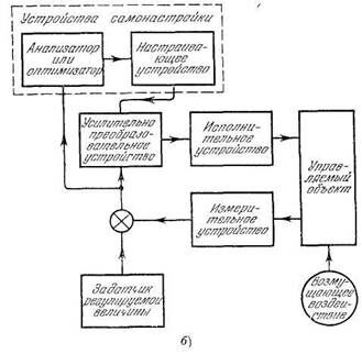
Во всех этих случаях приходится прибегать к самонастройке параметров регулятора (системы управления) по заданному показателю желаемого качества работы системы. При этом в системе должно иметься специальное автоматическое устройство для анализа качества работы объекта в данной системе по какому-нибудь заданному критерию (рис. В.11, а) или для анализа величины ошибок регулирования (рис. В.11, б). В обоих случаях это устройство (анализатор) определяет отклонение качества системы от требуемого качества и пере дает соответствующий сигнал на настраивающее устройство, которое автоматически изменяет параметры регулятора в нужную сторону, чтобы ликвидировать нежелательное ухудшение качества работы системы.


Рис. В.11.
Критерий качества может быть выбран любым из применяемых в теории регулирования или даже вновь выработан в интересах практики. Выбор его зависит от назначения и конструкции системы.
Таким образом, в само настраивающихся системах данного типа сверх обычного замкнутого контура регулирования (управления) имеется замкнутый контур самонастройки (рис. 2.13).
Дальнейшим развитием устройств самонастройки в системах данного типа является самооптимизация системы, когда анализатор качества на схемах рис. В.11 заменяется оптимизатором, т.е. устройством, которое производит настройку параметров регулятора оптимальным образом, отыскивая экстремум качества по заданному критерию, в частности, например, минимум ошибки регулирования.
Если задачей обычной самонастройки (с анализатором качества) было сохранение заданного качества системы в некоторых пределах, то задача оптимизатора (т.е. экстремальной настройки параметров регулятора) состоит в том, чтобы в каждый момент времени при меняющихся параметрах объекта настраивать параметры регулятора так, чтобы получать максимум качества, возможный в данных реальных условиях.
Такой оптимизатор должен содержать в себе, следовательно, устройство автоматического поиска экстремума качества (минимум ошибки), подобно поиску экстремального задания регулируемой величины в рассматривавшихся ранее экстремальных системах регулирования. Но особенность оптимизатора здесь состоит не только в специфике той величины, экстремум которой ищется, но главным образом в том, что воздействует он не на настройку требуемого значения регулируемой величины, а на настройку параметров корректирующих устройств самого регулятора.
Самооптимизация (экстремальная самонастройка) является наиболее совершенным, по в то же время и наиболее сложным видом системы с замкнутым контуром самонастройки параметров. В тех случаях, когда самонастройка применяется в системах управления вследствие недостоверности знания свойств объекта, система самооптимизации напоминает процесс самообучения системы. Система при этом путем автоматического поиска как бы сама познает неизвестные свойства управляемого объекта и обучается управлять этим объектом наилучшим образом (сама настраивает параметры регулятора по экстремуму заданного критерия качества).
В таких случаях можно поступать следующим образом: запустить указанную сложную самооптимизирующуюся (самообучающуюся) систему в пробную эксплуатацию и дать ей возможность самой настроить параметры регулятора. Затем можно сняг1ь устройство самонастройки вовсе и дальше эксплуатировать более простую систему с постоянной или с программной настройкой, выработанной в процессе самооптимизации (самообучения). Это конечно, не всегда возможно.
Одним из распространенных видов анализаторов и оптимизаторов качества в самонастраивающихся системах являются устройства из операционных усилителей или других математических моделей, построенных на блоках вычислительных машин, которые имитируют желаемое динамическое поведение объекта. Это эталонное качество поведения модели сравнивается с реальным поведением системы, и параметры регулятора настраиваются автоматически и таким образом, чтобы поведение системы «подогнать» к эталонному поведению модели.
На этом же принципе производится «обучение» машины человеком. В самом деле, в качестве эталонной модели можно взять работу человека по управлению, например, процессами в металлургической печи. Можно ввести при этом все те же связи с автоматической системой, которые вводятся в указанной выше самонастраивающейся системе с моделью. Тогда в результате произойдет самонастройка параметров этой системы. Система настроится на работу, дающую те же результаты, которые давала работа человека.
Важная особенность такой системы заключается в том, что здесь не требуется закладывать заранее критерий качества (что требовалось выше), так как он содержится в самом характере действий человека.
4 Каналы наблюдения - лекция, которая пользуется популярностью у тех, кто читал эту лекцию.
При помощи современных средств автоматики и вычислительной техники (включая, конечно, и присущие им логические операции) такого рода сложные задачи для некоторых объектов оказываются вполне осуществимыми. Пока что это делается только для длительно работающих объектов с медленным или с редким скачкообразным изменением параметров, когда процесс самонастройки успевает за темпом изменения свойств объекта. При быстром изменении параметров объекта и окружающих его условий построение таких самонастраивающихся систем является в настоящее время весьма трудной задачей.
Возможны еще и другие виды систем с самонастройкой параметров регулятора, которые не производят непосредственно анализ или оптимизацию какого-либо показателя качества работы (или ошибки системы), а анализируют форму возмущающего и задаваемого извне управляющего воздействий на систему (рис. В.12, а) и перенастраивают параметры регулятора в зависимости от формы воздействия по определенному правилу, заложенному заранее в настраивающее устройство. Это – системы с самонастройкой параметров регулятора по возмущению.
Применение их выгодно в тех случаях, когда внешнее воздействие может быть измерено с целью анализа его свойств и когда изменение его формы является решающим для качества работы системы.

Рис. В.12.
Часто это имеет место в различного рода следящих системах, особенно когда на вход системы вместе с полезным сигналом поступает помеха. В этом случае для наилучшего воспроизведения полезного сигнала изменяющейся частоты на фоне случайных помех целесообразно было бы менять полосу пропускания следящей системы. Это можно сделать, например, путем изменения постоянной времени фильтра в управляющей части указанной следящей системы в зависимости от измеренной частоты поступающего извне сигнала или других свойств сигнала и помехи. В результате вместо обычной следящей системы получится самонастраивающаяся система по возмущению типа представленной на рис. В.12, б (ее называют часто следящей системой с саморегулированием параметров). При этом анализатор свойств внешнего воздействия может быть более или менее сложным, основанным на анализе вероятностных характеристик полезного сигнала и помехи.





















