Курсовая работа: Выбор и расчет характеристик поверхностей сопряжений различного вида
Описание
Содержание
Задание №1. «Расчет посадок гладких цилиндрических соединений» . 6
Задание №2. «Расчет допусков размеров, входящих в размерную цепь» . 17
Задание №3 «Нормирование точности формы, расположения, шероховатости поверхности деталей» . 26
Задание №4. «Назначение и обоснование посадок подшипников качения» . 35
Задание №5. «Назначение и обоснование посадок шпоночного и шлицевого соединения» 43
Список используемых источников. 55
Введение
Цель работы: научится правильно читать и оформлять производственно-техническую документацию в соответствии с действующими требованиями.
Задачи работы: усвоить методику расчета зазоров и натягов, допусков и посадок для гладких цилиндрических соединений; научиться быстро и правильно оформлять схемы расположения интервалов допусков для гладких цилиндрических соединений; усвоить методику расчета предельных размеров, допусков, зазоров, натягов и допусков посадок для гладких цилиндрических соединений; научиться рассчитывать допуски и предельные отклонения для деталей сборочной единицы методом расчета размерных цепей; научиться правильно расшифровывать обозначения отклонений формы, расположения поверхностей, шероховатости поверхностей на чертежах деталей; научится назначать посадки для элементов подшипниковых, шпоночных, шлицевых; научиться выбирать средства измерений для контроля размеров и формы элементов сопрягаемых деталей различных соединений.
Задание №1. «Расчет посадок гладких цилиндрических соединений»
Исходные данные: ∅30H7/g7; ∅52H8/js8; ∅80H8/s7; ∅45M7/h7 [3].
Задание №2. «Расчет допусков размеров, входящих в размерную цепь»
Исходные данные [3]:
Звено размерной цепи | Категория звена | Размер звена, мм | |||
ув/ум | в/о/у | c / н/с | |||
А1 | Ув | в | н/с | 25 | |
А2 | Ув | о | н/с | 31 | |
А3 | Ув | у | н/с | 46 | |
А4 | Ув | в | н/с | 12 | |
А5 | Ув | о | н/с | 3 | |
А6 | Ув | у | н/с | 10 | |
А7 | Ум | - | с | 78 | |
А8 | Ув | - | с | 54 | |
A9 | Ув | у | н/с | 7 | |
А10 | Ум | в | н/с | 80 | |
АΔ | Зам.зв | – | н/с | ВО | +0,797 |
НО | –0,028 | ||||
Расчет размерной цепи производим методом, обеспечивающим полную взаимозаменяемость.
Задание №3 «Нормирование точности формы, расположения, шероховатости поверхности деталей»
Исходные данные [3]:

Задание №4. «Назначение и обоснование посадок
подшипников качения»
Исходные данные [3]:
– размер подшипника d × D – 120 × 260 мм;
– тип тел качения – ролики;
– тип подшипника – конический;
– вид нагружения внутреннего кольца подшипника – циркуляционный;
–вид нагружения наружного кольца подшипника – колебательный;
– результирующая радиальная нагрузка, действующая на подшипник –
53 кН;
– режим работы подшипника: перегрузка – 68%;
– класс точности подшипника – 6;
– отверстие в корпусе – разъемное;
– коэффициент, учитывающий степень ослабления посадочного
натяга равен 1.

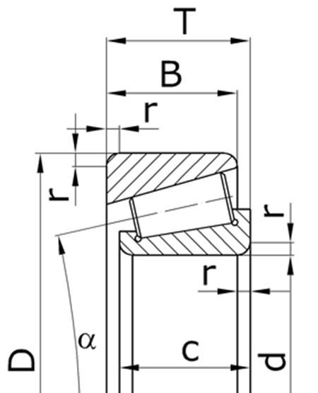
Рисунок 4.1 – Эскиз подшипника [13]
Задание №5. «Назначение и обоснование посадок шпоночного и
шлицевого соединения»
I. Назначение и обоснование посадок шпоночного соединения и
его контроль.
Исходные данные [3]:
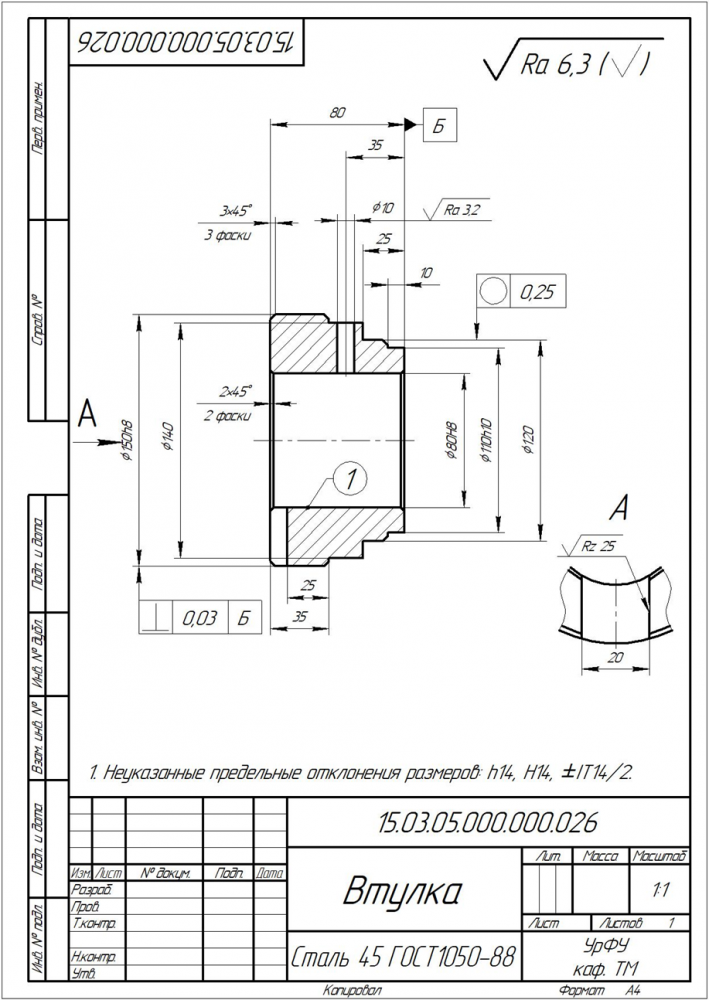
- номинальный размер b соединения (ширина шпонки) – 80 мм;
- тип шпоночного соединения – нормальное.
По ГОСТ 23360-78 [15, табл. 1 и табл. 2] определяем основные размеры шпоночного соединения:
- ширина шпонки (b) – 80 мм;
- высота шпонки (h) – 40 мм;
- интервал длин шпонки, соответствующий номинальному размеру шпонки 80х40 мм, – «Св. 200 до 500 мм» [15, c. 3, табл. 1]. Согласно рекомендациям [15, c. 3, п. 3] принимаем длину шпонки l = 350 мм;
- интервал размеров вала, соответствующий номинальному размеру шпонки 80х40 мм, – «Св. 330 до 380 мм». Принимаем диаметр вала
d = 350 мм; - глубина паза вала (t1) – 25,0 мм;
- глубина паза втулки (t2) – 15,4 мм;
- размер (d – t1) = (350 – 25,0) = 325,0-0,3 мм. (предельное отклонение размера – (–0,3) мм, для высоты шпонки «Св. 18 до 50 мм») [15, с. 7,
табл. 3]; - размер (d + t2) = (350 + 15,4) = 365,4+0,3 мм (предельное отклонение размера – (+0,3) мм, для высоты шпонки «Св. 18 до 50 мм») [15, с. 7,
табл. 3];
УрФУ им. Ельцина
all_at_700

















