Курсовая работа 103: Проектирование и исследование механизмов двигателя передвижной установки «мотор-генератор» вариант А
Описание
Технической задание
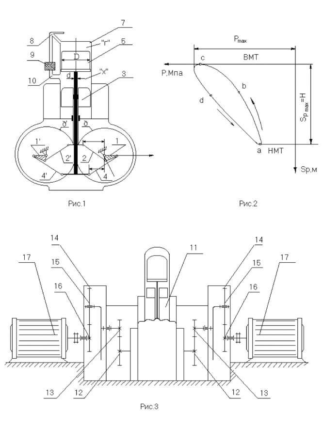
Передвижная установка состоит из двигателя с внешним подводом теплоты 11, с двух коленчатых валов которого движение через зубчатые передачи 12-13 и планетарные механизмы 14-15-16 передаётся в электрогенераторы 17.
Одноцилиндровый двигатель установки – двигатель Стирлинга. Он состоит из вертикального герметичного цилиндра 7, разделенного рабочим 3 и вытеснительным 5 поршнями на свободно сообщающиеся между собой горячую «Г» и холодную «Х» полости. В обеих полостях под давлением до 12 МПа находится рабочее тело (водород, гелий или воздух). Температура горячей полости порядка 600 ºС, холодной – 20-25 ºС.
Двигатель производит полезную работу путем сжатия рабочего тела при низкой температуре и расширения его при высокой. При движении вытеснительного поршня вверх рабочее тело по каналам нагревателя 8, регенератора 9 и холодильника 10 перемещается из горячей полости в холодную, а при движении вниз оно возвращается тем же путем в горячую полость. Тепло рабочему телу передается через стенку нагревателя, выполненного из большого количества трубок, кольцеобразно расположенных вокруг нагретого объема цилиндра.
Запуск двигателя начинается в верхней мертвой точке при Цикл работы двигателя осуществляется за один оборот коленчатых валов 1 и 1', кинематически связанных при помощи шатунов 2, 2' и 4, 4' с траверсами рабочего и вытеснительных поршней. Шатуны образуют форму подвижного деформируемого ромба, а кривошипы выполнены в виде жестких треугольников (иногда вырожденных), поэтому используемый в двигателе рычажный механизм получил название ромбического механизма с развитыми кривошипами.
Изменение давления в цилиндре двигателя в зависимости от положения рабочего поршня показан на индикаторной диаграмме, данные для ее построения приведены в таблице 2. Участок a-b-c индикаторной диаграммы соответствует движению поршня вверх, т.е. фазе сжатия рабочего тела, участок c-d-a – движению рабочего поршня вниз, т.е. фазе расширения рабочего тела. Перемещение рабочего тела в холодную полость при подготовке такта сжатия и в горячую полость – при подготовке такта расширения обеспечивается вытеснительным поршнем, движение которого смещено по фазе и согласовано с движением рабочего поршня благодаря ромбическому механизму. С целью исключения перекосов в цилиндре, т.е. обеспечения синхронного движения звеньев левой и правой половины «ромба», используется пара зубчатых (синхронизирующих) колес 6 и 6', жестко закрепленных на коленчатых валах двигателя.
МГТУ им. Н.Э.Баумана




















К сожалению, не могу уже вернуть деньги, а так определено бы сделала