Для студентов МГТУ им. Н.Э.Баумана по предмету Теоретическая механикаУравнения Лагранжа 2-го родаУравнения Лагранжа 2-го рода
5,0053
2020-06-052020-06-05СтудИзба
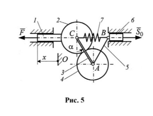
ДЗ 3: Уравнения Лагранжа 2-го рода вариант 5
Описание

Характеристики домашнего задания
Предмет
Учебное заведение
Семестр
Номер задания
Вариант
Теги
Просмотров
164
Качество
Фото рукописных листов
Размер
3,78 Mb
Список файлов
ДЗ1 Теоретическая механика Вариант 5.pdf
Комментарии
Нет комментариев
Стань первым, кто что-нибудь напишет!
МГТУ им. Н.Э.Баумана


















