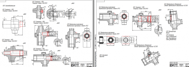
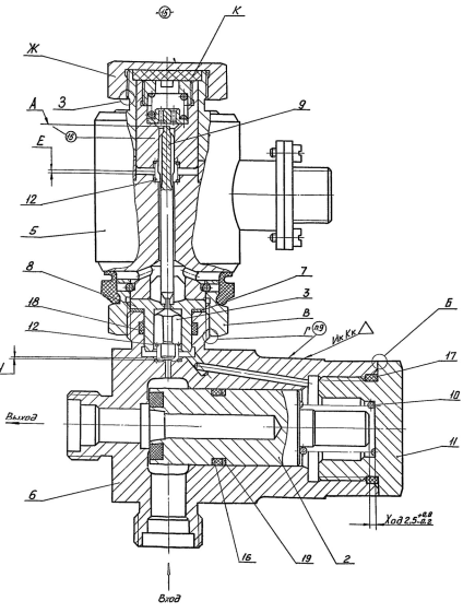
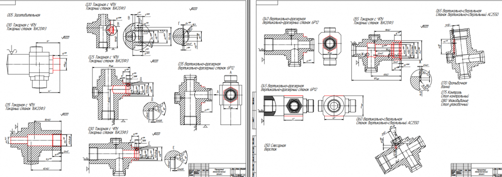
Для студентов МГТУ им. Н.Э.Баумана по предмету Технология производства машин (МТ-3)Технологический процесс изготовления детали корпус и приспособление кондукторТехнологический процесс изготовления детали корпус и приспособление кондуктор
5,0054
2021-06-282021-06-28СтудИзба
Курсовая работа: Технологический процесс изготовления детали корпус и приспособление кондуктор
Бестселлер
Описание
Характеристики курсовой работы
Учебное заведение
Просмотров
80
Размер
2,03 Mb
Список файлов
курсовой 9со
Листы 9.pdf
РПЗ.pdf
Комментарии
Нет комментариев
Стань первым, кто что-нибудь напишет!
МГТУ им. Н.Э.Баумана

















