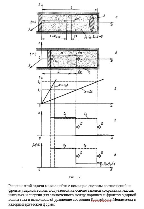
Для студентов МГТУ им. Н.Э.Баумана по предмету Прикладная механика сплошных сред (СМ-4)Взаимодействие двух встречных ударных волн разной интенсивности. Одномерная плоская нестационарная задача газодинамики. Метод Мейдера, схема ФроммаВзаимодействие двух встречных ударных волн разной интенсивности. Одномерная плоская нестационарная задача газодинамики. Метод Мейдера, схема Фромма
4,925112
2024-02-252024-02-25СтудИзба
Взаимодействие двух встречных ударных волн разной интенсивности. Одномерная плоская нестационарная задача газодинамики. Метод Мейдера, схема Фромма
Описание
Характеристики курсовой работы
Учебное заведение
Семестр
Просмотров
6
Размер
1,85 Mb
Преподаватели
Список файлов
RPZ.doc

готовый рпз, формулы, блок-схема, код программы, все графики имеются
МГТУ им. Н.Э.Баумана


















