Для студентов МГТУ им. Н.Э.Баумана по предмету Подъёмно-транспортные машины (ПТМ)Проектирование крана стрелового двухплечевогоПроектирование крана стрелового двухплечевого
5,0051
2022-08-292022-08-29СтудИзба
Курсовая работа ПТМ031: Проектирование крана стрелового двухплечевого
Описание
Курсовая работа содержит 3 листа чертежей формата А1, расчетно-пояснительную записку на 23 с., включающую 8 рисунков, 2 таблицы, 10 литературных источников, 1 приложение.
Исходные данные
Кран стреловой двухплечевой (КСД);
грузоподъемность m=0,5 т=500 кг;
скорость подъема v=12,5 м/мин=0,208 м/с;
высота подъема H= 4 м;
вылет L=4,5 м;
группа классификации механизма М3;
редуктор: Червячный;
число полиспастов μ=2;
кратность полиспаста a=1.
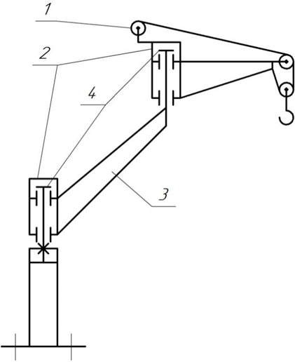
Рис.1 – Кран стреловой двухплечевой (КСД) (Поворотное устройство типа «колокол») 1 – механизм подъема – А1, ВО, 2 – поворотное устройство, 3 – стрела, 4 – подшипник упорный.
Файлы условия, демо
Характеристики курсовой работы
Учебное заведение
Семестр
Номер задания
Программы
Просмотров
27
Качество
Идеальное компьютерное
Размер
638,44 Kb
Список файлов
RPZ_PTM.docx
Кран стреловой двухплечевой .spw
Кран стреловой двухплечевой.cdw
Механизм подьема.cdw
Механизм подьема.spw
Узел опорный .spw
Узел опорный.cdw
