Для студентов МГТУ им. Н.Э.Баумана по предмету Проектирование технологической оснасткиРасчет размеров и допускаемых отклонений базисных агрегатов и сменных наладок приспособленийРасчет размеров и допускаемых отклонений базисных агрегатов и сменных наладок приспособлений
5,0053
2023-11-052023-11-05СтудИзба
ДЗ 1: Расчет размеров и допускаемых отклонений базисных агрегатов и сменных наладок приспособлений вариант 67
Бестселлер
Описание
Домашнее задание курсу «Проектирование технологической оснастки».
Вариант № 67.
Задание
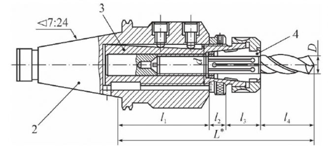
Произвести расчет размерной цепи и податливости универсально-наладочного приспособления (УНП) со сменными зажимными цангами для закрепления инструмента с хвостовиками диаметром 12,5 мм с размерами по рис.1 и табл. 1.
Рис.1

Характеристики домашнего задания
Учебное заведение
Номер задания
Вариант
Теги
Просмотров
53
Качество
Идеальное компьютерное
Размер
795,04 Kb
Список файлов
ДЗ ПТО Вариант 67.docx