ДЗ 1: Погрешность схемы базирования вариант 1
Описание
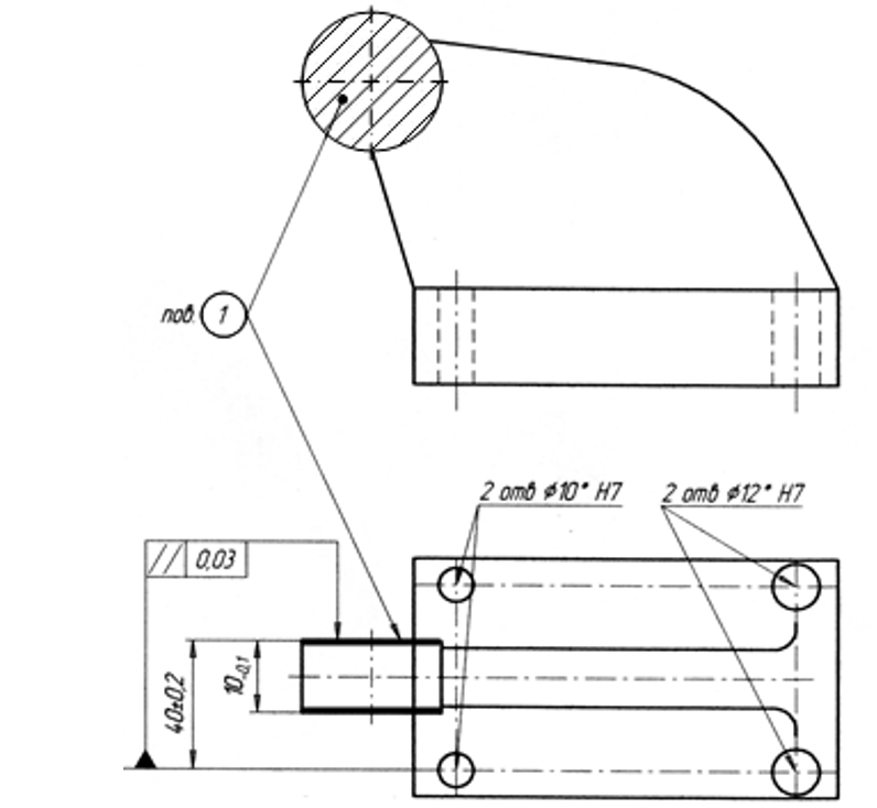
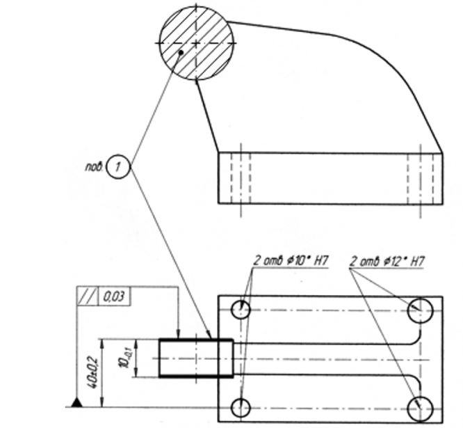
Фото задания:
P.s. ДЗ было принято, однако преподаватель сказал, что можно было бы посчитать угловую составляющую тоже. Формула для неё:![]()
P.s. ДЗ было принято, однако преподаватель сказал, что можно было бы посчитать угловую составляющую тоже. Формула для неё:
Характеристики домашнего задания
Учебное заведение
Семестр
Номер задания
Вариант
Просмотров
24
Размер
196,67 Kb
Список файлов
ДЗ1.docx
by fenixx
Комментарии
Нет комментариев
Стань первым, кто что-нибудь напишет!
МГТУ им. Н.Э.Баумана
fenixx


















