Курсовая работа: Проектирование фундаментов здания
Описание
ВАРИАНТ 1101
содержание
1 общая характеристика здания. 11
2 инженерно-геологические условия площадки строительства. 13
2.1 Расчет физических свойств грунтов и их классификация. 13
2.1.1 Вычисление характеристик для ИГЭ №1а. 14
2.1.2 Вычисление характеристик для ИГЭ №1. 15
2.1.3 Вычисление характеристик для ИГЭ №2. 15
2.1.4 Вычисление характеристик для ИГЭ №3. 16
2.1.5 Вычисление характеристик для ИГЭ №4. 17
2.2 Оценка инженерно-геологических условий площадки строительства. 17
3 варианты устройства фундаментов. 22
3.1 Фундамент мелкого заложения. 22
4 Расчет фундамента мелкого заложения. 24
4.1 Первое расчетное сечение – колонна на пересечении осей “Б” – “2”. 24
4.1.1 Расчетная схема фундамента. 24
4.1.2 Определение размеров фундамента. 24
4.1.3 Проверка напряжений на кровле подстилающего грунта. 29
4.1.4 Расчет осадки основания методом послойного суммирования. 33
4.2 Второе расчетное сечение – стена по оси “1”. 37
4.2.1 Расчетная схема фундамента. 37
4.2.2 Определение размеров фундамента. 38
4.2.3 Проверка напряжений на кровле подстилающего грунта. 40
5 расчет свайного фундамента. 42
список использованных источников. 43
введение
Основания и фундаменты служат для восприятия нагрузок от здания или сооружения. Проектирование фундаментов является важным этапом в проектировании строительного объекта в целом и включает обоснованный расчетом выбор типа основания и конструкции фундамента с учетом инженерно-геологических и гидрологических условий площадки строительства, а также конструктивных особенностей проектируемого здания или сооружения, необходимый для обеспечения эксплуатационной надежности, долговечности, прочности и устойчивости проектируемого объекта.
Стоимость фундаментов составляет в среднем 12% от стоимости сооружения, трудозатраты могут достигать 15% и более от общих затрат труда, а продолжительность строительно-монтажных работ по возведению фундаментов доходит до 20% строительства объекта. В сложных инженерно-геологических условиях эти показатели значительно увеличиваются. Следовательно, совершенствование проектных и технических решений в области фундаментостроения приводит к экономии материальных и трудовых ресурсов и сокращению сроков строительства.
общая характеристика здания
Проектируется двухэтажное жилое кирпичное здание с подвалом. Размеры здания в плане (в осях) 15,6´24 м, высота 10,8 м, высота этажа – 3 м, высота подвала 2,0 м.
Несущими конструкциями являются поперечные и продольные наружные стены, внутренние стены лестничной клетки и кирпичные столбы сечением 510´510 мм, расположенные с шагом 4,8 м. По столбам устроены монолитные балки, на которые опираются плиты перекрытия.
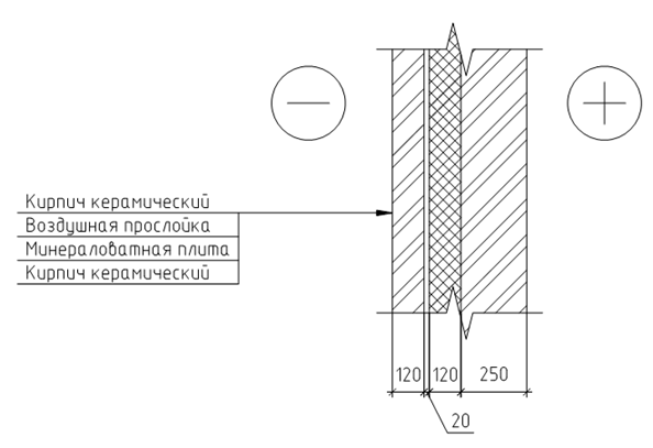
Наружные стены включают три конструктивных элемента: внутреннюю несущую часть – кирпичную кладку толщиной 250 мм, теплоизоляцию – слой минеральной ваты толщиной 120 мм, облицовочный слой – кирпичную кладку толщиной 120 мм. С учетом воздушной прослойки толщиной 20 мм между теплоизоляцией и облицовкой толщина наружных стен составляет 510 мм. Толщина внутренних стен 380 мм. Конструкция наружной стены представлена на рисунке 1.1.
Рисунок 1.1 – Конструкция наружной стены
В качестве несущих конструкций перекрытий использованы многопустотные железобетонные плиты толщиной 220 мм, а также монолитные участки. Глубина заделки плит в наружные стены по осям А и Ж составляет 200 мм, глубина заделки железобетонных балок – 200 мм, величина опирания плит на балки – 255 мм. План раскладки плит перекрытия представлен на рисунке 1.2.
Рисунок 1.2 – План раскладки плит перекрытия
САФУ им. Ломоносова
vitalievnatalia
















