🌞Основания и фундаменты.ти_ФРК
Описание
Тема 1. Общие положения попроектированию оснований и фундаментов
Практическое занятие по теме 1
Тема 2. Виды фундаментов
Практическое занятие по теме 2
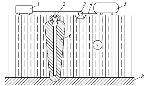
Тема 3. Проектирование котлованов
Практическое занятие по теме 3
Тема 4. Расчет оснований и фундаментов
Практическое занятие по теме 4
Тема 5. Проектирование фундаментов
Тема 6. Строительство на структурно-неустойчивых грунтах
Тема 7. Фундаменты при динамических воздействиях
Тема 8. Реконструкция фундаментов и усиление оснований. Строительство в стесненных условия
Какой вид техники чаще применяют при реконструкции в плотной застройке?
Крупногабаритные экскаваторы
Малогабаритная и маневренная техника (мини-экскаваторы)
Стационарные башенные краны
Автокраны большой грузоподъемности
Какой тип фундамента глубокого заложения представляет собой сборную или монолитную железобетонную конструкцию, имеющую прямоугольное или кольцевое очертание в плане?
Буронабивная свая
Опускной колодец
Кессон
Бареттный
На изображении представлена формула для расчета осадки основания фундамента s, см, с использованием расчетной схемы в виде линейно деформируемого полупространства, определяемая методом …
эквивалентного слоя
конечных элементов
угловых точек
послойного суммирования
Что такое «отдых» свай?
Промежуток времени, который необходимо выдерживать перед устройством ростверка
Временной промежуток при погружении сваи методом забивки для восстановления разрушенной структуры грунта около ее тела
Промежуток времени в течении 10-15 минут, который необходимо выдерживать перед погружением сваи до проектной отметки
Промежуток времени, при котором необходимо воздержаться от забивки свай, чтобы не было выпора ранее погруженных свай
Толща грунтов со всеми особенностями их напластования, воспринимающая нагрузку от веса зданий и сооружений, называется ...
грунтовой подушкой
фундаментом
основанием
дренажным слоем
В каком слое грунта, расположенном над толщей вечномерзлого грунта, происходят ежегодные циклы оттаивания и промерзания?
В инертном
В деятельном
В стабильном
В мерзлотном
К какой группе предельных состояний относится потеря устойчивости сооружения вследствие разрушения основания?
Первая группа предельных состояний
Вторая группа предельных состояний
Третья группа предельных состояний
Нулевая группа предельных состояний
Какие колебания считаются наиболее опасными для сооружений?
Низкочастотные (близкие к собственным частотам конструкции)
Высокочастотные (свыше 100 Гц)
Постоянные статические нагрузки
Термические деформации
Какой из перечисленных факторов НЕ учитывается при проектировании фундаментов под машины?
Частота вращения оборудования
Потребляемая мощность оборудования
Вес станка или агрегата
Характеристики грунта основания
На изображении под цифрой 2 обозначен(а) …
кессон
шлюзовый аппарат
надкессонная кладка
эрлифт
В разработанных шурфах производят …
описание всех слоев грунтов основания до подошвы фундамента
отбор образцов грунта ненарушенного сложения для лабораторных исследований из-под подошвы фундаментов или из стен шурфа и его дна
установку временных опор для фундамента
обследование фундаментных конструкций
Как в конструкциях, закрепляющих откосы, называются сплошные щиты или щиты с прозорами, образованные из горизонтальных элементов (чаще всего досок), закладываемых за вертикальные стойки?
Отмостка
Опалубка
Шпунт
Забирка
Какие теории применяются при расчете гибких фундаментов?
Теория местных упругих деформаций, основанная на гипотезе Винклера и теория общих упругих деформаций, основанная на гипотезе упругого полупространства
Теория фильтрационной консолидации, теория вторичной консолидации и теория ползучести
Теория одномерного уплотнения грунта, теория линейно-деформируемых тел, теория упругого слоя ограниченной толщины и теория предельного равновесия
Теория упругопластической среды и теория нелинейно-деформируемой среды
Какой параметр НЕ учитывается при выборе схемы закрепления откосов?
Грунтовые условия
Гидрогеологические условия
Температура воздуха
Нагрузки на откос
Яма для осмотра фундамента и (или) грунтового основания, а также для отбора грунтовых проб при проведении геологических изысканий называется …
траншеей
котлованом
колодцем
шурфом
По расположению свай в плане фундаменты могут быть на …
одиночных сваях
парных сваях
свайных кустах
свайных плитах
Какой тип сооружения свободно следует за деформациями основания?
Абсолютно жесткое
Абсолютно гибкое
Сооружение конечной жесткости
Временная конструкция
Как классифицируются нагрузки по продолжительности действия?
Статические и динамические
Вертикальные и горизонтальные
Постоянные, временные, особые
Равномерные и неравномерные
Какой вид деформаций относится ко второй группе предельных состояний?
Разрушение грунта основания
Образование трещин в фундаменте, приводящих к снижению его прочности
Чрезмерные осадки здания, нарушающие его нормальную эксплуатацию
Потеря устойчивости откоса
На изображении представлена схема уплотнения слабого грунта статической нагрузкой, на которой цифрой 2 обозначен(а) …
пластовый дренаж
нагрузка в виде насыпи
вертикальный дренаж
бумажный кожух
От каких факторов зависит распределение контактных напряжений?
От жесткости сооружения
От формы и размеров сооружения
От жесткости грунтов основания
От наличия подземных вод
В чем основное различие между висячей сваей и сваей-стойкой?
В конструкции наконечника (острия)
В способе погружения в грунт
В характере передачи нагрузки на грунт
В глубине погружения
Как называется слой грунта, на который непосредственно опирается подошва фундамента?
Подстилающий слой
Грунтовая подушка
Фундаментная постель
Несущий слой
Какое давление возникает при отсутствии перемещения подпорной стенки?
Давление покоя (естественное давление грунта)
Активное давление
Пассивное давление
Динамическое давление
На изображении представлена схема установки для термического закрепления грунта, в которой цифрой 6 обозначен(а) …
компрессор
закрепленный грунт
насос для подачи топлива
непросадочный грунт
К возникновению какого вида напряжений, которые возникают в грунтах по подошве фундамента, приводит взаимодействие фундамента с основанием?
Контактных
Горизонтальных
Вертикальных
Касательных
Какое явление может возникнуть при высокочастотных колебаниях в водонасыщенных грунтах?
Упрочнение грунта
Разжижение грунта
Увеличение несущей способности
Полное исчезновение вибраций
Какой тип свай устраивают при реконструкции зданий, выполняя наклонное или вертикальное бурение через тело усиливаемого фундамента с заполнением скважин раствором без использования обсадных труб?
Вдавливаемые сваи
Буронабивные сваи
Буроинъекционные сваи
Винтовые сваи
На изображении цифрой 2 обозначен(а) …
цементный раствор между плитой и грунтов
патрубок для инъекции расширяющегося цементного раствора
железобетонная плита
фундамент
К каким фундаментам относятся ленточные фундаменты большой длины, балки на грунте, а также большинство плитных фундаментов?
К гибким
К плоским
К клеточным
К жестким
Какими методами может быть определена несущая способность свай в полевых условиях?
Статическими и динамическими испытаниями свай
Статическим зондированием грунтов
Испытанием с эталонной сваей
Визуальным осмотром поверхности сваи
Грунты, подверженные структурным изменениям под воздействием замачивания, внешней нагрузки или нагрузки от собственного веса, называются …
вечномерзлыми
просадочными
засоленными
набухающими
Какой метод устройства фундаментов глубокого заложения наиболее распространен в городском строительстве?
Открытый котлован
«Стена в грунте»
Вибропогружение свай
Устройство дренажной системы
Конструкция, устраиваемая на головах свай, представляющая собой плиты или балки, через которую на сваи происходит передача усилий от надземных частей зданий и сооружений, называется …
оголовком
цокольным перекрытием
армированным поясом
ростверком
На изображении представлена формула для расчета краевых давлений при относительном эксцентриситете …
e/l ≤ 1/6
e/l > 1/6
e/l = 1/6
e/l ~ 1/6
Пылевато-глинистые грунты, которые при замачивании водой увеличиваются в объеме, называют …
засоленными
насыпными
заторфованными
набухающими
Какая главная особенность отличает консольную схему закрепления откосов от остальных?
Забирка выполняется исключительно из металлических конструкций
Стойки или сваи, за которые закладывается забирка, прижимаются распорками к стенкам траншей
Стойки или сваи, за которые закладывается забирка, заглубляются на определенное расстояние
Стойки в уровне верха оттягивают анкерными тягами на расстояние, превышающее угол естественного откоса, и прикрепляют тяги из стального стержня или троса к закрепленному в грунте клин-анкеру
На изображении цифрой 1 обозначен(о) …
дно котлована
откос
фундамент
шпунт
При каких условиях допускается ведение земляных работ с устройством бортов котлованов в виде свободных откосов без креплений, не проводя специальных расчетов?
Глубина до 5 м; в грунтах с относительной влажностью <0,5; на свободных площадках, удаленных от соседних зданий и сооружений
Глубина до 10 м; в любых грунтах; вблизи существующих зданий при условии предварительного укрепления грунта
Глубина до 3 м; только в насыпных грунтах; при обязательном уплотнении откосов виброплитой
Глубина до 7 м; в глинистых грунтах с относительной влажностью <0,7; независимо от близости зданий
Что такое эффективное напряжение в грунте?
Полное напряжение, действующее на скелет грунта
Поровое давление, действующее на частицы грунта
Полное напряжение за вычетом порового давления
Часть вертикального напряжения, передаваемая на боковые стенки
Какая из перечисленных теорий наиболее часто используется для расчета активного давления грунта на подпорные стенки?
Теория упругости
Теория пластичности
Теория Кулона
Теория относительности
Какой вид деформации, связанный с искривлением сооружения представлен на изображении?
Выгиб
Крен
Прогиб
Кручение
Согласно какому нормативному документу производят расчет крутизны естественных откосов котлованов глубиной более 5 м?
СП 45.13330.2017. Свод правил. Земляные сооружения, основания и фундаменты
СП 22.13330.2016. Свод правил. Основания зданий и сооружений
СП 70.13330.2012. Свод правил. Несущие и ограждающие конструкции
СП 20.13330.2016. Свод правил. Нагрузки и воздействия
Какой тип фундамента мелкого заложения в сборном виде состоит из блоков-подушек и блоков-стенок?
Плитный
Ленточный
Свайный
Столбчатый
Какие грунты относятся к структурно-неустойчивым?
Пески рыхлые, лессовые просадочные, мерзлые, вечномерзлые, набухающие, засоленные и заторфованные грунты; при определенных воздействиях сравнительно резко нарушается их природная структура
Пески пылеватые, торф, лессовые просадочные, водонасыщенные глинистые грунты; под действием внешней нагрузки сильно сжимаются
Пески мелкозернистые, лессовые и вечномерзлые грунты, супеси пластичные, суглинки и глины текучие; под действием динамической нагрузки резко снижают свою прочность
Лессовые просадочные, мерзлые и вечномерзлые грунты; при воздействии температуры резко нарушается их природная структура
Какой метод используется для снижения динамических воздействий на здания?
Применение демпферов и виброизоляторов
Увеличение этажности
Уменьшение толщины стен
Использование более легких материалов
Что такое начальное просадочное давление?
Давление от собственного веса грунта, при котором осадка 5 см
Давление, при котором начинает происходить разрушение структурных связей
Минимальное давление, при котором относительная просадочность равна 0,01
Давление, при котором начинают проявляться просадочные свойства при естественных условиях
Какие осадки сооружения являются весьма неблагоприятными для их конструкций?
Равномерные
Неравномерные
Симметричные
Упругие
На изображении цифрой 2 обозначен(а) …
обрез фундамента
подошва фундамента
несущий слой
подстилающий слой
Породы, которые под воздействием внешних факторов (нагрузки, увлажнения, вибрации) склонны к резкому изменению своей структуры и физико-механических свойств, называются … грунтами.
структурно-неустойчивыми
инертными
скальными
дренирующими
Какие сваи применяются при больших сосредоточенных нагрузках, на площадках со сложными геологическими и стесненными условиями строительства, где невозможно производить забивку или вибропогружение свай?
Буронабивные
Забивные
Винтовые
Буроинъекционные
Назовите способ укрепления фундамента, показанный на изображении.
Инъекционное усиление
Уширение фундамента
Замена железобетонным или бетонным элементом
Устройство железобетонной обоймы
Что такое "амплитуда колебаний" при проектировании фундаментов под вибрирующие машины?
Максимальное отклонение точки фундамента от положения равновесия во время вибрации
Общая площадь, занимаемая фундаментом
Высота фундамента над уровнем пола
Частота вибрации оборудования
Какой принцип использования вечномерзлых грунтов предполагает сохранение их в мерзлом состоянии на протяжении всего периода эксплуатации сооружения?
II принцип
III принцип
I принцип
При содержании органических веществ 50% и более грунт называется …
торфом
перегноем
лессом
илом
Какой основной критерий отличает фундаменты под машины от обычных строительных фундаментов?
Наличие декоративной отделки поверхностей
Обязательный учет динамических нагрузок и вибрационных воздействий
Применение исключительно деревянных конструкционных материалов
Отсутствие контакта с грунтовым основанием
Несущей способностью сваи называется …
максимальная глубина погружения сваи
диаметр сваи
максимальная нагрузка, которую свая может выдержать без разрушения или недопустимой деформации
объем грунта, занимаемого сваей
Какой основной фактор усложняет производство работ при реконструкции в стесненных условиях?
Отсутствие проектной документации на существующее здание
Ограниченность пространства для размещения техники и материалов
Необходимость согласования всех действий с соседними зданиями
Необходимость ручной выемки грунта на больших глубинах
Какой основной фактор усложняет производство работ при реконструкции в стесненных условиях?
Отсутствие проектной документации на существующее здание
Ограниченность пространства для размещения техники и материалов
Необходимость согласования всех действий с соседними зданиями
Необходимость ручной выемки грунта на больших глубинах
Каким образом может обеспечиваться устойчивость котлована?
Путем выравнивания дна котлована
Путем придания откосам котлована соответствующих углов
Путем добавления специальных химических веществ в грунт
Путем применения специальных ограждений и раскреплений для его стенок
Что такое "крен" фундамента?
Наклон сооружения из-за неравномерных осадок
Вертикальное перемещение фундамента
Горизонтальный сдвиг основания
Деформация стен здания
Какой тип свай по способу заглубления или устройства в грунте относятся к изготавливаемым в проектном положении?
Сваи, погружаемые вибрированием
Забивные сваи
Набивные сваи
Вдавливаемые сваи
Какой метод НЕ применяется для усиления оснований?
Силикатизация грунтов
Термическое укрепление
Увлажнение грунтов водой
Уплотнение грунтов трамбованием
Что понимается под реконструкцией фундамента?
Замена устаревшего фундамента на новый, более современный
Комплекс мероприятий, направленных на восстановление или улучшение несущей способности существующего фундамента
Устройство дополнительной гидроизоляции фундамента
Косметический ремонт видимых дефектов фундамента
Какой основной принцип работы гибкого фундамента?
Равномерное распределение нагрузки на основание
Передача нагрузки через жесткую плиту
Способность изгибаться вместе с деформируемым основанием
Полное отсутствие осадкиПоказать/скрыть дополнительное описание
Основания и фундаменты.ти_ФРК Тема 1. Общие положения попроектированию оснований и фундаментов Практическое занятие по теме 1 Тема 2. Виды фундаментов Практическое занятие по теме 2 Тема 3. Проектирование котлованов Практическое занятие по теме 3 Тема 4. Расчет оснований и фундаментов Практическое занятие по теме 4 Тема 5. Проектирование фундаментов Тема 6. Строительство на структурно-неустойчивых грунтах Тема 7. Фундаменты при динамических воздействиях Тема 8. Реконструкция фундаментов и усиление оснований. Строительство в стесненных условия Какой вид техники чаще применяют при реконструкции в плотной застройке? Крупногабаритные экскаваторы Малогабаритная и маневренная техника (мини-экскаваторы) Стационарные башенные краны Автокраны большой грузоподъемности Какой тип фундамента глубокого заложения представляет собой сборную или монолитную железобетонную конструкцию, имеющую прямоугольное или кольцевое очертание в плане? Буронабивная свая Опускной колодец Кессон Бареттный На изображении представлена формула для расчета осадки основания фундамента s, см, с использованием расчетной схемы в виде линейно деформируемого полупространства, определяемая методом … эквивалентного слоя конечных элементов угловых точек послойного суммирования Что такое «отдых» свай? Промежуток времени, который необходимо выдерживать перед устройством ростверка Временной промежуток при погружении сваи методом забивки для восстановления разрушенной структуры грунта около ее тела Промежуток времени в течении 10-15 минут, который необходимо выдерживать перед погружением сваи до проектной отметки Промежуток времени, при котором необходимо воздержаться от забивки свай, чтобы не было выпора ранее погруженных свай Толща грунтов со всеми особенностями их напластования, воспринимающая нагрузку от веса зданий и сооружений, называется ...
грунтовой подушкой фундаментом основанием дренажным слоем В каком слое грунта, расположенном над толщей вечномерзлого грунта, происходят ежегодные циклы оттаивания и промерзания? В инертном В деятельном В стабильном В мерзлотном К какой группе предельных состояний относится потеря устойчивости сооружения вследствие разрушения основания? Первая группа предельных состояний Вторая группа предельных состояний Третья группа предельных состояний Нулевая группа предельных состояний Какие колебания считаются наиболее опасными для сооружений? Низкочастотные (близкие к собственным частотам конструкции) Высокочастотные (свыше 100 Гц) Постоянные статические нагрузки Термические деформации Какой из перечисленных факторов НЕ учитывается при проектировании фундаментов под машины? Частота вращения оборудования Потребляемая мощность оборудования Вес станка или агрегата Характеристики грунта основания На изображении под цифрой 2 обозначен(а) … кессон шлюзовый аппарат надкессонная кладка эрлифт В разработанных шурфах производят … описание всех слоев грунтов основания до подошвы фундамента отбор образцов грунта ненарушенного сложения для лабораторных исследований из-под подошвы фундаментов или из стен шурфа и его дна установку временных опор для фундамента обследование фундаментных конструкций Как в конструкциях, закрепляющих откосы, называются сплошные щиты или щиты с прозорами, образованные из горизонтальных элементов (чаще всего досок), закладываемых за вертикальные стойки? Отмостка Опалубка Шпунт Забирка Какие теории применяются при расчете гибких фундаментов? Теория местных упругих деформаций, основанная на гипотезе Винклера и теория общих упругих деформаций, основанная на гипотезе упругого полупространства Теория фильтрационной консолидации, теория вторичной консолидации и теория ползучести Теория одномерного уплотнения грунта, теория линейно-деформируемых тел, теория упругого слоя ограниченной толщины и теория предельного равновесия Теория упругопластической среды и теория нелинейно-деформируемой среды Какой параметр НЕ учитывается при выборе схемы закрепления откосов? Грунтовые условия Гидрогеологические условия Температура воздуха Нагрузки на откос Яма для осмотра фундамента и (или) грунтового основания, а также для отбора грунтовых проб при проведении геологических изысканий называется … траншеей котлованом колодцем шурфом По расположению свай в плане фундаменты могут быть на … одиночных сваях парных сваях свайных кустах свайных плитах Какой тип сооружения свободно следует за деформациями основания? Абсолютно жесткое Абсолютно гибкое Сооружение конечной жесткости Временная конструкция Как классифицируются нагрузки по продолжительности действия? Статические и динамические Вертикальные и горизонтальные Постоянные, временные, особые Равномерные и неравномерные Какой вид деформаций относится ко второй группе предельных состояний? Разрушение грунта основания Образование трещин в фундаменте, приводящих к снижению его прочности Чрезмерные осадки здания, нарушающие его нормальную эксплуатацию Потеря устойчивости откоса На изображении представлена схема уплотнения слабого грунта статической нагрузкой, на которой цифрой 2 обозначен(а) … пластовый дренаж нагрузка в виде насыпи вертикальный дренаж бумажный кожух От каких факторов зависит распределение контактных напряжений? От жесткости сооружения От формы и размеров сооружения От жесткости грунтов основания От наличия подземных вод В чем основное различие между висячей сваей и сваей-стойкой? В конструкции наконечника (острия) В способе погружения в грунт В характере передачи нагрузки на грунт В глубине погружения Как называется слой грунта, на который непосредственно опирается подошва фундамента? Подстилающий слой Грунтовая подушка Фундаментная постель Несущий слой Какое давление возникает при отсутствии перемещения подпорной стенки? Давление покоя (естественное давление грунта) Активное давление Пассивное давление Динамическое давление На изображении представлена схема установки для термического закрепления грунта, в которой цифрой 6 обозначен(а) … компрессор закрепленный грунт насос для подачи топлива непросадочный грунт К возникновению какого вида напряжений, которые возникают в грунтах по подошве фундамента, приводит взаимодействие фундамента с основанием? Контактных Горизонтальных Вертикальных Касательных Какое явление может возникнуть при высокочастотных колебаниях в водонасыщенных грунтах? Упрочнение грунта Разжижение грунта Увеличение несущей способности Полное исчезновение вибраций Какой тип свай устраивают при реконструкции зданий, выполняя наклонное или вертикальное бурение через тело усиливаемого фундамента с заполнением скважин раствором без использования обсадных труб? Вдавливаемые сваи Буронабивные сваи Буроинъекционные сваи Винтовые сваи На изображении цифрой 2 обозначен(а) … цементный раствор между плитой и грунтов патрубок для инъекции расширяющегося цементного раствора железобетонная плита фундамент К каким фундаментам относятся ленточные фундаменты большой длины, балки на грунте, а также большинство плитных фундаментов? К гибким К плоским К клеточным К жестким Какими методами может быть определена несущая способность свай в полевых условиях? Статическими и динамическими испытаниями свай Статическим зондированием грунтов Испытанием с эталонной сваей Визуальным осмотром поверхности сваи Грунты, подверженные структурным изменениям под воздействием замачивания, внешней нагрузки или нагрузки от собственного веса, называются … вечномерзлыми просадочными засоленными набухающими Какой метод устройства фундаментов глубокого заложения наиболее распространен в городском строительстве? Открытый котлован «Стена в грунте» Вибропогружение свай Устройство дренажной системы Конструкция, устраиваемая на головах свай, представляющая собой плиты или балки, через которую на сваи происходит передача усилий от надземных частей зданий и сооружений, называется … оголовком цокольным перекрытием армированным поясом ростверком На изображении представлена формула для расчета краевых давлений при относительном эксцентриситете … e/l ≤ 1/6 e/l > 1/6 e/l = 1/6 e/l ~ 1/6 Пылевато-глинистые грунты, которые при замачивании водой увеличиваются в объеме, называют … засоленными насыпными заторфованными набухающими Какая главная особенность отличает консольную схему закрепления откосов от остальных? Забирка выполняется исключительно из металлических конструкций Стойки или сваи, за которые закладывается забирка, прижимаются распорками к стенкам траншей Стойки или сваи, за которые закладывается забирка, заглубляются на определенное расстояние Стойки в уровне верха оттягивают анкерными тягами на расстояние, превышающее угол естественного откоса, и прикрепляют тяги из стального стержня или троса к закрепленному в грунте клин-анкеру На изображении цифрой 1 обозначен(о) … дно котлована откос фундамент шпунт При каких условиях допускается ведение земляных работ с устройством бортов котлованов в виде свободных откосов без креплений, не проводя специальных расчетов? Глубина до 5 м; в грунтах с относительной влажностью <0,5; на свободных площадках, удаленных от соседних зданий и сооружений Глубина до 10 м; в любых грунтах; вблизи существующих зданий при условии предварительного укрепления грунта Глубина до 3 м; только в насыпных грунтах; при обязательном уплотнении откосов виброплитой Глубина до 7 м; в глинистых грунтах с относительной влажностью <0,7; независимо от близости зданий Что такое эффективное напряжение в грунте? Полное напряжение, действующее на скелет грунта Поровое давление, действующее на частицы грунта Полное напряжение за вычетом порового давления Часть вертикального напряжения, передаваемая на боковые стенки Какая из перечисленных теорий наиболее часто используется для расчета активного давления грунта на подпорные стенки? Теория упругости Теория пластичности Теория Кулона Теория относительности Какой вид деформации, связанный с искривлением сооружения представлен на изображении? Выгиб Крен Прогиб Кручение Согласно какому нормативному документу производят расчет крутизны естественных откосов котлованов глубиной более 5 м? СП 45.13330.2....
Список вопросов







Характеристики ответов (шпаргалок) к экзамену

