Для студентов МГТУ им. Н.Э.Баумана по предмету Механика жидкости и газа (МЖГ или Гидравлика)Определить минимальную силу тяжести груза G, который при заливке формы чугуном нужно положить на верхний стержень, чтобы предотвратить его всплывание.Определить минимальную силу тяжести груза G, который при заливке формы чугуном нужно положить на верхний стержень, чтобы предотвратить его всплывание.
5,0056
2025-08-012025-08-19СтудИзба
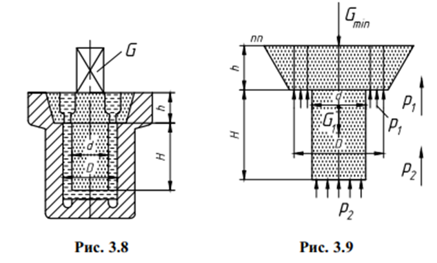
Определить минимальную силу тяжести груза G, который при заливке формы чугуном нужно положить на верхний стержень, чтобы предотвратить его всплывание. Вес стержней с учетом веса чугуна в литнике и выпоре G1 = 50 Н. Плотность жидкого чугуна р = 7000 к
Описание
Определить минимальную силу тяжести груза G, который при заливке формы чугуном нужно положить на верхний стержень, чтобы предотвратить его всплывание. Вес стержней с учетом веса чугуна в литнике и выпоре G1 = 50 Н. Плотность жидкого чугуна р = 7000 кг/м3; размеры: H = 200 мм; D=140 мм; h = 80 мм; d=120 мм.

Характеристики решённой задачи
Учебное заведение
Номер задания
Вариант
Программы
Теги
Просмотров
10
Качество
Идеальное компьютерное
Размер
68,12 Kb
Преподаватели
Список файлов
1-19.docx
Комментарии
Нет комментариев
Стань первым, кто что-нибудь напишет!
МГТУ им. Н.Э.Баумана
A45162


















