Задача 4: Задача 4-16 вариант 16
Описание
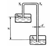
Труба, соединяющая два бака, заполнена жидкостью с вязкостью v = 0,01 Ст и плотностью р = 1000 кг/м3. Определить, при какой высоте Н жидкость будет двигаться из верхнего бака в нижний с расходом Q = 0,05 л/с, а при какой высоте Н будет двигаться в обратном направлении с тем же расходом, если длина трубы l = 2,5 м; ее диаметр d = 8 мм; коэффициент сопротивления каждого колена ξ = 0,5; избыточное давление в нижнем баке P0 = 7 кПа; вакуум в верхнем баке рвак = 3 кПа. Трубу считать гидравлически гладкой.
![]()

Характеристики решённой задачи
Номер задания
Вариант
Программы
Теги
Просмотров
21
Качество
Идеальное компьютерное
Размер
27,93 Kb
Список файлов
4-16.docx
Комментарии
Нет комментариев
Стань первым, кто что-нибудь напишет!
A45162




















