Для студентов по предмету Механика жидкости и газа (МЖГ или Гидравлика)Задача 8-8Задача 8-8
5,0056
2025-05-032025-09-07СтудИзба
Задача 8: Задача 8-8 вариант 8
Описание
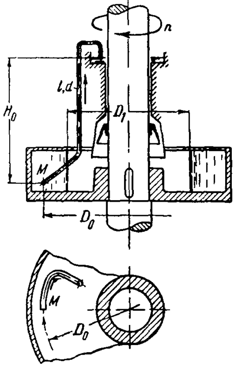
Для смазки и охлаждения подшипника вертикального вала турбины применен самосмаз, в котором подача жидкости осуществляется при помощи трубки Пито, введенной в жидкость, заполняющую ковш самосмаза. Пренебрегая влиянием силы тяжести на распределение давления в ковше, определить, на каком диаметре D0 следует разместить входное отверстие трубки, чтобы в подшипнике был обеспечен расход Q = 0,15 л/сек при числе оборотов вала турбины n = 200 об/мин, если ставится условие, чтобы свободная поверхность жидкости в ковше находилась на диаметре D1 = 1 м. Размеры: d= 12 мм; l = 4 м; H0 = 3 м. Кинематическая вязкость жидкости 0,36 Ст. Учитывать только потери на трение в трубке.
![]()

Характеристики решённой задачи
Номер задания
Вариант
Программы
Теги
Просмотров
28
Качество
Идеальное компьютерное
Размер
26,38 Kb
Список файлов
Задача8.8.docx
Комментарии
Нет комментариев
Стань первым, кто что-нибудь напишет!
A45162






















