Для студентов по предмету Механика жидкости и газа (МЖГ или Гидравлика)Определить силы, действующие на верхние Fв и нижние Fн болты крышки, которая имеет форму прямоугольника высотой a=0,64 м и шириной b=1,5 м. Показания Определить силы, действующие на верхние Fв и нижние Fн болты крышки, которая имеет форму прямоугольника высотой a=0,64 м и шириной b=1,5 м. Показания
5,0059
2023-09-172024-09-20СтудИзба
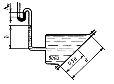
Определить силы, действующие на верхние Fв и нижние Fн болты крышки, которая имеет форму прямоугольника высотой a=0,64 м и шириной b=1,5 м. Показания ртутного вакуумметра hрт=150 мм, высота h=2,2 м.
Описание
Определить силы, действующие на верхние Fв и нижние Fн болты крышки, которая имеет форму прямоугольника высотой a=0,64 м и шириной b=1,5 м. Показания ртутного вакуумметра hрт=150 мм, высота h=2,2 м.
Файлы условия, демо
Характеристики решённой задачи
Номер задания
Вариант
Программы
Теги
Просмотров
65
Качество
Идеальное компьютерное
Размер
63,68 Kb
Список файлов
Задача 1.29.docx
