Для студентов НГТУ по предмету Электропитание устройств и систем телекоммуникаций (ЭУиСТ)ТрансформаторыТрансформаторы
2022-10-052022-10-05СтудИзба
Лекции: Трансформаторы
Описание
Трансформаторы
Конструкция и принцип действия трансформатора
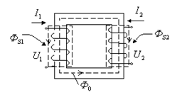
Трансформатор – это статический электромагнитный аппарат, преобразующий электрическую энергию напряжения переменного тока с одними параметрами в электрическую энергию с другими параметрами (частота, напряжение, фазность, форма напряжения и.т.д.).Принцип действия трансформатора основан на законе электромагнитной индукции. Рассмотрим работу трансформатора по логической цепочке на “холостом" ходу. На рисунке изображена конструкция однофазного трансформатора,

Характеристики лекций
Тип
Учебное заведение
Семестр
Просмотров
1
Качество
Идеальное компьютерное
Размер
2,88 Mb
Список файлов

Вам все понравилось? Получите кэшбэк - 40 рублей на Ваш счёт при покупке. Поставьте оценку и напишите положительный комментарий к купленному файлу. После Вы получите деньги на ваш счет.