Для студентов МГТУ им. Н.Э.Баумана по предмету Инженерная графикаСборка - ВентильСборка - Вентиль
5,0052
2021-04-102024-10-06СтудИзба
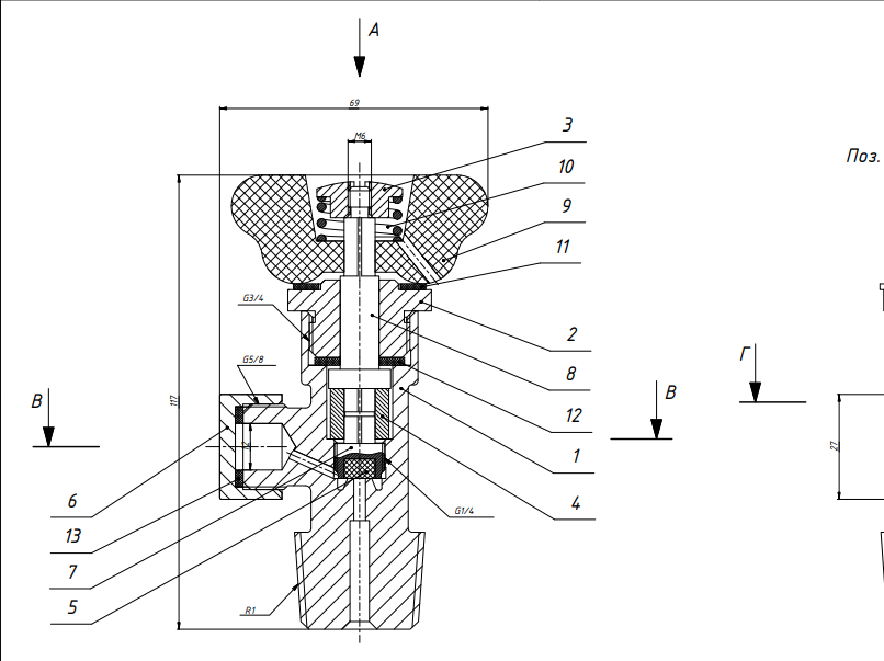
ДЗ А: Сборка - Вентиль вариант 257
-55%
Описание
Характеристики домашнего задания
Предмет
Учебное заведение
Семестр
Номер задания
Вариант
Просмотров
450
Размер
80,18 Kb
Список файлов
Сборка №22 - Вентиль.pdf

Друзья, спасибо за доверие! Если вам понравилась работа – поставьте 5⭐ и напишите отзыв. Это поможет другим студентам, а мне даст силы делать ещё больше качественных материалов для вас 🔥