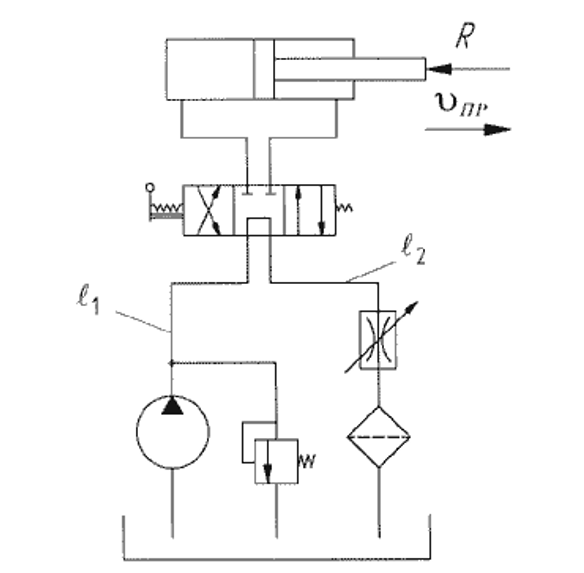
Для студентов МГТУ им. Н.Э.Баумана по предмету Гидропривод и гидропневмоавтоматикаПривести схему гидропривода механизма подачи заготовок к прокатному стануПривести схему гидропривода механизма подачи заготовок к прокатному стану
5,00528
2025-11-142025-11-14СтудИзба
ДЗ: Привести схему гидропривода механизма подачи заготовок к прокатному стану вариант 7
Новинка
Описание
1. Привести схему гидропривода механизма подачи заготовок к прокатному стану.
2. Указать значения исходных данных по своему варианту.
3. Представить выполненные расчеты.

Характеристики домашнего задания
Учебное заведение
Вариант
Просмотров
1
Размер
63,95 Kb
Преподаватели
Список файлов
Гидропривод.docx
Комментарии
Нет комментариев
Стань первым, кто что-нибудь напишет!
МГТУ им. Н.Э.Баумана

















